LEMON Manuals: Even more car manuals for everyone: 1960-2025
Home >> Toyota >> 2013 >> Prius Two >> Repair and Diagnosis (Single Page) >> Accessories & Equipment >> Cruise Control Systems >> Dynamic Radar Cruise Control System (Diagnostic Codes & Circuit Tests) (Except Plug-In) >> Dynamic Radar Cruise Control System >> Circuit Tests >> Millimeter Wave Radar Sensor Power Source Circuit >> Wiring Diagram
April 5, 2026: LEMON Manuals is launched! Read the announcement.

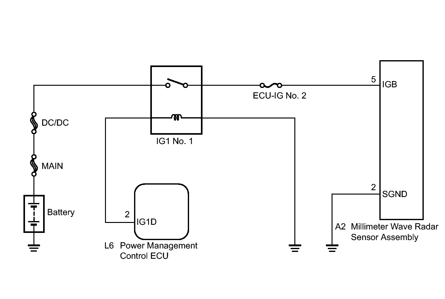
Millimeter Wave Radar Sensor Power Source Circuit: Wiring Diagram

Fig 1: Identifying Millimeter Wave Radar Sensor Power Source Circuit Wiring Diagram
GTY214539Courtesy of © TOYOTA, LICENSE AGREEMENT TMS1002