LEMON Manuals: Even more car manuals for everyone: 1960-2025
Home >> Toyota >> 2013 >> Prius Two >> Repair and Diagnosis (Single Page) >> Accessories & Equipment >> Drivers Assistance Systems - ADAS >> Vehicle Proximity Notification System (Diagnostics & Circuit Tests) (Except Plug-In) >> Vehicle Proximity Notification System >> Circuit Tests >> Speed Signal Circuit >> Procedure
April 5, 2026: LEMON Manuals is launched! Read the announcement.

Speed Signal Circuit: Procedure

  1. INSPECT COMBINATION METER ASSEMBLY (OUTPUT WAVEFORM) 
    1. Check the input waveform.
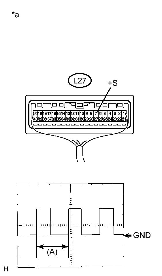
      Fig 1: Identifying L27 Combination Meter Connector Terminal And Output Waveform
      GTY334238Courtesy of © TOYOTA, LICENSE AGREEMENT TMS1002
      1. Remove the combination meter assembly with the connector(s) still connected.
      2. Connect an oscilloscope to terminal L27-7 (+S) and body ground.
      3. Turn the power switch on (IG).
      4. Turn the wheel slowly.
      5. Check the signal waveform according to the condition(s) in the table below.
        Item Condition
        Tool setting 5 V/DIV., 20 ms./DIV.
        Vehicle condition Wheel being rotated
        TEXT IN ILLUSTRATION

        *a Component with harness connected
        (Combination Meter Assembly)

        OK

        The waveform is displayed as shown in the illustration.

        HINT: 

        When the system is functioning normally, one wheel revolution generates 4 pulses. As the vehicle speed increases, the width indicated by (A) in the illustration narrows.

    NG → See step   4 

    OK: Go to next step 

  2. CHECK HARNESS AND CONNECTOR (VEHICLE APPROACHING SPEAKER CONTROLLER - COMBINATION METER ASSEMBLY) 
    1. Disconnect the L140 vehicle approaching speaker controller connector.
    2. Disconnect the L27 combination meter assembly connector.
    3. Measure the resistance according to the value(s) in the table below.

      Standard Resistance

      Tester Connection Condition Specified Condition
      L140-6 (SPD) - L27-7 (+S) Always Below 1 Ω

    NG → REPAIR OR REPLACE HARNESS OR CONNECTOR 

    OK → See step   3 

  3. PROCEED TO NEXT SUSPECTED AREA SHOWN IN PROBLEM SYMPTOMS TABLE. Refer to  PROBLEM SYMPTOMS TABLE  
  4. GO TO METER / GAUGE SYSTEM. Refer to  Speed Signal Circuit