LEMON Manuals: Even more car manuals for everyone: 1960-2025
Home >> Toyota >> 2013 >> Prius Two >> Repair and Diagnosis >> External Pages >> Different variant/trim >> Section 137 (Lighting System (Diagnostic Codes & Circuit Tests) (Plug-In)) >> Lighting System >> Circuit Tests >> Daytime Running Light Relay Circuit >> Procedure
April 5, 2026: LEMON Manuals is launched! Read the announcement.

Daytime Running Light Relay Circuit: Procedure

WARNING: This page is about a different variant/trim than selected.
  1. PERFORM ACTIVE TEST USING TECHSTREAM 
    1. Connect the Techstream to the DLC3.
    2. Turn the power switch on (IG).
    3. Turn the Techstream on.
    4. Enter the following menus: Body Electrical / Main Body / Active Test.
    5. Check that the daytime running lights operate.
      MAIN BODY

      Tester Display Test Part Control Range Diagnostic Note
      Daytime Running Light Daytime running lights ON/OFF -

      OK

      Daytime running lights illuminate.

    NG → See step   2 

    OK → See step   12 

  2. CHECK MODEL 
    1. Chose the model to be inspected.

      Result

      Result Proceed to
      for Canada A
      except Canada B

    B → See step   7 

    A: Go to next step 

  3. CHECK OPERATION (HIGH BEAM HEADLIGHTS) 
    1. Check the operation of the high beam headlights.

      OK

      High beam headlights operate normally.

    NG → See step   11 

    OK: Go to next step 

  4. INSPECT DRL MODULE RELAY 
    1. Remove the DRL MODULE relay from the engine room relay block and junction block assembly.
      Fig 1: Inspecting DRL Relay Connector Terminals
      GTY323941Courtesy of © TOYOTA, LICENSE AGREEMENT TMS1002
    2. Connect a positive (+) lead from the auxiliary battery to terminal 6 (+B).
    3. Connect a negative (-) lead from the auxiliary battery to terminals 2 (DRLS) and 3 (E).
    4. Check for pulses according to the value(s) in the table below.

      Standard

      Tester Connection Condition Specified Condition
      1 (HLOR) - Auxiliary battery negative terminal Always Pulse generation
      5 (HLOL) - Auxiliary battery negative terminal Always Pulse generation
      TEXT IN ILLUSTRATION

      *a Component without harness connected
      (DRL MODULE Relay)

    NG → REPLACE DRL MODULE RELAY 

    OK: Go to next step 

  5. CHECK HARNESS AND CONNECTOR (DRL MODULE RELAY - INSTRUMENT PANEL JUNCTION BLOCK AND BODY GROUND) 
    1. Disconnect the 2C instrument panel junction block assembly connector.
    2. Measure the resistance according to the value(s) in the table below.

      Standard Resistance

      Tester Connection Condition Specified Condition
      Relay terminal 2 (DRLS) - 2C-35 Always Below 1 Ω
      2C-35 - Body ground Always 10 kΩ or higher
      Relay terminal 3 (E) - Body ground Always Below 1 Ω

    NG → REPAIR OR REPLACE HARNESS OR CONNECTOR 

    OK: Go to next step 

  6. INSPECT INSTRUMENT PANEL JUNCTION BLOCK ASSEMBLY 
    1. Remove the instrument panel junction block assembly. Refer to REMOVAL .
    2. Remove the main body ECU (multiplex network body ECU) from the instrument panel junction block assembly.
      Fig 2: Inspecting Instrument Panel Junction Block Assembly Connector Terminals
      GTY340996Courtesy of © TOYOTA, LICENSE AGREEMENT TMS1002
    3. Measure the resistance according to the value(s) in the table below.

      Standard Resistance

      Tester Connection Condition Specified Condition
      2C-35 - MB-25 (DRL) Always Below 1 Ω
      2C-35 - Body ground Always 10 kΩ or higher
      TEXT IN ILLUSTRATION

      *a Component without harness connected
      (Instrument Panel Junction Block Assembly)

    NG → See step   14 

    OK → See step   13 

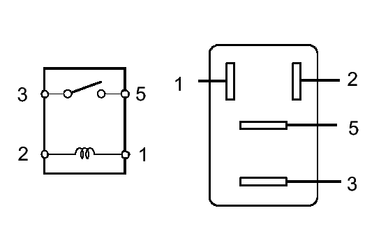
  7. INSPECT DRL RELAY 
    1. Remove the DRL relay from the engine room relay block and junction block assembly.
      Fig 3: Identifying Fog Light Relay Connector Terminals
      GTY195431Courtesy of © TOYOTA, LICENSE AGREEMENT TMS1002
    2. Measure the resistance according to the value(s) in the table below.

      Standard Resistance

      Tester Connection Condition Specified Condition
      3 - 5 Voltage is not applied between terminals 1 and 2 10 kΩ or higher
      3 - 5 Voltage is applied between terminals 1 and 2 Below 1 Ω

    NG → REPLACE DRL RELAY 

    OK: Go to next step 

  8. CHECK HARNESS AND CONNECTOR (AUXILIARY BATTERY - DRL RELAY) 
    1. Measure the voltage according to the value(s) in the table below.

      Standard Voltage

      Tester Connection Condition Specified Condition
      Relay terminal 1 - Body ground Always 11 to 14 V
      Relay terminal 3 - Body ground Always 11 to 14 V

    NG → REPAIR OR REPLACE HARNESS OR CONNECTOR 

    OK: Go to next step 

  9. CHECK HARNESS AND CONNECTOR (DRL RELAY - INSTRUMENT PANEL JUNCTION BLOCK) 
    1. Disconnect the 2C instrument panel junction block assembly connector.
    2. Measure the resistance according to the value(s) in the table below.

      Standard Resistance

      Tester Connection Condition Specified Condition
      Relay terminal 2 - 2C-35 Always Below 1 Ω
      2C-35 - Body ground Always 10 kΩ or higher

    NG → REPAIR OR REPLACE HARNESS OR CONNECTOR 

    OK: Go to next step 

  10. INSPECT INSTRUMENT PANEL JUNCTION BLOCK ASSEMBLY 
    1. Remove the instrument panel junction block assembly. Refer to REMOVAL .
    2. Remove the main body ECU (multiplex network body ECU) from the instrument panel junction block assembly.
      Fig 4: Inspecting Instrument Panel Junction Block Assembly Connector Terminals
      GTY340996Courtesy of © TOYOTA, LICENSE AGREEMENT TMS1002
    3. Measure the resistance according to the value(s) in the table below.

      Standard Resistance

      Tester Connection Condition Specified Condition
      2C-35 - MB-25 (DRL) Always Below 1 Ω
      2C-35 - Body ground Always 10 kΩ or higher
      TEXT IN ILLUSTRATION

      *a Component without harness connected
      (Instrument Panel Junction Block Assembly)

    NG → See step   14 

    OK → See step   12 

  11. GO TO PROBLEM SYMPTOMS TABLE. Refer to  PROBLEM SYMPTOMS TABLE 
  12. PROCEED TO NEXT SUSPECTED AREA SHOWN IN PROBLEM SYMPTOMS TABLE. Refer to  PROBLEM SYMPTOMS TABLE 
  13. REPLACE MAIN BODY ECU (MULTIPLEX NETWORK BODY ECU). Refer to  REMOVAL 
  14. REPLACE INSTRUMENT PANEL JUNCTION BLOCK ASSEMBLY. Refer to  REMOVAL