LEMON Manuals: Even more car manuals for everyone: 1960-2025
Home >> Toyota >> 2013 >> Prius Two >> Repair and Diagnosis >> External Pages >> Different variant/trim >> Section 137 (Lighting System (Diagnostic Codes & Circuit Tests) (Plug-In)) >> Lighting System >> Circuit Tests >> High Beam Headlight Circuit >> Procedure
April 5, 2026: LEMON Manuals is launched! Read the announcement.

High Beam Headlight Circuit: Procedure

WARNING: This page is about a different variant/trim than selected.
  1. CHECK OPERATION (LOW BEAM HEADLIGHTS) 
    1. Check the operation of the low beam headlights.

      OK

      Low beam headlights operate normally.

    NG → See step   13 

    OK: Go to next step 

  2. PERFORM ACTIVE TEST USING TECHSTREAM 
    1. Connect the Techstream to the DLC3.
    2. Turn the power switch on (IG).
    3. Turn the Techstream on.
    4. Enter the following menus: Body Electrical / Main Body / Active Test.
    5. Check that the high beam headlights illuminate.
      MAIN BODY

      Tester Display Test Part Control Range Diagnostic Note
      Head Light Hi High beam headlights ON/OFF -

      OK

      High beam headlights illuminate.

    NG → See step   3 

    OK → See step   11 

  3. CHECK MODEL 
    1. Chose the model to be inspected.

      Result

      Result Proceed to
      for Canada A
      except Canada B

    B → See step   7 

    A: Go to next step 

  4. INSPECT DRL MODULE RELAY 
    1. Remove the DRL MODULE relay from the engine room relay block and junction block assembly.
    2. Connect a positive (+) lead from the auxiliary battery to terminal 6 (+B).
      Fig 1: Inspecting DRL Relay Circuit Diagram
      GTY343691Courtesy of © TOYOTA, LICENSE AGREEMENT TMS1002
    3. Connect a negative (-) lead from the auxiliary battery to terminals 4 (H) and 3 (E).
    4. Measure the voltage according to the value(s) in the table below.

      Standard Voltage

      Tester Connection Condition Specified Condition
      1 (HLOR) - Auxiliary battery negative terminal Always 11 to 14 V
      5 (HLOL) - Auxiliary battery negative terminal Always 11 to 14 V
      TEXT IN ILLUSTRATION

      *a Component without harness connected
      (DRL MODULE Relay)

    NG → REPLACE DRL MODULE RELAY 

    OK: Go to next step 

  5. CHECK HARNESS AND CONNECTOR (DRL MODULE RELAY - INSTRUMENT PANEL JUNCTION BLOCK ASSEMBLY AND BODY GROUND) 
    1. Disconnect the 2C instrument panel junction block assembly connector.
    2. Measure the resistance according to the value(s) in the table below.

      Standard Resistance

      Tester Connection Condition Specified Condition
      Relay terminal 4 (H) - 2C-22 Always Below 1 Ω
      2C-22 - Body ground Always 10 kΩ or higher
      Relay terminal 3 (E) - Body ground Always Below 1 Ω

    NG → REPAIR OR REPLACE HARNESS OR CONNECTOR 

    OK: Go to next step 

  6. INSPECT INSTRUMENT PANEL JUNCTION BLOCK ASSEMBLY 
    1. Remove the instrument panel junction block assembly. Refer to REMOVAL .
    2. Remove the main body ECU (multiplex network body ECU) from the instrument panel junction block assembly.
      Fig 2: Inspecting Instrument Panel Junction Block Assembly Connector Terminals
      GTY340991Courtesy of © TOYOTA, LICENSE AGREEMENT TMS1002
    3. Measure the resistance according to the value(s) in the table below.

      Standard Resistance

      Tester Connection Condition Specified Condition
      2C-22 - MB-22 (DIM) Always Below 1 Ω
      2C-22 - Body ground Always 10 kΩ or higher
      TEXT IN ILLUSTRATION

      *a Component without harness connected
      (Instrument Panel Junction Block Assembly)

    NG → See step   14 

    OK → See step   12 

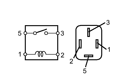
  7. INSPECT DIM RELAY 
    1. Remove the DIM relay from the engine room relay block and junction block assembly.
      Fig 3: Identifying Relay Connector Terminals
      GTY332372Courtesy of © TOYOTA, LICENSE AGREEMENT TMS1002
    2. Measure the resistance according to the value(s) in the table below.

      Standard Resistance

      Tester Connection Condition Specified Condition
      3 - 5 Voltage is not applied between terminals 1 and 2 10 kΩ or higher
      3 - 5 Voltage is applied between terminals 1 and 2 Below 1 Ω

    NG → REPLACE DIM RELAY 

    OK: Go to next step 

  8. CHECK HARNESS AND CONNECTOR (AUXILIARY BATTERY - DIM RELAY) 
    1. Measure the voltage according to the value(s) in the table below.

      Standard Voltage

      Tester Connection Condition Specified Condition
      Relay terminal 2 - Body ground Always 11 to 14 V
      Relay terminal 3 - Body ground Always 11 to 14 V

    NG → REPAIR OR REPLACE HARNESS OR CONNECTOR 

    OK: Go to next step 

  9. CHECK HARNESS AND CONNECTOR (DIM RELAY - INSTRUMENT PANEL JUNCTION BLOCK ASSEMBLY) 
    1. Disconnect the 2C instrument panel junction block assembly connector.
    2. Measure the resistance according to the value(s) in the table below.

      Standard Resistance

      Tester Connection Condition Specified Condition
      Relay terminal 1 - 2C-22 Always Below 1 Ω
      2C-22 - Body ground Always 10 kΩ or higher

    NG → REPAIR OR REPLACE HARNESS OR CONNECTOR 

    OK: Go to next step 

  10. INSPECT INSTRUMENT PANEL JUNCTION BLOCK ASSEMBLY 
    1. Remove the instrument panel junction block assembly. Refer to REMOVAL .
    2. Remove the main body ECU (multiplex network body ECU) from the instrument panel junction block assembly.
      Fig 4: Inspecting Instrument Panel Junction Block Assembly Connector Terminals
      GTY340991Courtesy of © TOYOTA, LICENSE AGREEMENT TMS1002
    3. Measure the resistance according to the value(s) in the table below.

      Standard Resistance

      Tester Connection Condition Specified Condition
      2C-22 - MB-22 (DIM) Always Below 1 Ω
      2C-22 - Body ground Always 10 kΩ or higher
      TEXT IN ILLUSTRATION

      *a Component without harness connected
      (Instrument Panel Junction Block Assembly)

    NG → See step   14 

    OK → See step   12 

  11. PROCEED TO NEXT SUSPECTED AREA SHOWN IN PROBLEM SYMPTOMS TABLE. Refer to  PROBLEM SYMPTOMS TABLE 
  12. REPLACE MAIN BODY ECU (MULTIPLEX NETWORK BODY ECU). Refer to  REMOVAL 
  13. GO TO PROBLEM SYMPTOMS TABLE. Refer to  PROBLEM SYMPTOMS TABLE 
  14. REPLACE INSTRUMENT PANEL JUNCTION BLOCK ASSEMBLY. Refer to  REMOVAL