LEMON Manuals: Even more car manuals for everyone: 1960-2025
Home >> Toyota >> 2013 >> Prius Two >> Repair and Diagnosis >> External Pages >> Different variant/trim >> Section 57 (Wiper System / Washer System (Service Information) (Plug-In)) >> Rear Wiper Motor >> Installation >> Installation
April 5, 2026: LEMON Manuals is launched! Read the announcement.

Rear Wiper Motor: Installation: Installation

WARNING: This page is about a different variant/trim than selected.
  1. INSTALL REAR WIPER MOTOR ASSEMBLY 
    1. Install the rear wiper motor assembly with the 3 bolts.
      Fig 1: Identifying Rear Wiper Motor Assembly & Bolts
      GTY235903Courtesy of © TOYOTA, LICENSE AGREEMENT TMS1002

      Torque: 5.5 N*m (56 kgf*cm, 49 in.*lbf) 

    2. Connect the connector.
  2. INSTALL BACK DOOR TRIM BOARD  . Refer to REASSEMBLY - Step 22
  3. INSTALL BACK DOOR TRIM BOARD ASSEMBLY  . Refer to REASSEMBLY - Step 23
  4. INSTALL BACK DOOR SIDE GARNISH LH  . Refer to REASSEMBLY - Step 24
  5. INSTALL BACK DOOR SIDE GARNISH RH  . Refer to REASSEMBLY - Step 25
  6. INSTALL UPPER BACK DOOR TRIM PANEL ASSEMBLY  . Refer to REASSEMBLY - Step 26
  7. INSTALL REAR WIPER MOTOR GROMMET 
    1. Apply MP grease to the entire surface of the rear wiper motor grommet lip.
      Fig 2: Locating Grease Application Area
      GTY221922Courtesy of © TOYOTA, LICENSE AGREEMENT TMS1002
      TEXT IN ILLUSTRATION

      *1 MP grease

      HINT: 

      Make sure that the hole does not get clogged with grease and the grooves on the lip are filled with grease.

    2. Install the rear wiper motor grommet.
      Fig 3: Identifying Grommet Alignment Mark
      GTY224953Courtesy of © TOYOTA, LICENSE AGREEMENT TMS1002
      TEXT IN ILLUSTRATION

      *1 Alignment Mark

      HINT: 

      Install the grommet with its alignment mark facing up.

  8. INSTALL REAR WIPER ARM AND BLADE ASSEMBLY 
    1. Operate the wiper and stop the windshield wiper motor at the automatic stop position.
    2. When reusing the rear wiper arm and blade assembly:
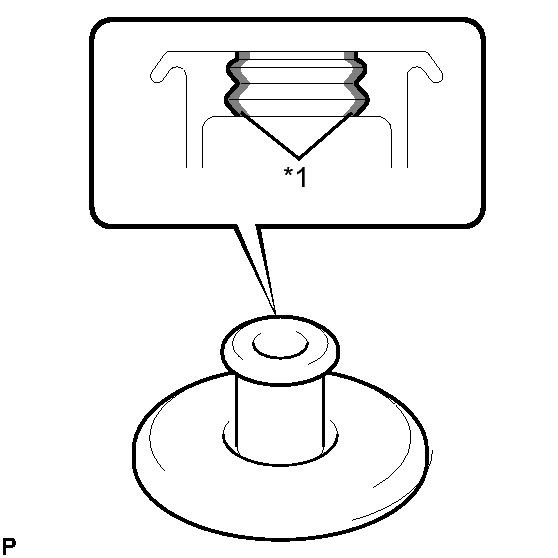
      1. Clean the wiper arm serrations.
        Fig 4: Identifying Wiper Arm Serrations
        GTY236289Courtesy of © TOYOTA, LICENSE AGREEMENT TMS1002
        TEXT IN ILLUSTRATION

        *1 Wiper Arm Serration
    3. When reusing the rear wiper motor assembly:
      1. Clean the wiper pivot serrations with a wire brush.
        Fig 5: Cleaning Wiper Pivot Serrations
        GTY227925Courtesy of © TOYOTA, LICENSE AGREEMENT TMS1002
        TEXT IN ILLUSTRATION

        *1 Wire Brush
        *2 Wiper Pivot Serration
    4. Install the rear wiper arm and blade assembly with the nut to the position shown in the illustration.
      Fig 6: Identifying Rear Wiper Arm & Blade Assembly
      GTY212116Courtesy of © TOYOTA, LICENSE AGREEMENT TMS1002
      TEXT IN ILLUSTRATION

      *1 Ceramic Dot

      Torque: 5.5 N*m (56 kgf*cm, 49 in.*lbf) 

      HINT: 

      Hold the wiper arm by hand while tightening the nut.

    5. Operate the rear wiper while spraying washer fluid onto the back door glass. Make sure that the rear wiper functions properly and the wiper does not come into contact with the vehicle body.
  9. INSTALL REAR WIPER ARM HEAD CAP 
    1. Engage the 2 claws to install the rear wiper arm head cap.
      Fig 7: Identifying Rear Wiper Arm Head Cap
      GTY217816Courtesy of © TOYOTA, LICENSE AGREEMENT TMS1002
    2. Engage the 2 claws to close the rear wiper arm head cap as shown in the illustration.
      Fig 8: Closing Rear Wiper Arm Head Cap
      GTY227780Courtesy of © TOYOTA, LICENSE AGREEMENT TMS1002