LEMON Manuals: Even more car manuals for everyone: 1960-2025
Home >> Toyota >> 2013 >> Prius V >> Repair and Diagnosis (Single Page) >> Electrical >> Starter >> Smart Key System (For Start Function) (Diagnostic Codes & Symptom Tests) >> Smart Key System (For Start Function) >> DTC B2282: Vehicle Speed Signal Malfunction >> Procedure
April 5, 2026: LEMON Manuals is launched! Read the announcement.

DTC B2282: Vehicle Speed Signal Malfunction: Procedure

  1. CHECK CAN COMMUNICATION SYSTEM 
    1. Check if CAN communication DTCs are output.

      HINT: 

      If any DTCs for the CAN communication system are output, inspect those DTCs first.

      OK

      CAN communication DTC is not output.

    NG → See step   10 

    OK: Go to next step 

  2. CHECK SPEEDOMETER OPERATION 
    1. Connect the Techstream to the DLC3.
    2. Turn the power switch on (IG).
    3. Turn the Techstream on.
    4. Enter the following menus: Body Electrical / Combination Meter / Data List.
    5. Check the Data List for proper functioning of the vehicle speed signal.
      COMBINATION METER

      Tester Display Measurement Item/Range Normal Condition Diagnostic Note
      Vehicle Speed Meter Vehicle speed / Min.: 0 km/h (0 mph), Max.: 255 km/h (158 mph) Almost the same as actual vehicle speed -

      OK

      Vehicle speed displayed on the Techstream is almost the same as the actual vehicle speed measured using a speedometer tester (calibrated chassis dynamometer).

    NG → See step   11 

    OK: Go to next step 

  3. READ VALUE USING TECHSTREAM 
    1. Enter the following menus: Body Electrical / Power Source Control / Data List.
    2. Read the Data List according to the display on the Techstream.
      POWER SOURCE CONTROL

      Tester Display Measurement Item/Range Normal Condition Diagnostic Note
      Vehicle speed signal Vehicle moving or stationary/Stop or Run Stop: Vehicle stopped
      Run: Vehicle moving at 5 km/h (3 mph) or more
      -

      OK

      Stop (vehicle is stopped) and Run (vehicle is running) appear on the screen.

    NG → See step   4 

    OK → See step   12 

  4. CHECK HARNESS AND CONNECTOR (AUXILIARY BATTERY - POWER MANAGEMENT CONTROL ECU) See step   1 

    NG → REPAIR OR REPLACE HARNESS OR CONNECTOR 

    OK: Go to next step 

  5. CHECK HARNESS AND CONNECTOR (POWER MANAGEMENT CONTROL ECU - BODY GROUND) See step   2 

    NG → REPAIR OR REPLACE HARNESS OR CONNECTOR 

    OK: Go to next step 

  6. CHECK HARNESS AND CONNECTOR (COMBINATION METER SUB-ASSEMBLY - POWER MANAGEMENT CONTROL ECU) 
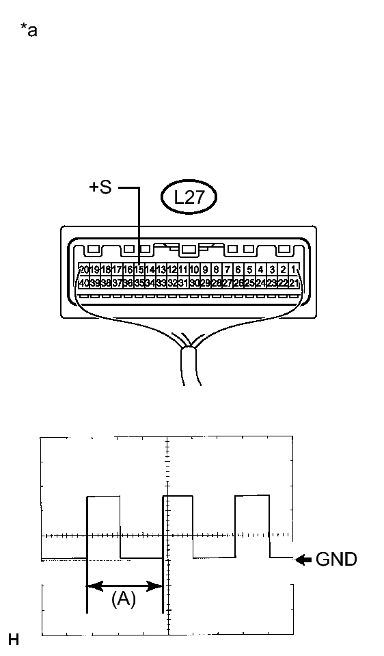
    1. Disconnect the L27 connector from the combination meter sub-assembly.
    2. Measure the resistance according to the value(s) in the table below.

      Standard Resistance

      Tester Connection Condition Specified Condition
      L5-14 (SPDI) - L27-15 (+S) Always Below 1 Ω
      L5-14 (SPDI) - Body ground Always 10 kΩ or higher

    NG → See step   8 

    OK: Go to next step 

  7. INSPECT COMBINATION METER SUB-ASSEMBLY 
    1. Remove the combination meter sub-assembly. Refer to REMOVAL .
      Fig 1: Inspecting Combination Meter Sub-Assembly With Waveform Reference
      GTY334223Courtesy of © TOYOTA, LICENSE AGREEMENT TMS1002
    2. Reconnect the L27 connector to the combination meter sub-assembly.
    3. Reconnect the L5 connector to the power management control ECU.
    4. Connect an oscilloscope to terminal L27-15 (+S) and body ground.
    5. Turn the power switch on (IG).
    6. Turn a wheel slowly.
    7. Check the signal waveform according to the condition(s) in the table below.
      Item Condition
      Tool setting 5 V/DIV., 20 ms./DIV.
      Vehicle condition Driving at approx. 20 km/h (12 mph)

      OK

      The waveform is similar to that shown in the illustration.

      TEXT IN ILLUSTRATION

      *a Component with harness connected
      (Combination Meter Sub-assembly)

      HINT: 

      When the system is functioning normally, one wheel revolution generates 4 pulses. As the vehicle speed increases, the width indicated by (A) in the illustration narrows.

    NG → See step   13 

    OK → See step   14 

  8. CHECK HARNESS AND CONNECTOR (COMBINATION METER SUB-ASSEMBLY - JUNCTION CONNECTOR) 
    1. Disconnect the L70 connector.
    2. Measure the resistance according to the value(s) in the table below.

      Standard Resistance

      Tester Connection Condition Specified Condition
      L27-15 (+S) - L70-32 Always Below 1 Ω
      L27-15 (+S) - Body ground Always 10 kΩ or higher

    NG → REPAIR OR REPLACE HARNESS OR CONNECTOR 

    OK: Go to next step 

  9. CHECK HARNESS AND CONNECTOR (POWER MANAGEMENT CONTROL ECU - JUNCTION BLOCK) 
    1. Measure the resistance according to the value(s) in the table below.

      Standard Resistance

      Tester Connection Condition Specified Condition
      L5-14 (SPDI) - L70-22 Always Below 1 Ω
      L5-14 (SPDI) - Body ground Always 10 kΩ or higher

    NG → REPAIR OR REPLACE HARNESS OR CONNECTOR 

    OK → REPLACE JUNCTION CONNECTOR 

  10. GO TO CAN COMMUNICATION SYSTEM (DIAGNOSTIC TROUBLE CODE CHART). Refer to  DIAGNOSTIC TROUBLE CODE CHART 
  11. GO TO METER / GAUGE SYSTEM (Speedometer Malfunction). Refer to  Speedometer Malfunction 
  12. REPLACE POWER MANAGEMENT CONTROL ECU. Refer to  REMOVAL 
  13. GO TO METER / GAUGE SYSTEM (Speed Signal Circuit). Refer to  Speed Signal Circuit 
  14. REPLACE POWER MANAGEMENT CONTROL ECU. Refer to  REMOVAL