LEMON Manuals: Even more car manuals for everyone: 1960-2025
Home >> Toyota >> 2013 >> Prius V >> Repair and Diagnosis (Single Page) >> Engine Mechanical >> Starter >> Smart Key System (For Start Function) (Diagnostic Codes & Symptom Tests) >> Smart Key System (For Start Function) >> DTC B2284: Brake Signal Malfunction >> Procedure
April 5, 2026: LEMON Manuals is launched! Read the announcement.

DTC B2284: Brake Signal Malfunction: Procedure

  1. CHECK HARNESS AND CONNECTOR (AUXILIARY BATTERY - POWER MANAGEMENT CONTROL ECU) See step   1 

    NG → REPAIR OR REPLACE HARNESS OR CONNECTOR 

    OK: Go to next step 

  2. CHECK HARNESS AND CONNECTOR (POWER MANAGEMENT CONTROL ECU - BODY GROUND) See step   2 

    NG → REPAIR OR REPLACE HARNESS OR CONNECTOR 

    OK: Go to next step 

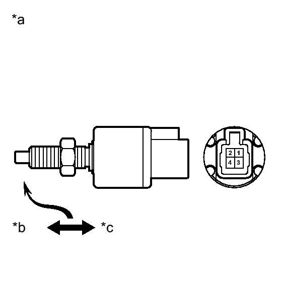
  3. INSPECT STOP LIGHT SWITCH ASSEMBLY 
    1. Remove the stop light switch assembly. Refer to REMOVAL .
      Fig 1: Inspecting Stop Light Switch Assembly With Connector End View
      GTY328542Courtesy of © TOYOTA, LICENSE AGREEMENT TMS1002
    2. Measure the resistance according to the value(s) in the table below.

      Standard Resistance

      Tester Connection Condition Specified Condition
      1 - 2 Pushed 10 kΩ or higher
      3 - 4 Pushed Below 1 Ω
      1 - 2 Not pushed Below 1 Ω
      3 - 4 Not pushed 10 kΩ or higher
      TEXT IN ILLUSTRATION

      *a Component without harness connected
      (Stop Light Switch Assembly)
      *b Free
      *c Pushed in

    NG → See step   6 

    OK: Go to next step 

  4. CHECK HARNESS AND CONNECTOR (STOP LIGHT SWITCH ASSEMBLY - POWER MANAGEMENT CONTROL ECU) 
    1. Disconnect the A22 connector from the power management control ECU.
    2. Measure the resistance according to the value(s) in the table below.

      Standard Resistance

      Tester Connection Condition Specified Condition
      A22-23 (STP) - A26-1 Always Below 1 Ω
      A22-23 (STP) - Body ground Always 10 kΩ or higher

    NG → REPAIR OR REPLACE HARNESS OR CONNECTOR 

    OK: Go to next step 

  5. READ VALUE USING TECHSTREAM (STOP LIGHT SWITCH ASSEMBLY) 
    1. Connect the Techstream to the DLC3.
    2. Turn the power switch on (IG).
    3. Turn the Techstream on.
    4. Enter the following menus: Body Electrical / Power Source Control / Data List.
    5. Read the Data List according to the display on the Techstream.
      POWER SOURCE CONTROL

      Tester Display Measurement Item/Range Normal Condition Specified Condition
      Stop Light Switch1 State of brake pedal/OFF or ON OFF: Brake pedal released
      ON: Brake pedal depressed
      • Use this item to determine whether the stop light switch is malfunctioning.
      • The hybrid control system cannot be started when this item is "OFF".
      • When this item is malfunctioning, the hybrid control system can be started by pressing and holding the power switch for a certain period of time.

      OK

      ON (brake pedal is depressed) and OFF (brake pedal is released) appear on the screen.

    NG → See step   7 

    OK → See step   8 

  6. REPLACE STOP LIGHT SWITCH ASSEMBLY. Refer to  REMOVAL 
  7. REPLACE POWER MANAGEMENT CONTROL ECU. Refer to  REMOVAL 
  8. GO TO ELECTRONICALLY CONTROLLED BRAKE SYSTEM (DTC C1249/49). Refer to  DTC C1249/49: Open in Stop Light Switch Circuit