LEMON Manuals: Even more car manuals for everyone: 1960-2025
Home >> Toyota >> 2013 >> Prius V >> Repair and Diagnosis (Single Page) >> Engine Mechanical >> Starter >> Smart Key System (For Start Function) (Diagnostic Codes & Symptom Tests) >> Smart Key System (For Start Function) >> Symptom Tests >> Power Source Mode does not Change to ON (IG and ACC) >> Procedure
April 5, 2026: LEMON Manuals is launched! Read the announcement.

Power Source Mode does not Change to ON (IG and ACC): Procedure

  1. CHECK HARNESS AND CONNECTOR (AUXILIARY BATTERY - POWER MANAGEMENT CONTROL ECU) See step   1 

    NG → REPAIR OR REPLACE HARNESS OR CONNECTOR 

    OK: Go to next step 

  2. CHECK HARNESS AND CONNECTOR (POWER MANAGEMENT CONTROL ECU - BODY GROUND) See step   2 

    NG → REPAIR OR REPLACE HARNESS OR CONNECTOR 

    OK: Go to next step 

  3. READ VALUE USING TECHSTREAM 
    1. Reconnect the L5 and L6 connectors to the power management control ECU.
    2. Turn the power switch off.
    3. Connect the Techstream to the DLC3.
    4. Turn the power switch on (IG).
    5. Turn the Techstream on.
    6. Enter the following menus: Body Electrical / Power Source Control / Data List.
    7. Read the Data List according to the display on the Techstream.
      POWER SOURCE CONTROL

      Tester Display Measurement Item/Range Normal Condition Diagnostic Note
      Key Certif Wait T-Out Key verification malfunction/No or Yes No: Verification normal
      Yes: Verification error (detected when ID code from key and ID stored in certification ECU (smart key ECU assembly) do not match)
      The hybrid control system can be started, even if this item displays "Yes".

      OK

      When more than 1 second elapses after the power switch is turned from off to on (IG), No is displayed in the Data List.

    NG → See step   9 

    OK: Go to next step 

  4. READ VALUE USING TECHSTREAM 
    1. Read the Data List according to the display on the Techstream.
      POWER SOURCE CONTROL

      Tester Display Measurement Item/Range Normal Condition Diagnostic Note
      Start Switch1 Condition of power switch contact 1/OFF or ON OFF: Power switch not pressed
      ON: Power switch pressed
      • If the power switch is pressed for a short time, the display may not change.
      • Use this item to determine whether the power switch input signal is malfunctioning.
      Start Switch2 Condition of power switch contact 2/OFF or ON OFF: Power switch not pressed
      ON: Power switch pressed
      • This is the backup for power switch 1.
      • Behaves the same way as power switch 1.

      OK

      ON (power switch is pushed) and OFF (power switch is not pushed) appear on the screen.

    NG → See step   7 

    OK: Go to next step 

  5. CHECK POWER MANAGEMENT CONTROL ECU 
    1. Read the Data List according to the display on the Techstream.
      POWER SOURCE CONTROL

      Tester Display Measurement Item/Range Normal Condition Diagnostic Note
      Power Supply Condition State of power supply/All OFF, ACC ON, IG1 ON, IG2 ON, ST ON All OFF: Power switch off (power supply off)
      ACC ON: Power switch on (ACC) (ACC relay on)
      IG1 ON: Power switch on (IG) (IG1 relay on)
      IG2 ON: Power switch on (IG) (IG2 relay on)
      ST ON: Starting hybrid control system
      Since "IG1 ON" and "IG2 ON" turn "on" at approximately the same time, "IG1 ON" may not be displayed ("IG1 ON" turns on for a very short time).
    2. Measure the voltage while checking the Data List on the Techstream.

      Standard Voltage

      Tester Connection Condition Specified Condition
      L6-2 (IG1D) - Body ground Power switch off Below 1 V
      L6-2 (IG1D) - Body ground Power switch on (ACC) Below 1 V
      L6-2 (IG1D) - Body ground Power switch on (IG) Output voltage at terminal AM21 or AM22 is -2 V or more
      A22-2 (IG2D) - Body ground Power switch off Below 1 V
      A22-2 (IG2D) - Body ground Power switch on (ACC) Below 1 V
      A22-2 (IG2D) - Body ground Power switch on (IG) Output voltage at terminal AM21 or AM22 is -2 V or more
      L6-1 (ACCD) - Body ground Power switch off Below 1 V
      L6-1 (ACCD) - Body ground Power switch on (IG) Output voltage at terminal AM21 or AM22 is -2 V or more
      L6-1 (ACCD) - Body ground Power switch on (ACC) Output voltage at terminal AM21 or AM22 is -2 V or more

    NG → See step   10 

    OK: Go to next step 

  6. CONFIRMATION TEST 
    1. Check that the power source mode becomes on (ACC) and on (IG) when the power switch is operated.

      OK

      Power source mode becomes on (ACC) and on (IG) when the power switch is operated.

    NG → CHECK RELAY CONTACT SIDE CIRCUIT 

    OK → See step   13 

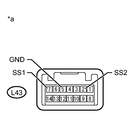
  7. CHECK POWER SWITCH 
    1. Remove the power switch. Refer to REMOVAL .
      Fig 1: Checking Power Switch With Connector End View
      GTY340808Courtesy of © TOYOTA, LICENSE AGREEMENT TMS1002
    2. Measure the resistance according to the value(s) in the table below.

      Standard Resistance

      Tester Connection Switch Condition Specified Condition
      L43-7 (SS1) - L43-5 (GND) Pushed Below 1 Ω
      L43-7 (SS1) - L43-5 (GND) Not pushed 10 kΩ or higher
      L43-2 (SS2) - L43-5 (GND) Pushed Below 1 Ω
      L43-2 (SS2) - L43-5 (GND) Not pushed 10 kΩ or higher
      TEXT IN ILLUSTRATION

      *a Component without harness connected
      (Power Switch)

    NG → See step   11 

    OK: Go to next step 

  8. CHECK HARNESS AND CONNECTOR (POWER SWITCH - POWER MANAGEMENT CONTROL ECU AND BODY GROUND) 
    1. Disconnect the L5 and L6 connectors from the power management control ECU.
    2. Measure the resistance according to the value(s) in the table below.

      Standard Resistance

      Tester Connection Condition Specified Condition
      L6-17 (SSW2) - L43-2 (SS2) Always Below 1 Ω
      L5-7 (SSW1) - L43-7 (SS1) Always Below 1 Ω
      L6-17 (SSW2) - Body ground Always 10 kΩ or higher
      L5-7 (SSW1) - Body ground Always 10 kΩ or higher

    NG → REPAIR OR REPLACE HARNESS OR CONNECTOR 

    OK → See step   12 

  9. CHECK FOR DTC 
    1. Enter the following menus:

      for Power Source Control: Body Electrical / Power Source Control / Trouble Codes.

      for Smart Key: Body Electrical / Smart Key / Trouble Codes.

    2. Check for DTCs.

      Result

      Result Proceed to
      The following DTCs are not output:
      • B2785
      • B2287
      • B2784
      A
      DTC B2785 is not output but DTC B2287 is output. B
      DTCs other than B2287 are output. C

    B → See step   15 

    C → GO TO DIAGNOSTIC TROUBLE CODE CHART 

    A → See step   14 

  10. REPLACE POWER MANAGEMENT CONTROL ECU. Refer to  REMOVAL 
  11. REPLACE POWER SWITCH. Refer to  REMOVAL 
  12. REPLACE POWER MANAGEMENT CONTROL ECU. Refer to  REMOVAL 
  13. USE SIMULATION METHOD TO CHECK. Refer to  HOW TO PROCEED WITH TROUBLESHOOTING 
  14. GO TO OTHER FLOW CHART (Room Oscillator does not Recognize Key). Refer to  Room Oscillator does not Recognize Key 
  15. GO TO OTHER FLOW CHART (DTC B2287). Refer to  DTC B2287: LIN Communication Master Malfunction