LEMON Manuals: Even more car manuals for everyone: 1960-2025
Home >> Toyota >> 2013 >> Sienna Base, Van Cargo >> Repair and Diagnosis (Single Page) >> Restraints >> Air Bag, SRS >> Occupant Classification System (Diagnostic Codes & Symptom Tests) >> Occupant Classification System >> DTC B1790: Center Airbag Sensor Assembly Communication Circuit Malfunction >> Procedure
April 5, 2026: LEMON Manuals is launched! Read the announcement.

DTC B1790: Center Airbag Sensor Assembly Communication Circuit Malfunction: Procedure

  1. CHECK FOR DTC 
    1. Turn the ignition switch to ON, and wait for at least 60 seconds.
    2. Clear any DTCs stored in the memory. Refer to DTC CHECK / CLEAR .

      HINT: 

      • First clear DTCs stored in the occupant classification ECU and then in the center airbag sensor assembly.
      • Use the Techstream to clear the DTCs of the occupant classification ECU, otherwise the DTCs cannot be cleared.
    3. Turn the ignition switch off.
    4. Turn the ignition switch to ON, and wait for at least 60 seconds.
    5. Using the Techstream, check for DTCs of the occupant classification ECU. Refer to DTC CHECK / CLEAR .

      OK

      DTC B1790 is not output.

      HINT: 

      DTCs other than DTC B1790 may be output at this time, but they are not related to this check.

    NG → See step   2 

    OK → See step   11 

  2. CHECK CONNECTION OF CONNECTOR 
    1. Turn the ignition switch off.
    2. Disconnect the cable from the negative (-) battery terminal, and wait for at least 90 seconds.
    3. Check that the connectors are properly connected to the occupant classification ECU and center airbag sensor assembly. Also check that the connectors that link the front seat wire RH and No. 2 floor wire are properly connected.

      OK

      Connectors are properly connected.

    NG → CONNECT CONNECTORS PROPERLY 

    OK: Go to next step 

  3. CHECK CONNECTOR 
    1. Check that the connectors (on the center airbag sensor assembly side, occupant classification ECU side, front seat wire RH side and No. 2 floor wire side) are not damaged.

      OK

      Connectors are not deformed or damaged.

    NG → REPLACE HARNESS OR CONNECTOR 

    OK: Go to next step 

  4. CHECK OCCUPANT CLASSIFICATION SYSTEM CIRCUIT 
    Fig 1: Checking Occupant Classification System Circuit
    GTY303873Courtesy of © TOYOTA, LICENSE AGREEMENT TMS1002
    TEXT IN ILLUSTRATION

    *1 Occupant Classification ECU *2 Center Airbag Sensor Assembly
    *3 Front view of wire harness connector
    (to Occupant Classification ECU)
    *4 Front view of wire harness connector
    (to Center Airbag Sensor Assembly)
    *5 Connector E *6 Connector B
    *7 Service Wire - -
    1. Connect the cable to the negative (-) battery terminal, and wait for at least 2 seconds.
    2. Turn the ignition switch to ON, and wait for at least 60 seconds.
    3. Measure the voltage according to the value(s) in the table below.

      Standard Voltage

      Tester Connection Switch Condition Specified Condition
      X6-8 (FSR+) - Body ground Ignition switch ON Below 1 V
      X6-4 (FSR-) - Body ground
    4. Turn the ignition switch off.
    5. Disconnect the cable from the negative (-) battery terminal, and wait for at least 90 seconds.
    6. Using a service wire, connect terminals 12 (FSR+) and 13 (FSR-) of connector B.
      NOTE:

      Do not forcibly insert the service wire into the terminals of the connector.

    7. Measure the resistance according to the value(s) in the table below.

      Standard Resistance

      Tester Connection Condition Specified Condition
      X6-8 (FSR+) - X6-4 (FSR-) Always Below 1 Ω
    8. Disconnect the service wire from connector B.
    9. Measure the resistance according to the value(s) in the table below.

      Standard Resistance

      Tester Connection Condition Specified Condition
      X6-8 (FSR+) - X6-4 (FSR-) Always 1 MΩ or higher
      X6-8 (FSR+) - Body ground
      X6-4 (FSR-) - Body ground

    NG → See step   10 

    OK: Go to next step 

  5. CHECK FOR DTC 
    1. Connect the connectors to the occupant classification ECU and the center airbag sensor assembly.
    2. Connect the cable to the negative (-) battery terminal, and wait for at least 2 seconds.
    3. Turn the ignition switch to ON, and wait for at least 60 seconds.
    4. Clear any DTCs stored in the memory. Refer to DTC CHECK / CLEAR .

      HINT: 

      • First clear any DTCs stored in the occupant classification ECU and then in the center airbag sensor assembly.
      • Use the Techstream to clear the DTCs of the occupant classification ECU, otherwise the DTCs cannot be cleared.
    5. Turn the ignition switch off.
    6. Turn the ignition switch to ON, and wait for at least 60 seconds.
    7. Using the Techstream, check for DTCs of the occupant classification ECU. Refer to DTC CHECK / CLEAR .

      OK

      DTC B1790 is not output.

      HINT: 

      DTCs other than DTC B1790 may be output at this time, but they are not related to this check.

    NG → See step   6 

    OK → See step   12 

  6. REPLACE OCCUPANT CLASSIFICATION ECU 
    1. Turn the ignition switch off.
    2. Disconnect the cable from the negative (-) battery terminal, and wait for at least 90 seconds.
    3. Replace the occupant classification ECU. Refer to REMOVAL .

      HINT: 

      Perform the inspection using parts from a normal vehicle when possible.

    NEXT: Go to next step 

  7. REPLACE CENTER AIRBAG SENSOR ASSEMBLY 
    1. Turn the ignition switch off.
    2. Disconnect the cable from the negative (-) battery terminal, and wait for at least 90 seconds.
    3. Replace the center airbag sensor assembly. Refer to REMOVAL .

      HINT: 

      Perform the inspection using parts from a normal vehicle when possible.

    NEXT: Go to next step 

  8. PERFORM ZERO POINT CALIBRATION 
    1. Connect the cable to the negative (-) battery terminal, and wait for at least 2 seconds.
    2. Connect the Techstream to the DLC3.
    3. Turn the ignition switch to ON, and wait for at least 60 seconds.
    4. Using the Techstream, perform the zero point calibration. Refer to INITIALIZATION .

    NEXT: Go to next step 

  9. PERFORM SENSITIVITY CHECK 
    1. Using the Techstream, perform the sensitivity check. Refer to INITIALIZATION .

      Standard range

      27 to 33 kg (59.5 to 72.8 lb)

    NEXT → END 

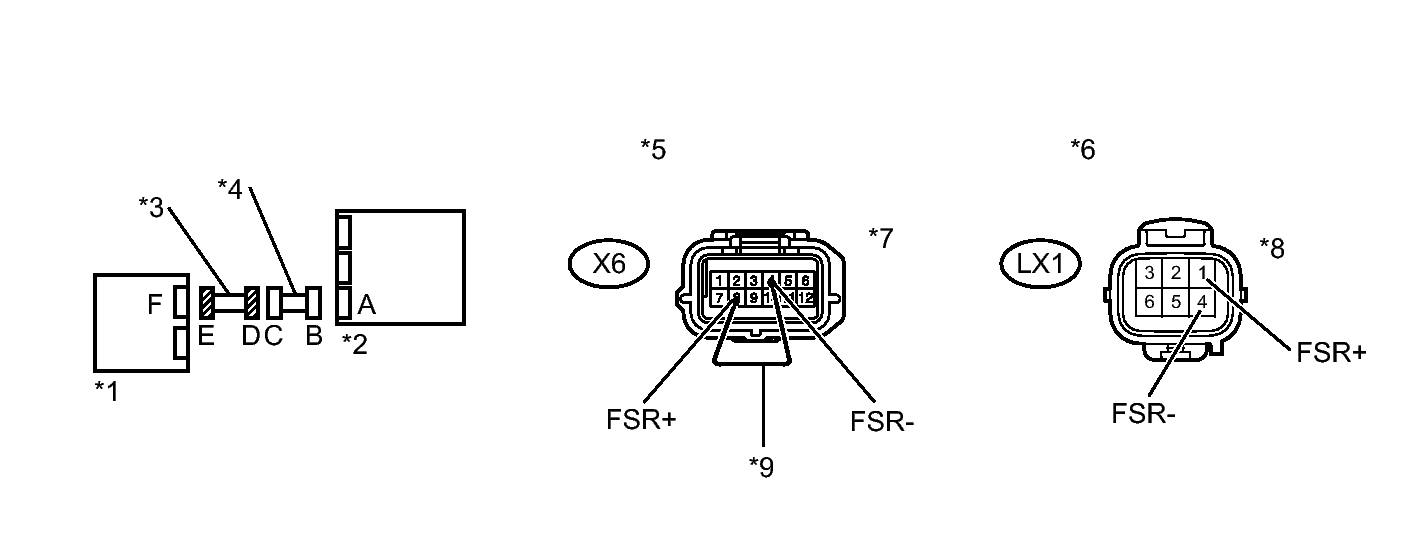
  10. CHECK FRONT SEAT WIRE RH 
    Fig 2: Checking Front Seat Wire RH
    GTY296833Courtesy of © TOYOTA, LICENSE AGREEMENT TMS1002
    TEXT IN ILLUSTRATION

    *1 Occupant Classification ECU *2 Center Airbag Sensor Assembly
    *3 Front Seat Wire RH *4 No. 2 Floor Wire
    *5 Front view of wire harness connector
    (to Occupant Classification ECU)
    *6 Front view of wire harness connector
    (to Front Seat Wire RH)
    *7 Connector E *8 Connector D
    *9 Service Wire - -
    1. Disconnect the front seat wire RH connector from the No. 2 floor wire.
    2. Connect the cable to the negative (-) battery terminal, and wait for at least 2 seconds.
    3. Turn the ignition switch to ON, and wait for at least 60 seconds.
    4. Measure the voltage according to the value(s) in the table below.

      Standard Voltage

      Tester Connection Switch Condition Specified Condition
      LX1-1 (FSR+) - Body ground Ignition switch ON Below 1 V
      LX1-4 (FSR-) - Body ground
    5. Turn the ignition switch off.
    6. Disconnect the connector from the occupant classification ECU.
    7. Using a service wire, connect terminals 8 (FSR+) and 4 (FSR-) of connector E.
      NOTE:

      Do not forcibly insert the service wire into the terminals of connector.

    8. Measure the resistance according to the value(s) in the table below.

      Standard Resistance

      Tester Connection Condition Specified Condition
      LX1-1 (FSR+) - LX1-4 (FSR-) Always Below 1 Ω
    9. Disconnect the service wire from connector E.
    10. Measure the resistance according to the value(s) in the table below.

      Standard Resistance

      Tester Connection Condition Specified Condition
      LX1-1 (FSR+) - LX1-4 (FSR-) Always 1 MΩ or higher
      LX1-1 (FSR+) - Body ground
      LX1-4 (FSR-) - Body ground

    NG → REPLACE FRONT SEAT WIRE RH 

    OK → REPLACE NO. 2 FLOOR WIRE 

  11. USE SIMULATION METHOD TO CHECK. Refer to  DIAGNOSIS SYSTEM 
  12. USE SIMULATION METHOD TO CHECK. Refer to  DIAGNOSIS SYSTEM