LEMON Manuals: Even more car manuals for everyone: 1960-2025
Home >> Toyota >> 2013 >> Yaris LE, 2D Hatchback >> Repair and Diagnosis >> External Pages >> Different car >> Section 10 (Smart Key System (For Entry Function) (Diagnostics - Introduction)) >> Smart Key System (For Entry Function) >> Operation Check >> Operation Check
April 5, 2026: LEMON Manuals is launched! Read the announcement.

Operation Check

WARNING: This page is about a different car, the 2013 Toyota Prius V. However, it is still accessible from the selected car via links, so may be relevant.
  1. CHECK SMART KEY SYSTEM (for Entry Function) OPERATION 
    NOTE:

    Make sure that the smart key system (for Entry Function) has not been canceled before performing this inspection.

    1. Check the entry unlock function (driver door, front passenger door).
      1. Perform a wireless lock operation to lock the door, touch the unlock sensor built into the backside of the front door outside handle assembly of the driver door while carrying the electrical key transmitter sub-assembly and check that the door unlock.

        HINT: 

        To perform a wireless lock operation, press the lock button of the electrical key transmitter sub-assembly while standing near the front door outside handle assembly.

      2. Inspect the entry unlock detection area. Hold the electrical key transmitter sub-assembly at the same height as the front door outside handle assembly and approximately 0.7 m (2.30 ft.) from the vehicle as shown in the illustration and check that the LED (red) of the electrical key transmitter sub-assembly blinks.
        Fig 1: Identifying Front Door Outside Handle Assembly (For Driver Door)
        GTY330906Courtesy of © TOYOTA, LICENSE AGREEMENT TMS1002
        TEXT IN ILLUSTRATION

        *a 0.7 to 1 m (2.30 to 3.28 ft.)
      3. With the system in unlock standby mode, hold the front door outside handle assembly and check that the door unlock.

        HINT: 

        • The system is in unlock standby mode when the electrical key transmitter sub-assembly is in the detection area and the key ID code sent by the electrical key transmitter sub-assembly matches the key ID code stored by the certification ECU (smart key ECU assembly).
        • Communication may not be possible if the electrical key transmitter sub-assembly is within 0.2 m (0.66 ft.) of the front door outside handle assembly.
        • Inspect the front passenger door using the same procedure (Except Driver's Door Only Smart Key System).
      4. Check the unlock response sensitivity. With the system in unlock standby mode, touch the area shown in the illustration and check that the door unlocks.
        NOTE:

        If the sensor is touched too quickly or released too slowly, the sensor may not react and the door will not unlock.

        Fig 2: Identifying Touch Pad Sensor
        GTY329156Courtesy of © TOYOTA, LICENSE AGREEMENT TMS1002
        TEXT IN ILLUSTRATION

        *a Unlock Sensor (Backside)
    2. Check the entry lock function (driver door, front passenger door).
      NOTE:

      If the electrical key transmitter sub-assembly is in the vehicle but outside the detection area (on the instrument panel, in the glove box, on the floor) and a door lock operation is performed, the key lock-in prevention function will not operate and the electrical key transmitter sub-assembly will be locked inside the vehicle.

      1. With the door closed and unlocked, touch the lock sensor of the front door outside handle assembly of the driver door while carrying the electrical key transmitter sub-assembly and check that the door lock.
        Fig 3: Identifying Front Door Outside Handle Assembly (For Driver Door)
        GTY330906Courtesy of © TOYOTA, LICENSE AGREEMENT TMS1002
        TEXT IN ILLUSTRATION

        *a Approximately 0.3 m (0.98 ft.)
      2. Inspect the entry lock operating range. Hold the electrical key transmitter sub-assembly approximately 0.1 m (0.33 ft.) below the bottom edge of the door glass and approximately 0.3 m (0.98 ft.) from the vehicle as shown in the illustration, touch the lock sensor and check that the door lock.
        Fig 4: Inspecting The Entry Lock Operating Range
        GTY326090Courtesy of © TOYOTA, LICENSE AGREEMENT TMS1002
        TEXT IN ILLUSTRATION

        *a Lock Sensor

        HINT: 

        • As communication may not be possible if the electrical key transmitter sub-assembly is within 0.2 m (0.66 ft.) of the front door outside handle assembly, the door may not lock if the lock sensor is touched with the same hand that is holding the electrical key transmitter sub-assembly, etc.
        • If the key lock-in prevention function buzzer sounds, electric waves from the indoor electrical key antenna may be leaking from the vehicle.
        • Inspect the front passenger door using the same procedure (Except Driver's Door Only Smart Key System).
        • The door lock operation cannot be performed more than 2 times consecutively.
      3. After the system enters unlock standby mode, touch the unlock sensor on the outside handle within 3 seconds. Check that the door unlocks.
        NOTE:

        The electrical key transmitter sub-assembly may not be able to communicate with the system within a 0.2 m (0.656 ft.) radius of each outside handle.

    3. Check the entry back door unlock function.
      1. Perform a wireless lock operation to lock the door, operate the unlock switch of the back door opener switch assembly while carrying the electrical key transmitter sub-assembly and check that the door unlock.
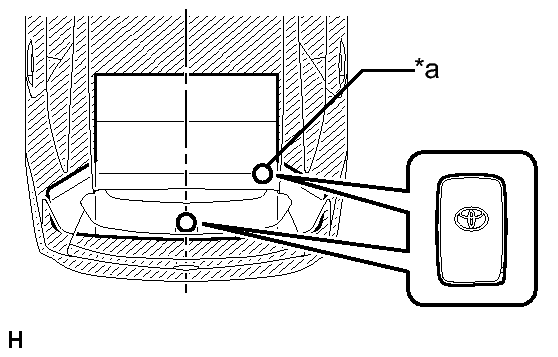
        Fig 5: Identifying Electrical Key Antenna (Outside Luggage)
        GTY336339Courtesy of © TOYOTA, LICENSE AGREEMENT TMS1002
        TEXT IN ILLUSTRATION

        *a Approximately 0.7 m (2.30 ft.)
      2. Inspect the entry back door unlock operating range. While standing at the rear of the vehicle, hold the electrical key transmitter sub-assembly so that it is facing the direction shown in the illustration at the same height as the back door opener switch assembly and approximately 0.7 m (2.30 ft.) from the vehicle, press the unlock switch of the back door opener switch assembly and check that the door unlock.
    4. Check the entry back door lock function.
      NOTE:

      If the electrical key transmitter sub-assembly is inside the vehicle and a door lock operation is performed, it is possible that the electrical key transmitter sub-assembly may be locked inside the vehicle.

      1. With the door closed and unlocked, press the lock switch of the back door opener switch assembly while carrying the electrical key transmitter sub-assembly outside of the vehicle and check that the door lock.
      2. Inspect the entry back door lock operating range. Hold the electrical key transmitter sub-assembly so that it is facing the direction shown in the illustration at the same height as the top edge of the rear bumper and approximately 0.3 m (0.98 ft.) from the vehicle, press the lock of the back door opener switch assembly and check that the door lock.
        Fig 6: Identifying Electrical Key Antenna (Outside Luggage)
        GTY336339Courtesy of © TOYOTA, LICENSE AGREEMENT TMS1002
        TEXT IN ILLUSTRATION

        *a Approximately 0.3 m (0.98 ft.)

        HINT: 

        • Communication may not be possible if the electrical key transmitter sub-assembly is within 0.2 m (0.66 ft.) of the rear bumper.
        • If the key lock-in prevention function buzzer sounds, electric waves from the indoor electrical key antenna assembly may be leaking from the vehicle.
    5. Check the push start function.
      1. With the power switch off, push the P position switch, depress the brake pedal while carrying the electrical key transmitter sub-assembly and check that the power switch indicator illuminates in green. Then, press the power switch and check that the hybrid control system starts.
      2. With the brake pedal released and the power switch off, press the power switch while carrying the electrical key transmitter sub-assembly and check that the power source mode changes as follows: off → on (ACC) → on (IG) → off.
      3. Stop the vehicle, press the power switch and check that the power source mode changes to off (the hybrid control system stops and all electrical systems are off).
      4. Inspect the push start operating range (front). Place the electrical key transmitter sub-assembly on the front seat at either inspection point so that it is facing in the direction shown in the illustration and check that the hybrid control system can be started.
        Fig 7: Identifying No. Indoor Electrical Key Antenna (Front Floor)
        GTY335655Courtesy of © TOYOTA, LICENSE AGREEMENT TMS1002
        TEXT IN ILLUSTRATION

        *a Inspection Point
        NOTE:
        • Even if the electrical key transmitter sub-assembly is within the vehicle interior detection area, the electrical key transmitter sub-assembly may not be properly detected if it is on the instrument panel, in the glove box or on the floor.
        • Communication may not be possible if the electrical key transmitter sub-assembly is within 0.2 m (0.66 ft.) of the shift lever.

        HINT: 

        Perform the inspection for both inspection points.

      5. Inspect the push start operating range (rear). Place the electrical key transmitter sub-assembly on the rear seat at either inspection point so that it is facing in the direction shown in the illustration and check that the hybrid control system can be started.
        Fig 8: Identifying No. 3 Indoor Electrical Key Antenna (Rear Floor)
        GTY336952Courtesy of © TOYOTA, LICENSE AGREEMENT TMS1002
        TEXT IN ILLUSTRATION

        *a Inspection Point
        NOTE:
        • Even if the electrical key transmitter sub-assembly is within the vehicle interior detection area, the electrical key transmitter sub-assembly may not be properly detected if it is on the instrument panel, in the glove box or on the floor.
        • Communication may not be possible if the electrical key transmitter sub-assembly is within 0.2 m (0.66 ft.) of the center of the rear seat cushion.

        HINT: 

        Perform the inspection for both inspection points.

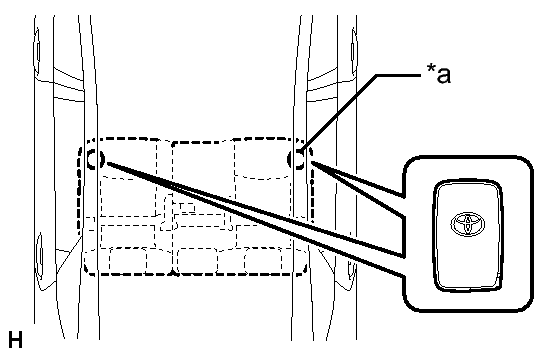
      6. Inspect the push start operating range (luggage). Place the electrical key transmitter sub-assembly at either inspection point and check that the hybrid control system can be started.
        Fig 9: Identifying No. 2 Indoor Electrical Key Antenna (Inside Luggage)
        GTY325264Courtesy of © TOYOTA, LICENSE AGREEMENT TMS1002
        TEXT IN ILLUSTRATION

        *a Inspection Point
        NOTE:
        • Even if the electrical key transmitter sub-assembly is within the vehicle interior detection area, the electrical key transmitter sub-assembly may not be properly detected if it is on the instrument panel, in the glove box or on the floor.
        • Communication may not be possible if the electrical key transmitter sub-assembly is within 0.2 m (0.66 ft.) of the center of the luggage compartment.

        HINT: 

        Perform the inspection for both inspection points.

    6. Check the key lock-in prevention function (vehicle interior).
      NOTE:

      In order to prevent the electrical key transmitter sub-assembly from being locked inside the vehicle, perform this inspection with the window of a door open.

      1. Turn the power switch off.
      2. Place the electrical key transmitter sub-assembly on a front or rear seat.
      3. Close the door, but make sure the door are unlocked.
      4. Touch a front door lock sensor and check that the doors do not lock and the key lock-in prevention function buzzer (external) sounds.
    7. Check the entry cancel function.
      1. Cancel the smart key system and check that all the functions of the smart key system (for Entry Function) no longer operate.

        HINT: 

        • Refer to the following procedures to cancel the smart key system (for Entry Function). Refer to CUSTOMIZE PARAMETERS .
        • While the smart key system is canceled, it is possible to lock and unlock the doors with the wireless operation, and the start system can be operated by holding the electrical key transmitter sub-assembly against the power switch.
      2. While the key cancel function (entry cancel function) is on, check that all functions of the smart key system cannot be operated.
    8. Check the answer-back function (hazard warning light flashing and buzzer sounding).
      Entry Operation Wireless Buzzer Hazard Warning Light
      Entry Door Lock Sounds once Flashes once
      Entry Door Unlock Sounds twice Flashes twice
      Entry Back Door Lock Sounds once Flashes once
      Entry Back Door Unlock Sounds twice Flashes twice
  2. KEY DIAGNOSTIC MODE (Using Techstream) 

    HINT: 

    With key diagnostic mode, it is possible to check if the electrical key transmitter sub-assembly is operating properly with the selected electrical key antenna and within the selected detection area by the sounding of the wireless buzzer.

    1. Enter the following menus: Body Electrical / Smart Key / Utility / Key Communication Check.
    2. Select a part to inspect from the following table.
      Tester Display Inspection Range
      Overhead + Driver Side*1 Front door outside handle assembly (electrical key antenna) [for Driver Side]
      Overhead + Passenger Side*2 Front door outside handle assembly (electrical key antenna) [for Front Passenger Side]
      Overhead + Front Room*3 No. 1 indoor electrical key antenna assembly (front floor)
      Overhead + Rear Room*4 No. 3 indoor electrical key antenna assembly (rear floor)
      Overhead + Back Door (inside)*5 No. 2 indoor electrical key antenna (inside luggage)
      Overhead + Back Door*6 Electrical key antenna (outside luggage)
    3. Bring the electrical key transmitter sub-assembly near the selected electrical key antenna and check that the wireless door lock buzzer sounds.

      HINT: 

      The buzzer sounds in short, repeated beeps for all items except "Overhead + Rear Room"*4. For "Overhead + Rear Room"*4, the buzzer sounds in one long, continuous beep.

      1. *1: Door electrical oscillator (for Driver Side)
        Fig 10: Identifying Front Door Outside Handle Assembly (For Driver Door)
        GTY330906Courtesy of © TOYOTA, LICENSE AGREEMENT TMS1002
        TEXT IN ILLUSTRATION

        *a Approximately 0.3 m (0.98 ft.)

        HINT: 

        • Hold the electrical key transmitter sub-assembly at the same height as the front door outside handle assembly in the position shown in the illustration.
        • *2: Perform the same inspection for the front passenger side (Except Driver's Door Only Smart Key System).
    4. *3: No. 1 indoor electrical key antenna assembly (front floor)
      Fig 11: Identifying No. Indoor Electrical Key Antenna (Front Floor)
      GTY335655Courtesy of © TOYOTA, LICENSE AGREEMENT TMS1002
      TEXT IN ILLUSTRATION

      *a Inspection Point

      HINT: 

      Place the electrical key transmitter sub-assembly on the front seat cushion of the driver seat or front passenger seat.

    5. *4: No. 3 indoor electrical key antenna assembly (rear floor)
      Fig 12: Identifying No. 3 Indoor Electrical Key Antenna (Rear Floor)
      GTY336952Courtesy of © TOYOTA, LICENSE AGREEMENT TMS1002
      TEXT IN ILLUSTRATION

      *a Inspection Point

      HINT: 

      Place the electrical key transmitter sub-assembly on the rear seat cushion.

    6. *5: No. 2 indoor electrical key antenna (inside luggage)
      Fig 13: Identifying No. 2 Indoor Electrical Key Antenna (Inside Luggage)
      GTY325264Courtesy of © TOYOTA, LICENSE AGREEMENT TMS1002
      TEXT IN ILLUSTRATION

      *a Inspection Point

      HINT: 

      Place the electrical key transmitter sub-assembly in the luggage compartment. Even if the electrical key transmitter sub-assembly is in the luggage compartment, the buzzer may not sound.

    7. *6: Outside electrical key oscillator (outside luggage) (Except Driver's Door Only Smart Key System)
      Fig 14: Identifying Electrical Key Antenna (Outside Luggage)
      GTY336339Courtesy of © TOYOTA, LICENSE AGREEMENT TMS1002
      TEXT IN ILLUSTRATION

      *a Approximately 0.7 m (2.30 ft.)

      HINT: 

      Hold the electrical key transmitter sub-assembly at the same height as the rear bumper upper surface and align it with the center of the rear of the vehicle, as shown in the illustration.