LEMON Manuals: Even more car manuals for everyone: 1960-2025
Home >> Toyota >> 2014 >> Corolla L, Automatic Trans >> Repair and Diagnosis >> External Pages >> Different variant/trim >> Section 12 (Intake / Exhaust System (2ZR-FAE) (Service Information) (Model Code: ZRE172)) >> Intake Manifold >> Removal [08/2013 - ] >> Procedure
April 5, 2026: LEMON Manuals is launched! Read the announcement.

Removal [08/2013 - ]: Procedure

WARNING: This page is about a different variant/trim than selected.
  1. REMOVE THROTTLE BODY ASSEMBLY 

    Refer to REMOVAL [08/2013 - ]

  2. REMOVE VACUUM SENSOR (MANIFOLD ABSOLUTE PRESSURE SENSOR) 

    Refer to REMOVAL [08/2013 - ]

  3. REMOVE VACUUM SENSOR BRACKET 
    1. Disengage the wire harness clamp from the intake manifold.
      GTY433820Courtesy of © TOYOTA, LICENSE AGREEMENT TMS1002
    2. Disengage the 2 wire harness clamps from the vacuum sensor bracket.
    3. Disconnect the No. 1 air hose assembly from the intake manifold.
      GTY452583Courtesy of © TOYOTA, LICENSE AGREEMENT TMS1002
    4. Remove the engine cover joint and vacuum sensor bracket from the intake manifold.
  4. DISCONNECT NO. 1 FUEL VAPOR FEED HOSE 
    1. Disconnect the No. 1 fuel vapor feed hose from the intake manifold.
      GTY433186Courtesy of © TOYOTA, LICENSE AGREEMENT TMS1002
  5. DISCONNECT NO. 1 VENTILATION HOSE 
    1. Slide the clip and disconnect the No. 1 ventilation hose from the intake manifold.
      GTY432806Courtesy of © TOYOTA, LICENSE AGREEMENT TMS1002
  6. REMOVE INTAKE MANIFOLD 
    1. Disengage the 4 wire harness clamps.
      GTY433165Courtesy of © TOYOTA, LICENSE AGREEMENT TMS1002
    2. Remove the bolt and wire harness clamp bracket.
    3. Remove the 4 bolts, 2 nuts, intake manifold and intake manifold stay.
      GTY432805Courtesy of © TOYOTA, LICENSE AGREEMENT TMS1002

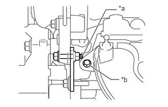
      HINT: 

      If the intake manifold set bolt cannot be removed because the tip of the No. 2 generator bracket set bolt is in the way, remove the V-ribbed belt first.

      GTY451047Courtesy of © TOYOTA, LICENSE AGREEMENT TMS1002
      *a Tip of No. 2 Generator Bracket Set Bolt
      *b Intake Manifold Set Bolt

      Refer to REMOVAL [08/2013 - ]

    4. Remove the engine cover joint from the intake manifold.
      GTY446945Courtesy of © TOYOTA, LICENSE AGREEMENT TMS1002
  7. REMOVE NO. 1 INTAKE MANIFOLD TO HEAD GASKET 
    1. Remove the No. 1 intake manifold to head gasket from the intake manifold.
      GTY433194Courtesy of © TOYOTA, LICENSE AGREEMENT TMS1002
  8. REMOVE STUD BOLT (w/ Stud Bolt) 

    HINT: 

    If a stud bolt is deformed or the threads are damaged, replace it.

    1. Using an E6 "TORX" socket wrench, remove the 2 stud bolts from the intake manifold.
      GTY432807Courtesy of © TOYOTA, LICENSE AGREEMENT TMS1002