LEMON Manuals: Even more car manuals for everyone: 1960-2025
Home >> Toyota >> 2014 >> Corolla LE Eco Plus >> Repair and Diagnosis >> External Pages >> Different variant/trim >> Section 13 (Engine Control System (2ZR-FE) - Diagnostic Codes (6 Of 7) (Model Code: ZRE172)) >> SFI System >> DTC P0120-P0123, P0220, P0222, P0223, P2135; Throttle Pedal Position Sensor / Switch "A" Circuit [08/2013 - 08/2016] >> Description
April 5, 2026: LEMON Manuals is launched! Read the announcement.

DTC P0120-P0123, P0220, P0222, P0223, P2135; Throttle Pedal Position Sensor / Switch "A" Circuit [08/2013 - 08/2016]: Description

WARNING: This page is about a different variant/trim than selected.

HINT: 

These DTCs relate to the throttle position sensor.

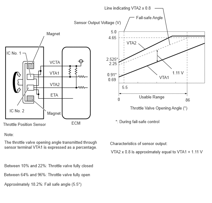
The throttle position sensor is mounted on the throttle body assembly and detects the opening angle of the throttle valve. This sensor is a non-contact type sensor. It uses Hall-effect elements in order to yield accurate signals even in extreme driving conditions, such as at high speeds as well as very low speeds.

The throttle position sensor has 2 sensor circuits, VTA1 and VTA2 each of which transmits a signal. VTA1 is used to detect the throttle valve angle and VTA2 is used to detect malfunctions in VTA1. The sensor signal voltages vary between 0 V and 5 V in proportion to the throttle valve opening angle, and are transmitted to the VTA1 and VTA2 terminals of the ECM.

As the valve closes, the sensor output voltage decreases and as the valve opens, the sensor output voltage increases. The ECM calculates the throttle valve opening angle according to these signals and controls the throttle actuator in response to driver inputs. These signals are also used in calculations such as air fuel ratio correction, power increase correction and fuel-cut control.

GTY444728Courtesy of © TOYOTA, LICENSE AGREEMENT TMS1002
DTC No. Detection Item DTC Detection Condition Trouble Area MIL Memory Note
P0120 Throttle Pedal Position Sensor / Switch "A" Circuit The output voltage of VTA1 quickly fluctuates beyond the lower and upper malfunction thresholds for 2 seconds or more (1 trip detection logic).
  • Throttle position sensor (throttle body assembly)
  • ECM
Comes on DTC stored DTC for Mexico Models
- Applies
P0121 Throttle Pedal Position Sensor / Switch "A" Circuit Range / Performance The difference between the output voltages of VTA1 and VTA2 is less than 0.8 V, or higher than 1.6 V for 2 seconds (1 trip detection logic).
  • Throttle position sensor (throttle body assembly)
  • Throttle position sensor circuit
  • ECM
Comes on DTC stored DTC for Mexico Models
- Applies
P0122 Throttle / Pedal Position Sensor / Switch "A" Circuit Low Input The output voltage of VTA1 is 0.2 V or less for 2 seconds or more (1 trip detection logic).
  • Throttle position sensor (throttle body assembly)
  • Short in VTA1 circuit
  • Open in VCTA circuit
  • ECM
Comes on DTC stored DTC for Mexico Models
- Applies
P0123 Throttle / Pedal Position Sensor / Switch "A" Circuit High Input The output voltage of VTA1 is 4.535 V or higher for 2 seconds or more (1 trip detection logic).
  • Throttle position sensor (throttle body assembly)
  • Open in VTA1 circuit
  • Open in ETA circuit
  • Short between VCTA and VTA1 circuits
  • ECM
Comes on DTC stored DTC for Mexico Models
- Applies
P0220 Throttle / Pedal Position Sensor / Switch "B" Circuit The output voltage of VTA2 quickly fluctuates beyond the lower and upper malfunction thresholds for 2 seconds or more (1 trip detection logic).
  • Throttle position sensor (throttle body assembly)
  • ECM
Comes on DTC stored DTC for Mexico Models
- Applies
P0222 Throttle / Pedal Position Sensor / Switch "B" Circuit Low Input The output voltage of VTA2 is 1.75 V or less for 2 seconds or more (1 trip detection logic).
  • Throttle position sensor (throttle body assembly)
  • Short in VTA2 circuit
  • Open in VCTA circuit
  • ECM
Comes on DTC stored DTC for Mexico Models
- Applies
P0223 Throttle / Pedal Position Sensor / Switch "B" Circuit High Input The output voltage of VTA2 is 4.8 V or higher, and VTA1 is between 0.2 V and 2.02 V for 2 seconds or more (1 trip detection logic).
  • Throttle position sensor (throttle body assembly)
  • Open in VTA2 circuit
  • Short between VCTA and VTA2 circuits
  • ECM
Comes on DTC stored DTC for Mexico Models
- Applies
P2135 Throttle / Pedal Position Sensor / Switch "A" / "B" Voltage Correlation Either of the following conditions is met (1 trip detection logic):
(a) The difference between the output voltages of VTA1 and VTA2 is 0.02 V or less for 0.5 seconds or more.
(b) The output voltage of VTA1 is 0.2 V or less, and VTA2 is 1.75 V or less for 0.4 seconds or more.
  • Short between VTA1 and VTA2 circuits
  • Open in ETA circuit
  • Throttle position sensor (throttle body assembly)
  • ECM
Comes on DTC stored DTC for Mexico Models
- Applies

HINT: