LEMON Manuals: Even more car manuals for everyone: 1960-2025
Home >> Toyota >> 2014 >> FJ Cruiser 4WD, Part Time T/Case Control >> Repair and Diagnosis >> Engine Performance >> System >> Engine Control System (Diagnostic Codes (P0010-P0306)) >> SFI System >> DTC P0112: Intake Air Temperature Circuit Low Input; DTC P0113: Intake Air Temperature Circuit High Input [08/2013 - ] >> Procedure
April 5, 2026: LEMON Manuals is launched! Read the announcement.

DTC P0112: Intake Air Temperature Circuit Low Input; DTC P0113: Intake Air Temperature Circuit High Input [08/2013 - ]: Procedure

  1. READ VALUE USING TECHSTREAM (INTAKE AIR TEMPERATURE) 
    1. Connect the Techstream to the DLC3.
    2. Turn the ignition switch to ON.
    3. Turn the Techstream on.
    4. Enter the following menus: Powertrain / Engine and ECT / Data List / Intake Air.
    5. Read the value displayed on the Techstream.

      OK

      Same as actual Intake Air Temperature (IAT).

      RESULT

      Result Proceed to
      -40°C (-40°F) A
      Higher than 128°C (262°F) B
      Same as actual IAT C

      HINT: 

      • If there is an open circuit, the Techstream indicates -40°C (-40°F).
      • If there is a short circuit, the Techstream indicates higher than 128°C (262°F).

    B → See step   4 

    C → See step   7 

    A: Go to next step 

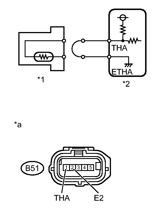
  2. READ VALUE USING TECHSTREAM (CHECK FOR OPEN IN WIRE HARNESS) 
    GTY376058Courtesy of © TOYOTA, LICENSE AGREEMENT TMS1002
    1. Disconnect the Mass Air Flow (MAF) meter connector.
    2. Connect terminals THA and E2 of the MAF meter wire harness side connector.
    3. Connect the Techstream to the DLC3.
    4. Turn the ignition switch to ON.
    5. Turn the Techstream on.
    6. Enter the following menus: Powertrain / Engine and ECT / Data List / Intake Air.
    7. Read the value displayed on the Techstream.

      Standard

      Higher than 128°C (262°F)

      TEXT IN ILLUSTRATION

      *1 MAF Meter
      *2 ECM
      *a Front view of wire harness connector
      (to Mass Air Flow Meter)

      HINT: 

      Perform "Inspection After Repair" after replacing the mass air flow meter. Refer to INITIALIZATION [08/2013 - ] .

    NG → See step   3 

    OK → See step   8 

  3. READ VALUE USING TECHSTREAM (CHECK FOR OPEN IN ECM) 
    GTY367587Courtesy of © TOYOTA, LICENSE AGREEMENT TMS1002
    1. Disconnect the B51 MAF meter connector.
    2. Connect terminals THA and ETHA of the ECM connector.

      HINT: 

      Before checking, do visual and contact pressure checks on the ECM connector.

    3. Connect the Techstream to the DLC3.
    4. Turn the ignition switch to ON.
    5. Turn the Techstream on.
    6. Enter the following menus: Powertrain / Engine and ECT / Data List / Intake Air.
    7. Read the value displayed on the Techstream.

      Standard

      Higher than 128°C (262°F)

      TEXT IN ILLUSTRATION

      *1 MAF Meter
      *2 ECM
      *a Component with harness connected
      (ECM)

    NG → See step   9 

    OK → REPAIR OR REPLACE HARNESS OR CONNECTOR (MASS AIR FLOW METER - ECM) 

  4. READ VALUE USING TECHSTREAM (CHECK FOR SHORT IN WIRE HARNESS) 
    GTY179141Courtesy of © TOYOTA, LICENSE AGREEMENT TMS1002
    1. Disconnect the B51 MAF meter connector.
    2. Connect the Techstream to the DLC3.
    3. Turn the ignition switch to ON.
    4. Turn the Techstream on.
    5. Enter the following menus: Powertrain / Engine and ECT / Data List / Intake Air.
    6. Read the value displayed on the Techstream.

      Standard

      -40°C (-40°F)

      TEXT IN ILLUSTRATION

      *1 MAF Meter
      *2 ECM

      HINT: 

      Perform "Inspection After Repair" after replacing the mass air flow meter. Refer to INITIALIZATION [08/2013 - ] .

    NG → See step   5 

    OK → See step   10 

  5. READ VALUE USING TECHSTREAM (CHECK FOR SHORT ECM) 
    GTY377753Courtesy of © TOYOTA, LICENSE AGREEMENT TMS1002
    1. Disconnect the B51 MAF meter connector.
    2. Disconnect the ECM connector.
    3. Connect the Techstream to the DLC3.
    4. Turn the ignition switch to ON.
    5. Turn the Techstream on.
    6. Enter the following menus: Powertrain / Engine and ECT / Data List / Intake Air.
    7. Read the value displayed on the Techstream.

      Standard

      -40°C (-40°F)

      TEXT IN ILLUSTRATION

      *1 MAF Meter
      *2 ECM
      *a Rear view of wire harness connector
      (to ECM)

    NG → See step   6 

    OK → REPAIR OR REPLACE HARNESS OR CONNECTOR (MASS AIR FLOW METER - ECM) 

  6. REPLACE ECM. Refer to  REMOVAL [08/2013 - ] 
  7. CHECK FOR INTERMITTENT PROBLEMS. Refer to  CHECK FOR INTERMITTENT PROBLEMS [08/2013 - ] 
  8. CONFIRM GOOD CONNECTION TO SENSOR. IF OK, REPLACE MASS AIR FLOW METER. Refer to  REMOVAL [08/2013 - ] 
  9. CONFIRM GOOD CONNECTION TO ECM. IF OK, REPLACE ECM. Refer to  REMOVAL [08/2013 - ] 
  10. REPLACE MASS AIR FLOW METER. Refer to  REMOVAL [08/2013 - ]