LEMON Manuals: Even more car manuals for everyone: 1960-2025
Home >> Toyota >> 2014 >> Prius Plug-in >> Repair and Diagnosis >> External Pages >> Different variant/trim >> Section 140 (Window Defogger System (Diagnostics & Symptom Tests) (Except Plug-In)) >> Window Defogger System >> Symptom Tests >> Rear Window Defogger System does not Operate [10/2013 - ] >> Procedure
April 5, 2026: LEMON Manuals is launched! Read the announcement.

Rear Window Defogger System does not Operate [10/2013 - ]: Procedure

WARNING: This page is about a different variant/trim than selected.
  1. CHECK REAR WINDOW DEFOGGER SYSTEM 
    1. Active the rear defogger system and check the symptoms.

      Result

      Result Proceed to
      Both back window defoggers do not warm up. A
      The back door glass defogger does not warm up. B
      The back window fix glass defogger does not warm up. C

    B → See step   8 

    C → See step   9 

    A: Go to next step 

  2. CHECK POWER STEERING SYSTEM (Battery Voltage Lo Record) 
    1. Connect the Techstream to the DLC3.
    2. Turn the power switch on (IG).
    3. Turn the Techstream on.
    4. Enter the following menus: Chassis / EMPS / Data List.
    5. Read the Data List according to the display on the Techstream.
      EMPS

      Tester Display Measurement item/Range Normal Condition Diagnostic Note
      Battery Voltage Lo Record Battery voltage reduction history/ Min.: 0 times, Max.: 65535 times 0 to 65535 -

      Result

      Result Proceed to
      No control history is stored. A
      Control history is stored. B

    B → See step   10 

    A: Go to next step 

  3. PERFORM ACTIVE TEST USING TECHSTREAM (DEFOGGER RELAY) 
    1. Enter the following menus: Body Electrical / Air Conditioner / Active Test.
    2. Perform the Active Test according to the display on the Techstream.
      AIR CONDITIONER

      Tester Display Test Part Control Range Diagnostic Note
      Defogger Relay (Rear) Rear window defogger ON/OFF -

      OK

      The window defogger system operates normally.

    NG → See step   4 

    OK → See step   11 

  4. CHECK HARNESS AND CONNECTOR (AIR CONDITIONING AMPLIFIER ASSEMBLY - INTEGRATION RELAY) 
    1. Disconnect the 1G integration relay connector.
      GTY225641Courtesy of © TOYOTA, LICENSE AGREEMENT TMS1002
    2. Disconnect the L17 air conditioning amplifier assembly connector.
    3. Measure the resistance according to the value(s) in the table below.

      Standard Resistance

      Tester Connection Condition Specified Condition
      L17-20 (RDEF) - 1G-15 (DEF) Always Below 1 Ω
      1G-15 (DEF) - Body ground Always 10 kΩ or higher
      L17-14 (GND) - Body ground Always Below 1 Ω
      TEXT IN ILLUSTRATION

      *1 Front view of wire harness connector
      (to Air Conditioning Amplifier Assembly)
      *2 Front view of wire harness connector
      (to Integration Relay)

    NG → REPAIR OR REPLACE HARNESS OR CONNECTOR 

    OK: Go to next step 

  5. CHECK AIR CONDITIONING AMPLIFIER ASSEMBLY 
    1. Turn the power switch on (READY).
      GTY214421Courtesy of © TOYOTA, LICENSE AGREEMENT TMS1002
    2. Measure the voltage according to the value(s) in the table below.

      Standard Voltage

      Tester Connection Condition Specified Condition
      L17-20 (RDEF) - L17-14 (GND) Rear defogger switch off 11 to 14 V
      L17-20 (RDEF) - L17-14 (GND) Rear defogger switch on Below 1 V
      TEXT IN ILLUSTRATION

      *1 Rear view of wire harness connector
      (to Air Conditioning Amplifier Assembly)

    NG → See step   13 

    OK: Go to next step 

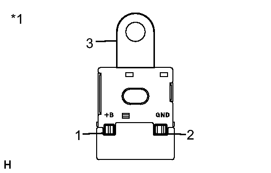
  6. INSPECT RADIO SETTING CONDENSER 
    1. Remove the radio setting condenser.
      GTY225909Courtesy of © TOYOTA, LICENSE AGREEMENT TMS1002
    2. Measure the resistance according to the value(s) in the table below.

      Standard Resistance

      Tester Connection Condition Specified Condition
      1 - 2 Always 10 k Ω or higher
      2 - 3 Always Below 1 Ω
      TEXT IN ILLUSTRATION

      *1 Radio Setting Condenser

    NG → REPLACE RADIO SETTING CONDENSER 

    OK: Go to next step 

  7. CHECK HARNESS AND CONNECTOR (INTEGRATION RELAY - BODY GROUND) 
    1. Disconnect the V1 back door glass battery side connector.
      GTY232445Courtesy of © TOYOTA, LICENSE AGREEMENT TMS1002
    2. Disconnect the V2 back window fix glass battery side connector.
    3. Disconnect the 1I integration relay connector.
    4. Measure the resistance according to the value(s) in the table below.

      Standard Resistance

      Tester Connection Condition Specified Condition
      1I-1 (RDEF) - Body ground Always 10 k Ω or higher
      1I-1 (RDEF) - V1-1 Always Below 1 Ω
      TEXT IN ILLUSTRATION

      *1 Front view of wire harness connector
      (to Integration Relay)
      *2 Front view of wire harness connector
      (to Back Door Glass)

    NG → REPAIR OR REPLACE HARNESS OR CONNECTOR 

    OK → See step   14 

  8. CHECK HARNESS AND CONNECTOR (INTEGRATION RELAY - BACK DOOR GLASS) 
    1. Disconnect the V1 back door glass battery side connector.
      GTY214472Courtesy of © TOYOTA, LICENSE AGREEMENT TMS1002
    2. Disconnect the V10 back door glass body ground side connector.
    3. Measure the resistance according to the value(s) in the table below.

      Standard Resistance

      Tester Connection Condition Specified Condition
      1I-1 (RDEF) - V1-1 Always Below 1 Ω
      V10-1 - Body ground Always Below 1 Ω
      1I-1 (RDEF) - Body ground Always 10 k Ω or higher
      V1-1 - Body ground Always 10 k Ω or higher
      TEXT IN ILLUSTRATION

      *1 Front view of wire harness connector
      (to Integration Relay)
      *2 Front view of wire harness connector
      (to Back Door Glass)
      *3 Back Door Glass Battery Side
      *4 Back Door Glass Body Ground Side

    NG → REPAIR OR REPLACE HARNESS OR CONNECTOR 

    OK → See step   12 

  9. CHECK HARNESS AND CONNECTOR (INTEGRATION RELAY - BACK WINDOW FIX GLASS) 
    1. Disconnect the V2 back window fix glass battery side connector.
      GTY214471Courtesy of © TOYOTA, LICENSE AGREEMENT TMS1002
    2. Disconnect the V8 back window fix glass body ground side connector.
    3. Measure the resistance according to the value(s) in the table below.

      Standard Resistance

      Tester Connection Condition Specified Condition
      1I-1 (RDEF) - V2-1 Always Below 1 Ω
      V8-1 - Body ground Always Below 1 Ω
      1I-1 (RDEF) - Body ground Always 10 k Ω or higher
      V2-1 - Body ground Always 10 k Ω or higher
      TEXT IN ILLUSTRATION

      *1 Front view of wire harness connector
      (to Integration Relay)
      *2 Front view of wire harness connector
      (to Back Door Glass)
      *3 Back Window Fix Glass Battery Side
      *4 Back Window Fix Glass Body Ground Side

    NG → REPAIR OR REPLACE HARNESS OR CONNECTOR 

    OK → See step   15 

  10. GO TO CHARGING SYSTEM. Refer to  ON-VEHICLE INSPECTION [10/2013 - ] 
  11. GO TO AIR CONDITIONING SYSTEM. Refer to  Air Conditioning Control Panel Circuit [10/2013 - ] 
  12. REPLACE BACK DOOR GLASS. Refer to  REMOVAL [10/2013 - ] - Step 11 
  13. REPLACE AIR CONDITIONING AMPLIFIER ASSEMBLY. Refer to  REMOVAL [10/2013 - ] 
  14. REPLACE INTEGRATION NO. 1 RELAY. Refer to  REMOVAL [10/2013 - ] 
  15. REPLACE BACK WINDOW FIX GLASS. Refer to  REMOVAL [10/2013 - ] - Step 20