LEMON Manuals: Even more car manuals for everyone: 1960-2025
Home >> Toyota >> 2014 >> Prius Plug-in >> Repair and Diagnosis >> External Pages >> Different variant/trim >> Section 34 (Engine Control System (Diagnostic Codes & Circuit Tests) (Except Plug-In)) >> SFI System >> DTC P2102: Throttle Actuator Control Motor Circuit Low; DTC P2103: Throttle Actuator Control Motor Circuit High [10/2013 - ] >> Wiring Diagram
April 5, 2026: LEMON Manuals is launched! Read the announcement.

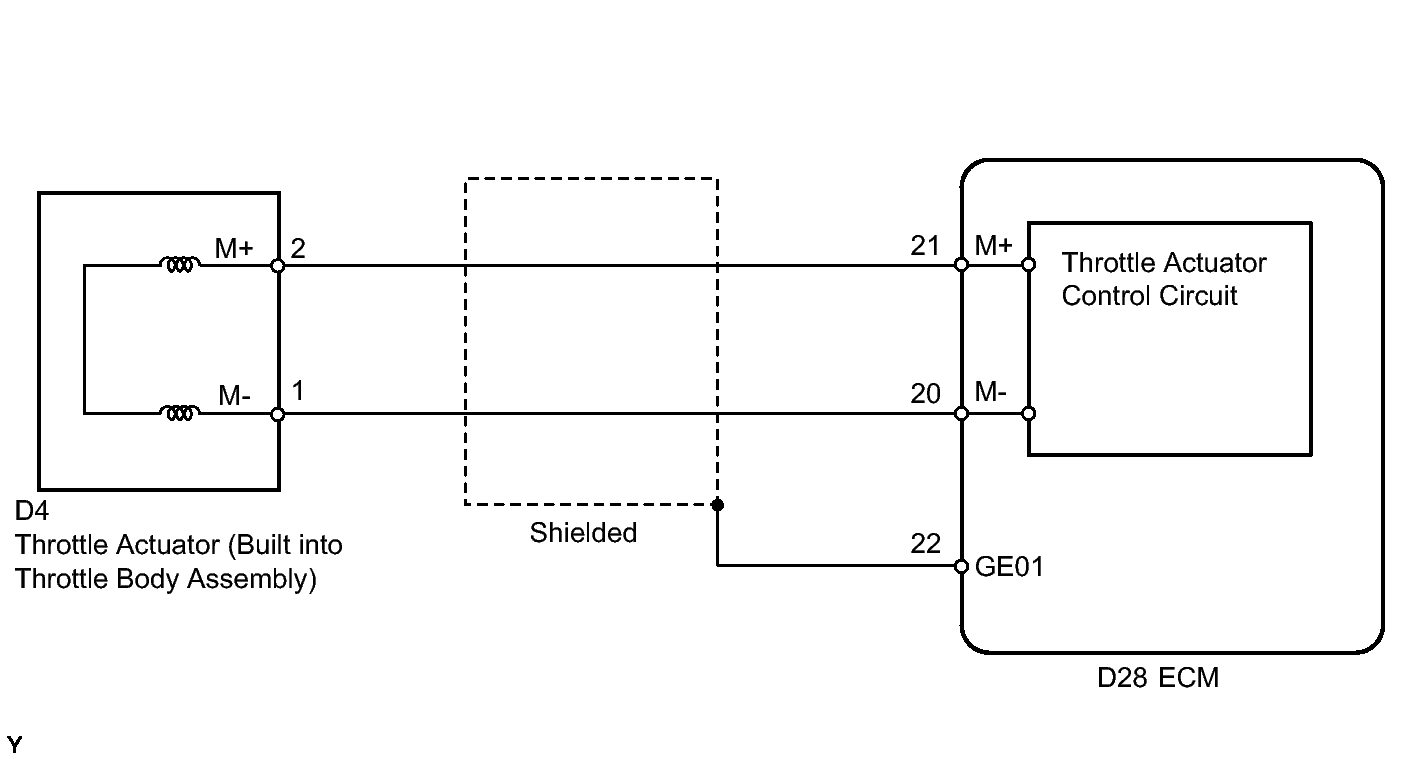
DTC P2102: Throttle Actuator Control Motor Circuit Low; DTC P2103: Throttle Actuator Control Motor Circuit High [10/2013 - ]: Wiring Diagram

WARNING: This page is about a different variant/trim than selected.
Fig 1: View Of Throttle Actuator Wiring Diagram
GTY227692Courtesy of © TOYOTA, LICENSE AGREEMENT TMS1002