LEMON Manuals: Even more car manuals for everyone: 1960-2025
Home >> Toyota >> 2014 >> Prius Three >> Repair and Diagnosis (Single Page) >> Accessories & Equipment >> Communication Devices >> Lin Communication System (Diagnostic Codes) (Except Plug-In) >> Lin Communication System >> DTC B1206: P/W Master Switch Communication Stop [10/2013 - ] >> Procedure
April 5, 2026: LEMON Manuals is launched! Read the announcement.

DTC B1206: P/W Master Switch Communication Stop [10/2013 - ]: Procedure

  1. INSPECT INSTRUMENT PANEL JUNCTION BLOCK ASSEMBLY 
    1. Remove the instrument panel junction block assembly. Refer to REMOVAL [10/2013 - ] .
      GTY230198Courtesy of © TOYOTA, LICENSE AGREEMENT TMS1002
    2. Remove the main body ECU (multiplex network body ECU) from the instrument panel junction block assembly.
    3. Measure the resistance according to the value(s) in the table below.

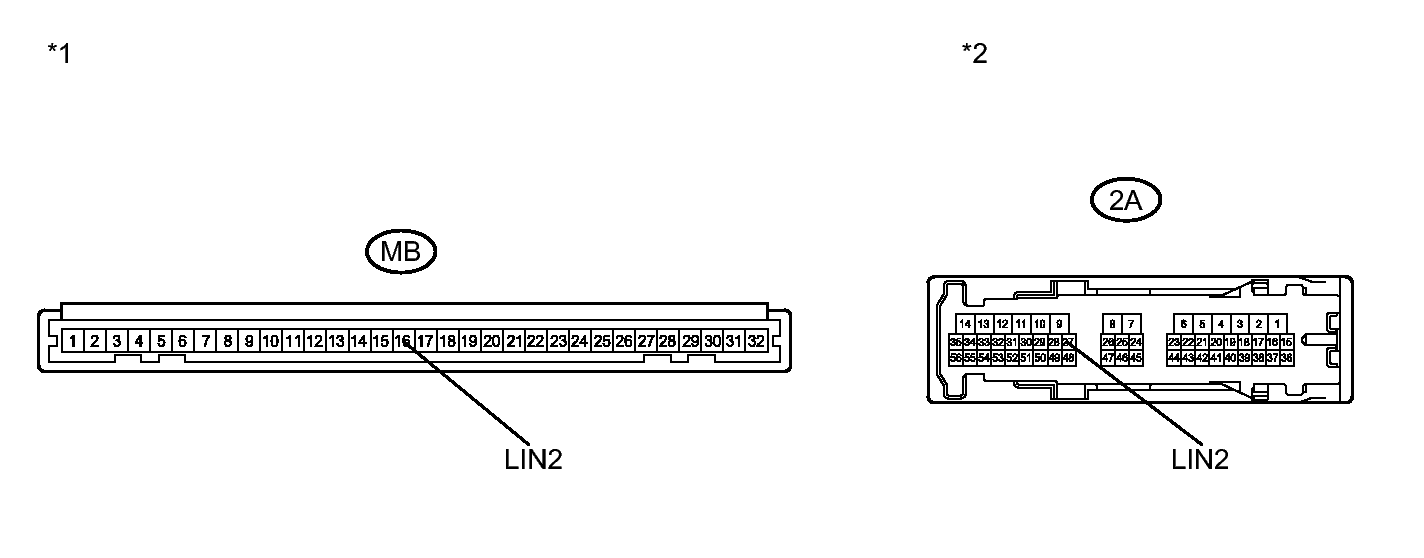
      HINT: 

      This inspection is to check the LIN line in the instrument panel junction block assembly that connects the wire harness to the built-in main body ECU (multiplex network body ECU).

      Standard Resistance

      Tester Connection Condition Specified Condition
      2A-27 (LIN2) - MB-16 (LIN2) Always Below 1 Ω
      2A-27 (LIN2) - Body ground Always 10 kΩ or higher
      TEXT IN ILLUSTRATION

      *1 Component without harness connected
      (Instrument Panel Junction Block Assembly)
      *2 Component without harness connected
      (Instrument Panel Junction Block Assembly)

    NG → See step   6 

    OK: Go to next step 

  2. CHECK HARNESS AND CONNECTOR (MAIN BODY ECU - MULTIPLEX NETWORK MASTER SWITCH) 
    1. Disconnect the O6 multiplex network master switch assembly connector.
      GTY228520Courtesy of © TOYOTA, LICENSE AGREEMENT TMS1002
    2. Measure the resistance according to the value(s) in the table below.

      Standard Resistance

      Tester Connection Condition Specified Condition
      2A-27 (LIN2) - O6-17 (LIN1) Always Below 1 Ω
      2A-27 (LIN2) - Body ground Always 10 kΩ or higher
      TEXT IN ILLUSTRATION

      *1 Front view of wire harness connector
      (to Instrument Panel Junction Block Assembly)
      *2 Front view of wire harness connector
      (to Multiplex Network Master Switch Assembly)

    NG → REPAIR OR REPLACE HARNESS OR CONNECTOR 

    OK: Go to next step 

  3. CHECK HARNESS AND CONNECTOR (MULTIPLEX NETWORK MASTER SWITCH - BATTERY, BODY GROUND) 
    1. Measure the voltage according to the value(s) in the table below.
      GTY222823Courtesy of © TOYOTA, LICENSE AGREEMENT TMS1002

      Standard Voltage

      Tester Connection Condition Specified Condition
      O6-11 (B) - O6-12 (GND) Power switch off 11 to 14 V
    2. Measure the resistance according to the value(s) in the table below.

      Standard Resistance

      Tester Connection Condition Specified Condition
      O6-12 (GND) - Body ground Always Below 1 Ω
      TEXT IN ILLUSTRATION

      *1 Front view of wire harness connector
      (to Multiplex Network Master Switch Assembly)

    NG → REPAIR OR REPLACE HARNESS OR CONNECTOR 

    OK: Go to next step 

  4. REPLACE MULTIPLEX NETWORK MASTER SWITCH ASSEMBLY 
    1. Replace the multiplex network master switch assembly. Refer to REMOVAL [10/2013 - ] .

    NEXT: Go to next step 

  5. CHECK DTC OUTPUT 
    1. Clear the DTC. Refer to DTC CHECK / CLEAR [10/2013 - ] .
    2. Recheck for DTCs.

      OK

      DTC B1206 is not output.

    NG → See step   7 

    OK → END (MULTIPLEX NETWORK MASTER SWITCH WAS DEFECTIVE) 

  6. REPLACE INSTRUMENT PANEL JUNCTION BLOCK ASSEMBLY. Refer to  REMOVAL [10/2013 - ] 
  7. REPLACE MAIN BODY ECU (MULTIPLEX NETWORK BODY ECU). Refer to  REMOVAL [10/2013 - ]