LEMON Manuals: Even more car manuals for everyone: 1960-2025
Home >> Toyota >> 2014 >> Prius Three >> Repair and Diagnosis (Single Page) >> Hybrid/Electric Powertrain >> Testing and Diagnosis >> Hybrid Control System (Diagnostic Codes & Circuit Tests) (Except Plug-In) >> Hybrid Control System >> Circuit Tests >> Pattern Select Switch EV Mode Circuit [10/2013 - ] >> Procedure
April 5, 2026: LEMON Manuals is launched! Read the announcement.

Pattern Select Switch EV Mode Circuit [10/2013 - ]: Procedure

  1. ASK ABOUT VEHICLE CONDITION 
    1. Check if a buzzer sounded and a message was displayed on the multi-information display when attempting to enter EV mode.

      Result

      Result Proceed to
      No buzzer sounded and no message was displayed on multi-information display. A
      A buzzer sounded and a message was displayed on multi-information display. B

      HINT: 

      If a buzzer sounds and a message is displayed on multi-information display, one or more of the EV mode entry conditions have not been met. Check that all of the EV mode entry conditions have been met before pressing the EV drive mode switch.

    B → COMPLETED 

    A: Go to next step 

  2. READ VALUE USING TECHSTREAM (CAN BUS CHECK) 
    1. Connect the Techstream to the DLC3.
    2. Turn the power switch on (IG).
    3. Enter the following menus: System Select / CAN Bus Check.

      Result

      Result Proceed to
      All of the ECUs and sensors that are currently connected to the CAN communication system are displayed. A
      None of the ECUs and sensors that are currently connected to the CAN communication system are displayed, or some of them are not displayed. B
    4. Turn the power switch off.

    B → See step   11 

    A: Go to next step 

  3. CHECK DTC OUTPUT (HEALTH CHECK) 
    1. Connect the Techstream to the DLC3.
    2. Turn the power switch on (IG).
    3. Enter the following menus: System Select / Health Check.
    4. Check DTCs.
      RESULT

      Result Proceed to
      No DTCs are output. A
      DTCs are output. B
    5. Turn the power switch off.

    B → GO TO DTC CHART 

    A: Go to next step 

  4. PERFORM ACTIVE TEST USING TECHSTREAM (INDICAT. EV MODE) 
    1. Connect the Techstream to the DLC3.
    2. Turn the power switch on (READY).
    3. Enter the following menus: Body Electrical / Combination Meter / Active Test / Indicat. EV Mode.
    4. Perform the "Indicat. EV Mode" Active Test.

      OK

      The EV mode indicator light comes on or blinks.

    5. Turn the power switch off.

    NG → See step   12 

    OK: Go to next step 

  5. READ VALUE USING TECHSTREAM (EV REQUEST, EV SWITCH) 
    1. Connect the Techstream to the DLC3.
    2. Turn the power switch on (IG).
    3. Enter the following menus: Powertrain / Hybrid Control / Data List / EV request, EV Switch.
    4. Read the value displayed on the Techstream.
      Tester Display Measurement Item/Range Normal Condition
      EV request EV mode transition availability/ ON or OFF In EV mode: ON
      EV Switch EV drive mode switch (Integration control and panel sub-assembly) condition/ ON or OFF EV drive mode switch (Integration control and panel sub-assembly) being pushed and held: ON

      Result

      Result Proceed to
      The Techstream display changes according to the EV drive mode switch (Integration control and panel sub-assembly) operation. A
      The Techstream display does not change according to the EV drive mode switch (Integration control and panel sub-assembly) operation. B
    5. Turn the power switch off.

    B → See step   6 

    A → See step   10 

  6. INSPECT INTEGRATION CONTROL AND PANEL SUB-ASSEMBLY (EV DRIVE MODE SWITCH) 
    1. Remove the integration control and panel sub-assembly (EV drive mode switch).
      GTY223480Courtesy of © TOYOTA, LICENSE AGREEMENT TMS1002
    2. Measure the resistance according to the value(s) in the table below.

      Standard Resistance

      Tester Connection Condition Specified Condition
      L78-3 (S) - L78-5 (E) EV drive mode switch (Integration control and panel sub-assembly) being pushed and held Below 1 Ω
      EV drive mode switch (Integration control and panel sub-assembly) not pushed 10 kΩ or higher
      TEXT IN ILLUSTRATION

      *1 Component without harness connected
      (EV Drive Mode Switch (Integration Control and Panel Sub-assembly))
    3. Install the integration control and panel sub-assembly.

    NG → See step   9 

    OK: Go to next step 

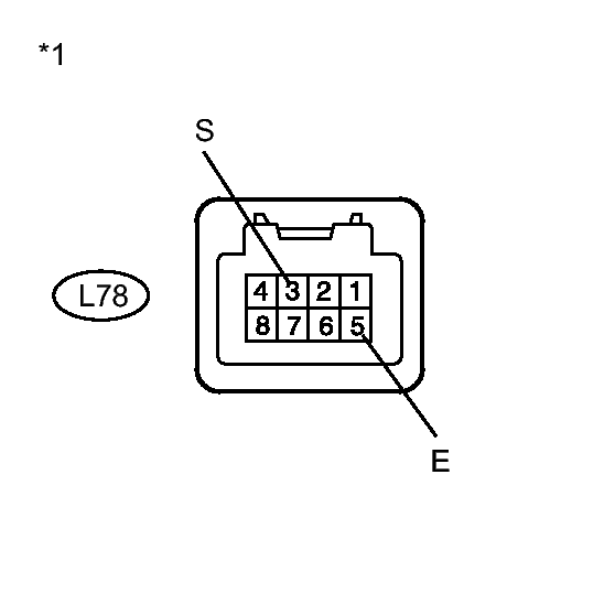
  7. CHECK HARNESS AND CONNECTOR (EV DRIVE MODE SWITCH - BODY GROUND) 
    1. Disconnect connector L78 from the integration control and panel sub-assembly (EV drive mode switch).
    2. Measure the resistance according to the value(s) in the table below.
      GTY230476Courtesy of © TOYOTA, LICENSE AGREEMENT TMS1002

      Standard Resistance

      Tester Connection Condition Specified Condition
      L78-5 (E) - Body ground Always Below 1 Ω
      TEXT IN ILLUSTRATION

      *1 Front view of wire harness connector
      (to EV Drive Mode Switch (Integration Control and Panel Sub-assembly))
    3. Connect the integration control and panel sub-assembly connector.

    NG → REPAIR OR REPLACE HARNESS OR CONNECTOR 

    OK → See step   13 

  8. CHECK HARNESS AND CONNECTOR (EV DRIVE MODE SWITCH - POWER MANAGEMENT CONTROL ECU) 
    1. Disconnect connector L78 from the integration control and panel sub-assembly (EV drive mode switch).
    2. Disconnect connector L5 from the power management control ECU.
    3. Measure the resistance according to the value(s) in the table below.
      GTY215794Courtesy of © TOYOTA, LICENSE AGREEMENT TMS1002

      Standard Resistance

      Tester Connection Condition Specified Condition
      L78-3 (S) - L5-13 (EVSW) Always Below 1 Ω
      L78-3 (S) or L5-13 (EVSW) - Body ground Always 10 kΩ or higher
      TEXT IN ILLUSTRATION

      *1 Front view of wire harness connector
      (to EV Drive Mode Switch (Integration Control and Panel Sub-assembly))
      *2 Rear view of wire harness connector
      (to Power Management Control ECU)
    4. Connect the integration control and panel sub-assembly connector.
    5. Connect the power management control ECU connector.

    NG → REPAIR OR REPLACE HARNESS OR CONNECTOR 

    OK → See step   13 

  9. REPLACE INTEGRATION CONTROL AND PANEL SUB-ASSEMBLY (EV DRIVE MODE SWITCH). Refer to  COMPONENTS [10/2013 - ] 
  10. CHECK FOR INTERMITTENT PROBLEMS. Refer to  CHECK FOR INTERMITTENT PROBLEMS [10/2013 - ] 
  11. GO TO CAN COMMUNICATION SYSTEM. Refer to  HOW TO PROCEED WITH TROUBLESHOOTING [10/2013 - ] 
  12. CHECK METER / GAUGE SYSTEM. Refer to  PROBLEM SYMPTOMS TABLE [10/2013 - ] 
  13. REPLACE POWER MANAGEMENT CONTROL ECU. Refer to  COMPONENTS [10/2013 - ]