LEMON Manuals: Even more car manuals for everyone: 1960-2025
Home >> Toyota >> 2014 >> Prius Two >> Repair and Diagnosis (Single Page) >> Hybrid/Electric Powertrain >> Testing and Diagnosis >> Hybrid Control System (Diagnostic Codes (P0069-273 - P0A72-326) (Except Plug-In) >> Hybrid Control System >> DTC P0A1A-200: Generator Control Module; DTC P0A1A-792: Generator Control Module; DTC P0A1A-793: Generator Control Module [10/2013 - ] >> Wiring Diagram
April 5, 2026: LEMON Manuals is launched! Read the announcement.

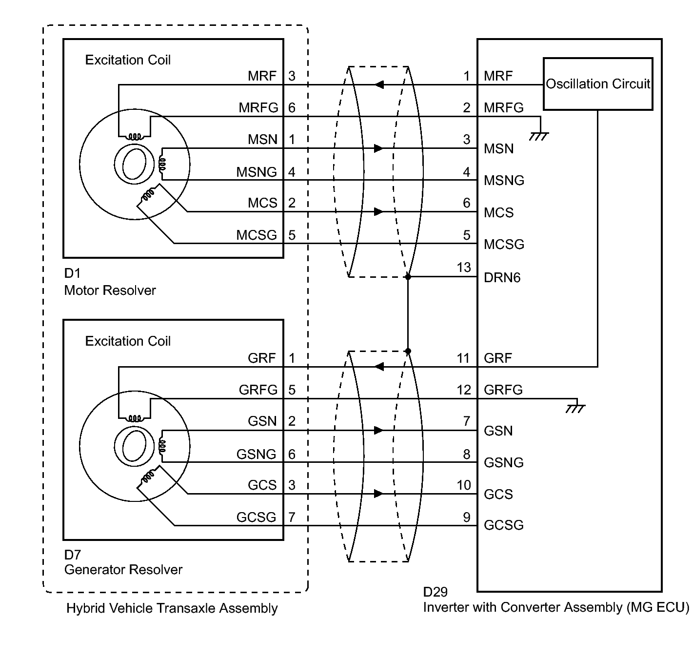
DTC P0A1A-200: Generator Control Module; DTC P0A1A-792: Generator Control Module; DTC P0A1A-793: Generator Control Module [10/2013 - ]: Wiring Diagram

Fig 1: Hybrid Vehicle Transaxle Assembly - Wiring Diagram
GTY450002Courtesy of © TOYOTA, LICENSE AGREEMENT TMS1002