LEMON Manuals: Even more car manuals for everyone: 1960-2025
Home >> Toyota >> 2014 >> Prius Two >> Repair and Diagnosis (Single Page) >> Restraints >> Air Bag, SRS >> Occupant Classification System (Diagnostic Codes & Symptom Tests) (Except Plug-In) >> Occupant Classification System >> DTC B1771: Passenger Side Buckle Switch Circuit Malfunction [10/2013 - ] >> Procedure
April 5, 2026: LEMON Manuals is launched! Read the announcement.

DTC B1771: Passenger Side Buckle Switch Circuit Malfunction [10/2013 - ]: Procedure

  1. CHECK CONNECTORS 
    1. Turn the power switch off.
    2. Disconnect the cable from the negative (-) auxiliary battery terminal.
    3. Check that the connectors are properly connected to the occupant classification ECU and front seat inner belt assembly RH.

      OK

      The connectors are properly connected.

      HINT: 

      If the connectors are not connected securely, reconnect the connectors and proceed to the next inspection.

    4. Disconnect the connectors from the occupant classification ECU and front seat inner belt assembly RH.
    5. Check that the terminals of connectors are not damaged.

      OK

      The terminals are not deformed or damaged.

    NG → REPLACE FRONT SEAT WIRE RH 

    OK: Go to next step 

  2. CHECK FRONT SEAT WIRE RH (SHORT TO B+) 
    1. Connect the cable to the negative (-) auxiliary battery terminal.
      GTY213074Courtesy of © TOYOTA, LICENSE AGREEMENT TMS1002
    2. Turn the power switch on (IG).
    3. Measure the voltage according to the value(s) in the table below.

      Standard Voltage

      Tester Connection Condition Specified Condition
      W3-9 (BSW) - Body ground Power switch on (IG) Below 1 V
      W3-5 (BGND) - Body ground Power switch on (IG) Below 1 V
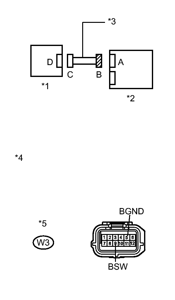
      TEXT IN ILLUSTRATION

      *1 Front Seat Inner Belt Assembly RH
      *2 Occupant Classification ECU
      *3 Front Seat Wire RH
      *4 Front view of wire harness connector
      (to Occupant Classification ECU)
      *5 Connector B

    NG → REPLACE FRONT SEAT WIRE RH 

    OK: Go to next step 

  3. CHECK FRONT SEAT WIRE RH (OPEN) 
    1. Turn the power switch off.
      GTY223650Courtesy of © TOYOTA, LICENSE AGREEMENT TMS1002
    2. Disconnect the cable from the negative (-) auxiliary battery terminal.
    3. Using SST, connect terminals 1 (BSW) and 2 (BGND) of connector C.
      NOTE:

      Do not forcibly insert SST into the terminals of the connector when connecting.

      • SST: 09843-18040 
    4. Measure the resistance according to the value(s) in the table below.

      Standard Resistance

      Tester Connection Condition Specified Condition
      W3-9 (BSW) - W3-5 (BGND) Always Below 1 Ω
      TEXT IN ILLUSTRATION

      *1 Front Seat Inner Belt Assembly RH *2 Occupant Classification ECU
      *3 Front Seat Wire RH *4 Front view of wire harness connector
      (to Occupant Classification ECU)
      *5 Front view of wire harness connector
      (to Front Seat Inner Belt Assembly RH)
      *6 Connector B
      *7 Connector C - -

    NG → REPLACE FRONT SEAT WIRE RH 

    OK: Go to next step 

  4. CHECK FRONT SEAT WIRE RH (SHORT) 
    1. Disconnect SST from connector C.
      GTY213074Courtesy of © TOYOTA, LICENSE AGREEMENT TMS1002
    2. Measure the resistance according to the value(s) in the table below.

      Standard Resistance

      Tester Connection Condition Specified Condition
      W3-9 (BSW) - W3-5 (BGND) Always 1 MΩ or higher
      TEXT IN ILLUSTRATION

      *1 Front Seat Inner Belt Assembly RH
      *2 Occupant Classification ECU
      *3 Front Seat Wire RH
      *4 Front view of wire harness connector
      (to Occupant Classification ECU)
      *5 Connector B

    NG → REPLACE FRONT SEAT WIRE RH 

    OK: Go to next step 

  5. CHECK FRONT SEAT WIRE RH (SHORT TO GROUND) 
    1. Measure the resistance according to the value(s) in the table below.
      GTY213074Courtesy of © TOYOTA, LICENSE AGREEMENT TMS1002

      Standard Resistance

      Tester Connection Condition Specified Condition
      W3-9 (BSW) - Body ground Always 1 MΩ or higher
      W3-5 (BGND) - Body ground Always 1 MΩ or higher
      TEXT IN ILLUSTRATION

      *1 Front Seat Inner Belt Assembly RH
      *2 Occupant Classification ECU
      *3 Front Seat Wire RH
      *4 Front view of wire harness connector
      (to Occupant Classification ECU)
      *5 Connector B

    NG → REPLACE FRONT SEAT WIRE RH 

    OK: Go to next step 

  6. CHECK DTC 
    1. Connect the connectors to the occupant classification ECU and front seat inner belt assembly RH.
    2. Connect the cable to the negative (-) auxiliary battery terminal.
    3. Turn the power switch on (IG).
    4. Clear the DTCs stored in the occupant classification ECU. Refer to DTC CHECK / CLEAR [10/2013 - ] .
    5. Clear the DTCs stored in the center airbag sensor assembly. Refer to DTC CHECK / CLEAR [10/2013 - ] .
    6. Turn the power switch off.
    7. Turn the power switch on (IG).
    8. Check for DTCs. Refer to DTC CHECK / CLEAR [10/2013 - ] .

      OK

      DTC B1771 is not output.

      HINT: 

      Codes other than DTC B1771 may be output at this time, but they are not related to this check.

    NG → See step   7 

    OK → See step   11 

  7. REPLACE FRONT SEAT INNER BELT ASSEMBLY RH 
    1. Turn the power switch off.
    2. Disconnect the cable from the negative (-) auxiliary battery terminal.
    3. Replace the front seat inner belt assembly RH. Refer to REMOVAL [10/2013 - ] .

      HINT: 

      Perform the inspection using parts from a normal vehicle if possible.

    4. Connect the cable to the negative (-) auxiliary battery terminal.
    5. Turn the power switch on (IG).
    6. Clear the DTCs stored in the occupant classification ECU. Refer to DTC CHECK / CLEAR [10/2013 - ] .
    7. Clear the DTCs stored in the center airbag sensor assembly. Refer to DTC CHECK / CLEAR [10/2013 - ] .
    8. Turn the power switch off.
    9. Turn the power switch on (IG).
    10. Check for DTCs. Refer to DTC CHECK / CLEAR [10/2013 - ] .

      OK

      DTC B1771 is not output.

      HINT: 

      Codes other than DTC B1771 may be output at this time, but they are not related to this check.

    NG → See step   8 

    OK → END 

  8. REPLACE OCCUPANT CLASSIFICATION ECU 
    1. Turn the power switch off.
    2. Disconnect the cable from the negative (-) auxiliary battery terminal.
    3. Replace the occupant classification ECU. Refer to REMOVAL [10/2013 - ] .

    NEXT: Go to next step 

  9. PERFORM ZERO POINT CALIBRATION 
    1. Connect the cable to the negative (-) auxiliary battery terminal.
    2. Connect the Techstream to the DLC3.
    3. Turn the power switch on (IG).
    4. Using the Techstream, perform Zero Point Calibration. Refer to INITIALIZATION [10/2013 - ] .

      OK

      "Zero Point Calibration is complete." is displayed.

    NEXT: Go to next step 

  10. PERFORM SENSITIVITY CHECK 
    1. Using the Techstream, perform Sensitivity Check. Refer to INITIALIZATION [10/2013 - ] .

      Standard

      27 to 33 kg (59.5 to 72.8 lb)

    NEXT → END 

  11. USE SIMULATION METHOD TO CHECK. Refer to  HOW TO PROCEED WITH TROUBLESHOOTING [10/2013 - ]