LEMON Manuals: Even more car manuals for everyone: 1960-2025
Home >> Toyota >> 2014 >> Prius Two >> Repair and Diagnosis (Single Page) >> Restraints >> Air Bag, SRS >> Occupant Classification System (Diagnostic Codes & Symptom Tests) (Except Plug-In) >> Occupant Classification System >> DTC B1790: Center Airbag Sensor Assembly Communication Circuit Malfunction [10/2013 - ] >> Procedure
April 5, 2026: LEMON Manuals is launched! Read the announcement.

DTC B1790: Center Airbag Sensor Assembly Communication Circuit Malfunction [10/2013 - ]: Procedure

  1. CHECK CONNECTORS 
    1. Turn the power switch off.
    2. Disconnect the cable from the negative (-) auxiliary battery terminal.
      WARNING:

      Wait at least 90 seconds after disconnecting the cable from the negative (-) auxiliary battery terminal to disable the SRS system.

    3. Check that the connectors are properly connected to the center airbag sensor assembly and occupant classification ECU. Also check that the connectors that link the front seat wire RH and No. 2 floor wire are properly connected.

      OK

      The connectors are properly connected.

      HINT: 

      If the connectors are not connected securely, reconnect the connectors and proceed to the next inspection.

    4. Disconnect the connectors from the center airbag sensor assembly and occupant classification ECU. Also disconnect the connectors that link the front seat wire RH and No. 2 floor wire.
    5. Check that the terminals of connectors are not damaged.

      OK

      The terminals are not deformed or damaged.

    NG → REPLACE WIRE HARNESS 

    OK: Go to next step 

  2. CHECK OCCUPANT CLASSIFICATION SYSTEM CIRCUIT (SHORT TO B+) 
    1. Connect the cable to the negative (-) auxiliary battery terminal.
      GTY214856Courtesy of © TOYOTA, LICENSE AGREEMENT TMS1002
    2. Turn the power switch on (IG).
    3. Measure the voltage according to the value(s) in the table below.

      Standard Voltage

      Tester Connection Condition Specified Condition
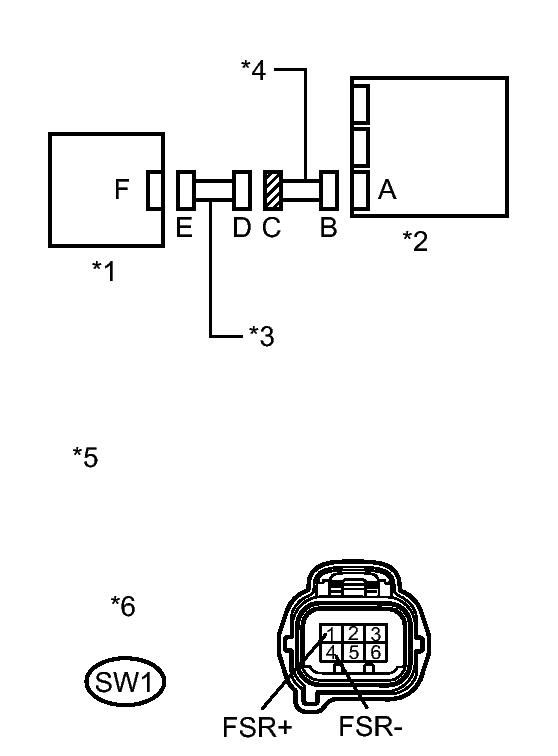
      W3-8 (FSR+) - Body ground Power switch on (IG) Below 1 V
      W3-4 (FSR-) - Body ground Power switch on (IG) Below 1 V
      TEXT IN ILLUSTRATION

      *1 Occupant Classification ECU
      *2 Center Airbag Sensor Assembly
      *3 Front view of wire harness connector
      (to Occupant Classification ECU)
      *4 Connector E

    NG → See step   11 

    OK: Go to next step 

  3. CHECK OCCUPANT CLASSIFICATION SYSTEM CIRCUIT (OPEN) 
    1. Turn the power switch off.
      GTY233934Courtesy of © TOYOTA, LICENSE AGREEMENT TMS1002
    2. Disconnect the cable from the negative (-) auxiliary battery terminal.
      WARNING:

      Wait at least 90 seconds after disconnecting the cable from the negative (-) auxiliary battery terminal to disable the SRS system.

    3. Using SST, connect terminals 12 (FSR+) and 13 (FSR-) of connector B.
      NOTE:

      Do not forcibly insert SST into the terminals of the connector when connecting.

      • SST: 09843-18040 
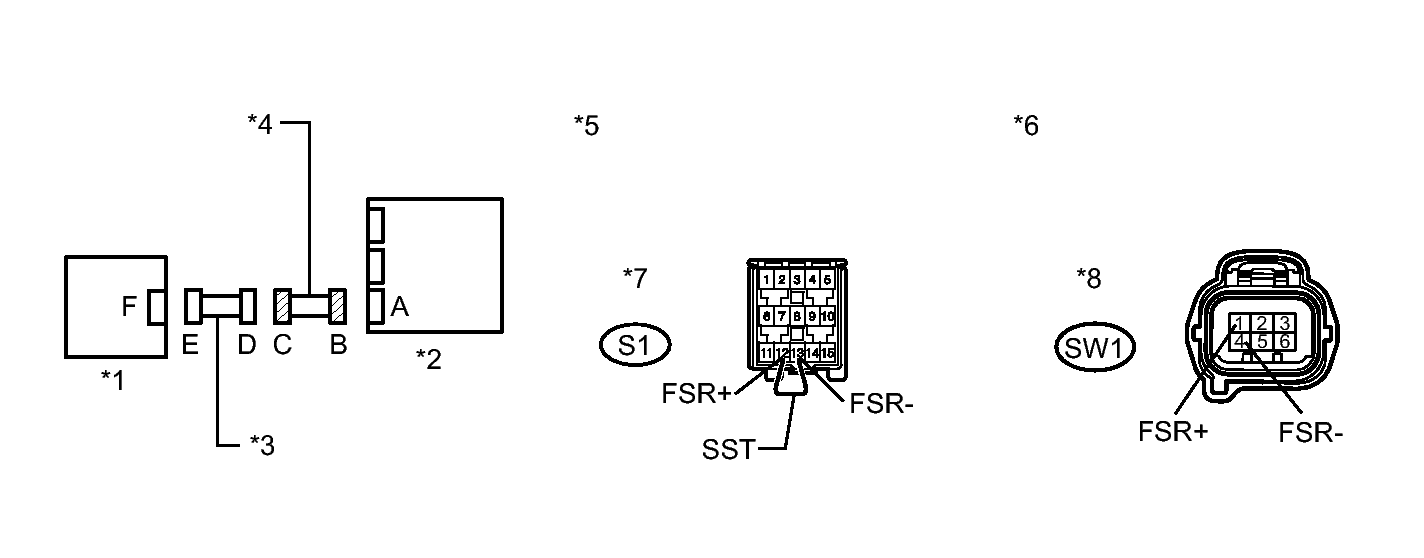
    4. Measure the resistance according to the value(s) in the table below.

      Standard Resistance

      Tester Connection Condition Specified Condition
      W3-8 (FSR+) - W3-4 (FSR-) Always Below 1 Ω
      TEXT IN ILLUSTRATION

      *1 Occupant Classification ECU *2 Center Airbag Sensor Assembly
      *3 Front view of wire harness connector
      (to Center Airbag Sensor Assembly)
      *4 Front view of wire harness connector
      (to Occupant Classification ECU)
      *5 Connector B *6 Connector E

    NG → See step   12 

    OK: Go to next step 

  4. CHECK OCCUPANT CLASSIFICATION SYSTEM CIRCUIT (SHORT) 
    1. Disconnect SST from connector B.
      GTY214856Courtesy of © TOYOTA, LICENSE AGREEMENT TMS1002
    2. Measure the resistance according to the value(s) in the table below.

      Standard Resistance

      Tester Connection Condition Specified Condition
      W3-8 (FSR+) - W3-4 (FSR-) Always 1 MΩ or higher
      TEXT IN ILLUSTRATION

      *1 Occupant Classification ECU
      *2 Center Airbag Sensor Assembly
      *3 Front view of wire harness connector
      (to Occupant Classification ECU)
      *4 Connector E

    NG → See step   13 

    OK: Go to next step 

  5. CHECK OCCUPANT CLASSIFICATION SYSTEM CIRCUIT (SHORT TO GROUND) 
    1. Measure the resistance according to the value(s) in the table below.
      GTY214856Courtesy of © TOYOTA, LICENSE AGREEMENT TMS1002

      Standard Resistance

      Tester Connection Condition Specified Condition
      W3-8 (FSR+) - Body ground Always 1 MΩ or higher
      W3-4 (FSR-) - Body ground Always 1 MΩ or higher
      TEXT IN ILLUSTRATION

      *1 Occupant Classification ECU
      *2 Center Airbag Sensor Assembly
      *3 Front view of wire harness connector
      (to Occupant Classification ECU)
      *4 Connector E

    NG → See step   14 

    OK: Go to next step 

  6. CHECK DTC 
    1. Connect the connectors to the occupant classification ECU and center airbag sensor assembly.
    2. Connect the Techstream to the DLC3.
    3. Connect the cable to the negative (-) auxiliary battery terminal.
    4. Turn the power switch on (IG).
    5. Clear the DTCs stored in the occupant classification ECU. Refer to DTC CHECK / CLEAR [10/2013 - ] .
    6. Clear the DTCs stored in the center airbag sensor assembly. Refer to DTC CHECK / CLEAR [10/2013 - ] .
    7. Turn the power switch off.
    8. Turn the power switch on (IG).
    9. Check for DTCs. Refer to DTC CHECK / CLEAR [10/2013 - ] .

      OK

      DTC B1790 is not output.

      HINT: 

      Codes other than DTC B1790 may be output at this time, but they are not related to this check.

    NG → See step   7 

    OK → See step   15 

  7. REPLACE OCCUPANT CLASSIFICATION ECU 
    1. Turn the power switch off.
    2. Disconnect the cable from the negative (-) auxiliary battery terminals.
      WARNING:

      Wait at least 90 seconds after disconnecting the cable from the negative (-) auxiliary battery terminal to disable the SRS system.

    3. Replace the occupant classification ECU. Refer to REMOVAL [10/2013 - ] .

      HINT: 

      Perform the inspection using parts from a normal vehicle if possible.

    NEXT: Go to next step 

  8. RECHECK DTC 
    1. Turn the power switch on (IG).
    2. Clear the DTCs stored in the occupant classification ECU. Refer to DTC CHECK / CLEAR [10/2013 - ] .
    3. Clear the DTCs stored in the center airbag sensor assembly. Refer to DTC CHECK / CLEAR [10/2013 - ] .
    4. Turn the power switch off.
    5. Turn the power switch on (IG).
    6. Check for DTCs. Refer to DTC CHECK / CLEAR [10/2013 - ] .

      OK

      DTC B1790 is not output.

      HINT: 

      Codes other than DTC B1790 may be output at this time, but they are not related to this check.

    NG → See step   16 

    OK: Go to next step 

  9. PERFORM ZERO POINT CALIBRATION 
    1. Connect the cable to the negative (-) auxiliary battery terminal.
    2. Connect the Techstream to the DLC3.
    3. Turn the power switch on (IG).
    4. Using the Techstream, perform Zero Point Calibration. Refer to INITIALIZATION [10/2013 - ] .

      OK

      "Zero Point Calibration is complete." is displayed.

    NEXT: Go to next step 

  10. PERFORM SENSITIVITY CHECK 
    1. Using the Techstream, perform Sensitivity Check. Refer to INITIALIZATION [10/2013 - ] .

      Standard

      27 to 33 kg (59.5 to 72.8 lb)

    NEXT → END 

  11. CHECK NO. 2 FLOOR WIRE (SHORT TO B+) 
    1. Turn the power switch off.
      GTY221606Courtesy of © TOYOTA, LICENSE AGREEMENT TMS1002
    2. Disconnect the cable from the negative (-) auxiliary battery terminal.
      WARNING:

      Wait at least 90 seconds after disconnecting the cable from the negative (-) auxiliary battery terminal to disable the SRS system.

    3. Disconnect the front seat wire RH connector from the No. 2 floor wire.
    4. Connect the cable to the negative (-) auxiliary battery terminal.
    5. Turn the power switch on (IG).
    6. Measure the voltage according to the value(s) in the table below.

      Standard Voltage

      Tester Connection Condition Specified Condition
      SW1-1 (FSR+) - Body ground Power switch on (IG) Below 1 V
      SW1-4 (FSR-) - Body ground Power switch on (IG) Below 1 V
      TEXT IN ILLUSTRATION

      *1 Occupant Classification ECU
      *2 Center Airbag Sensor Assembly
      *3 Front Seat Wire RH
      *4 No. 2 Floor Wire
      *5 Front view of wire harness connector
      (to Front Seat Wire RH)
      *6 Connector C

    NG → REPLACE NO. 2 FLOOR WIRE 

    OK → REPLACE FRONT SEAT WIRE RH 

  12. CHECK NO. 2 FLOOR WIRE (OPEN) 
    1. Disconnect the front seat wire RH connector from the No. 2 floor wire.
      GTY234932Courtesy of © TOYOTA, LICENSE AGREEMENT TMS1002

      HINT: 

      SST has already been inserted into connector B.

    2. Measure the resistance according to the value(s) in the table below.

      Standard Resistance

      Tester Connection Condition Specified Condition
      SW1-1 (FSR+) - SW1-4 (FSR-) Always Below 1 Ω
      TEXT IN ILLUSTRATION

      *1 Occupant Classification ECU *2 Center Airbag Sensor Assembly
      *3 Front Seat Wire RH *4 No. 2 Floor Wire
      *5 Front view of wire harness connector
      (to Center Airbag Sensor Assembly)
      *6 Front view of wire harness connector
      (to Front Seat Wire RH)
      *7 Connector B *8 Connector C

    NG → REPLACE NO. 2 FLOOR WIRE 

    OK → REPLACE FRONT SEAT WIRE RH 

  13. CHECK NO. 2 FLOOR WIRE (SHORT) 
    1. Disconnect the front seat wire RH connector from the No. 2 floor wire.
      GTY221606Courtesy of © TOYOTA, LICENSE AGREEMENT TMS1002
    2. Measure the resistance according to the value(s) in the table below.

      Standard Resistance

      Tester Connection Condition Specified Condition
      SW1-1 (FSR+) - SW1-4 (FSR-) Always 1 MΩ or higher
      TEXT IN ILLUSTRATION

      *1 Occupant Classification ECU
      *2 Center Airbag Sensor Assembly
      *3 Front Seat Wire RH
      *4 No. 2 Floor Wire
      *5 Front view of wire harness connector
      (to Front Seat Wire RH)
      *6 Connector C

    NG → REPLACE NO. 2 FLOOR WIRE 

    OK → REPLACE FRONT SEAT WIRE RH 

  14. CHECK NO. 2 FLOOR WIRE (SHORT TO GROUND) 
    1. Disconnect the front seat wire RH connector from the No. 2 floor wire.
      GTY221606Courtesy of © TOYOTA, LICENSE AGREEMENT TMS1002
    2. Measure the resistance according to the value(s) in the table below.

      Standard Resistance

      Tester Connection Condition Specified Condition
      SW1-1 (FSR+) - Body ground Always 1 MΩ or higher
      SW1-4 (FSR-) - Body ground Always 1 MΩ or higher
      TEXT IN ILLUSTRATION

      *1 Occupant Classification ECU
      *2 Center Airbag Sensor Assembly
      *3 Front Seat Wire RH
      *4 No. 2 Floor Wire
      *5 Front view of wire harness connector
      (to Front Seat Wire RH)
      *6 Connector C

    NG → REPLACE NO. 2 FLOOR WIRE 

    OK → REPLACE FRONT SEAT WIRE RH 

  15. USE SIMULATION METHOD TO CHECK. Refer to  HOW TO PROCEED WITH TROUBLESHOOTING [10/2013 - ] 
  16. REPLACE CENTER AIRBAG SENSOR ASSEMBLY. Refer to  REMOVAL [10/2013 - ]