LEMON Manuals: Even more car manuals for everyone: 1960-2025
Home >> Toyota >> 2014 >> Prius Two >> Repair and Diagnosis >> External Pages >> Different variant/trim >> Section 123 (Lin Communication System (Diagnostic Codes) (Plug-In)) >> Lin Communication System >> DTC B2323: Rear Door RH ECU Communication Stop [10/2013 - ] >> Procedure
April 5, 2026: LEMON Manuals is launched! Read the announcement.

DTC B2323: Rear Door RH ECU Communication Stop [10/2013 - ]: Procedure

WARNING: This page is about a different variant/trim than selected.
  1. INSPECT INSTRUMENT PANEL JUNCTION BLOCK ASSEMBLY 
    1. Remove the instrument panel junction block assembly. Refer to REMOVAL [10/2013 - ] .
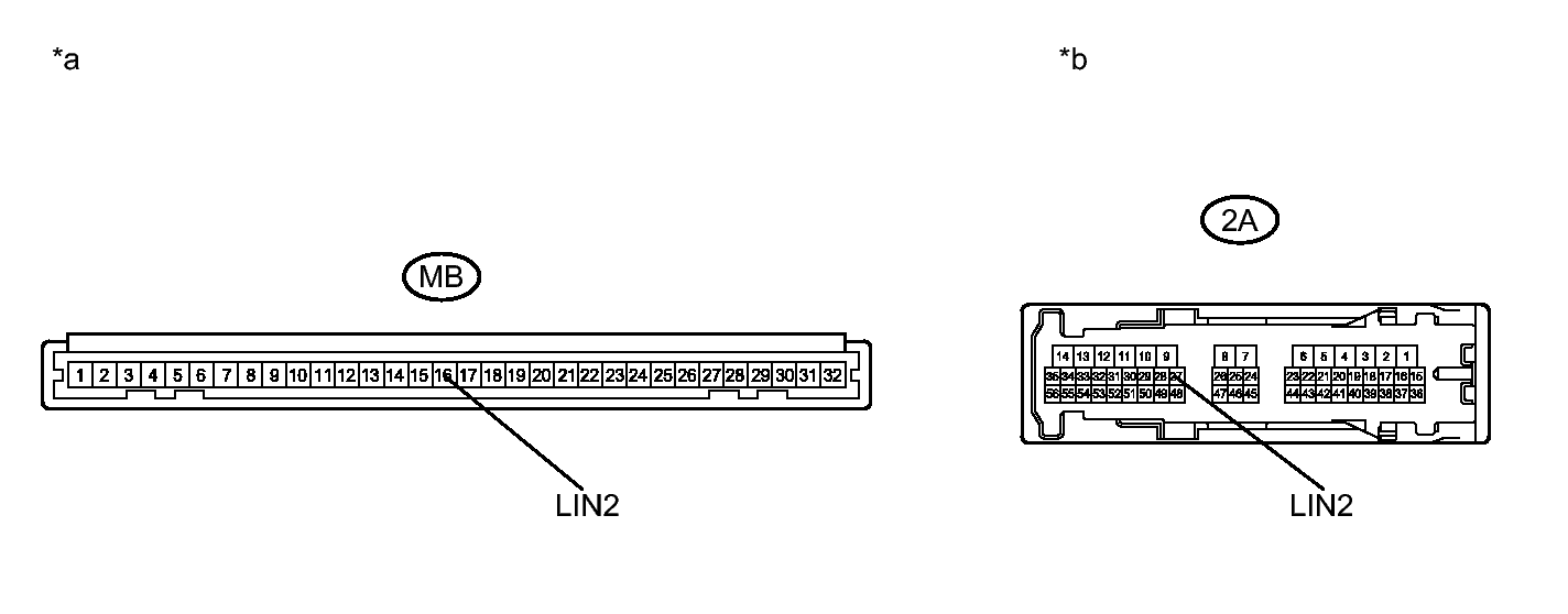
      GTY223752Courtesy of © TOYOTA, LICENSE AGREEMENT TMS1002
    2. Remove the main body ECU (multiplex network body ECU) from the instrument panel junction block assembly.
    3. Measure the resistance according to the value(s) in the table below.

      HINT: 

      This inspection is to check the LIN line in the instrument panel junction block assembly that connects the wire harness to the built-in main body ECU (multiplex network body ECU).

      Standard Resistance

      Tester Connection Condition Specified Condition
      2A-27 (LIN2) - MB-16 (LIN2) Always Below 1 Ω
      2A-27 (LIN2) - Body ground Always 10 kΩ or higher
      TEXT IN ILLUSTRATION

      *a Component without harness connected
      (Instrument Panel Junction Block Assembly)
      *b Component without harness connected
      (Instrument Panel Junction Block Assembly)

    NG → See step   6 

    OK: Go to next step 

  2. CHECK HARNESS AND CONNECTOR (MAIN BODY ECU - POWER WINDOW REGULATOR MOTOR) 
    1. Disconnect the P4 power window regulator motor assembly (for rear RH side) connector.
    2. Measure the resistance according to the value(s) in the table below.

      Standard Resistance

      Tester Connection Condition Specified Condition
      2A-27 (LIN2) - P4-9 (LIN) Always Below 1 Ω
      2A-27 (LIN2) - Body ground Always 10 kΩ or higher

    NG → REPAIR OR REPLACE HARNESS OR CONNECTOR 

    OK: Go to next step 

  3. CHECK HARNESS AND CONNECTOR (POWER WINDOW REGULATOR MOTOR - AUXILIARY BATTERY, BODY GROUND) 
    1. Measure the voltage and resistance according to the value(s) in the table below.

      Standard Voltage

      Tester Connection Condition Specified Condition
      P4-2 (B) - Body ground Power switch off 11 to 14 V

      Standard Resistance

      Tester Connection Condition Specified Condition
      P4-1 (GND) - Body ground Always Below 1 Ω

    NG → REPAIR OR REPLACE HARNESS OR CONNECTOR 

    OK: Go to next step 

  4. REPLACE POWER WINDOW REGULATOR MOTOR (for REAR RH SIDE) 
    1. Replace the power window regulator motor assembly (for rear RH side). Refer to REMOVAL [10/2013 - ] .

    NEXT: Go to next step 

  5. CHECK DTC OUTPUT 
    1. Clear the DTC. Refer to DTC CHECK / CLEAR [10/2013 - ] .
    2. Check for DTCs.

      OK

      DTC B2323 is not output.

    NG → See step   7 

    OK → END (POWER WINDOW REGULATOR MOTOR ASSEMBLY WAS DEFECTIVE) 

  6. REPLACE INSTRUMENT PANEL JUNCTION BLOCK ASSEMBLY. Refer to  REMOVAL [10/2013 - ] 
  7. REPLACE MAIN BODY ECU (MULTIPLEX NETWORK BODY ECU). Refer to  REMOVAL [10/2013 - ]