LEMON Manuals: Even more car manuals for everyone: 1960-2025
Home >> Toyota >> 2014 >> RAV4 EV >> Repair and Diagnosis (Single Page) >> Accessories & Equipment >> Anti-Theft Systems >> Smart Key System (Keyless Entry) (Diagnostic Codes & Symptom Tests) (Electric) >> Smart Key System (For Entry Function) >> Symptom Tests >> Driver Side Door Entry Unlock Function does not Operate [09/2013 - ] >> Procedure
April 5, 2026: LEMON Manuals is launched! Read the announcement.

Driver Side Door Entry Unlock Function does not Operate [09/2013 - ]: Procedure

  1. CHECK FOR DTC 
    1. Connect the Techstream to the DLC3.
    2. Turn the power switch on (IG) and turn the Techstream on.
    3. By following the Techstream screen display, check whether any DTCs are output.

      OK

      DTC is not output.

    NG → Go to CORRESPONDING SYSTEM 

    OK: Go to next step 

  2. CHECK POWER DOOR LOCK CONTROL SYSTEM 
    1. Check that the power door lock functions operate normally. Refer to OPERATION CHECK [09/2013 - ] .

      OK

      All doors can be unlocked with door control switch.

    NG → See step   13 

    OK: Go to next step 

  3. CHECK WIRELESS DOOR LOCK CONTROL SYSTEM 
    1. Check that the wireless door lock functions operate normally. Refer to OPERATION CHECK [09/2013 - ] .

      OK

      Wireless door lock functions operate normally.

    NG → See step   14 

    OK: Go to next step 

  4. READ VALUE USING TECHSTREAM (DOOR COURTESY LIGHT SWITCH) 
    1. Connect the Techstream to the DLC3.
    2. Turn the power switch on (IG).
    3. Turn the Techstream on.
    4. Enter the following menus: Body Electrical / Main Body / Data List.
    5. Read the Data List according to the display on the Techstream.
      MAIN BODY

      Tester Display Measurement Item/Range Normal Condition Diagnostic Note
      D Door Courtesy SW Driver side door courtesy light switch signal ON / OFF ON: Driver side door is open
      OFF: Driver side door is closed
      -

      OK

      On Techstream screen, item changes between ON and OFF according to above chart.

    NG → See step   15 

    OK: Go to next step 

  5. READ VALUE USING TECHSTREAM (LOCK POSITION SWITCH) 
    1. Connect the Techstream to the DLC3.
    2. Turn the power switch on (IG).
    3. Turn the Techstream on.
    4. Enter the following menus: Body Electrical / Main Body / Data List.
    5. Read the Data List according to the display on the Techstream.
      MAIN BODY

      Tester Display Measurement Item/Range Normal Condition Diagnostic Note
      D-Door Lock Pos SW Driver side door lock position switch signal / ON or OFF ON: Driver side door is unlocked
      OFF: Driver side door is locked
      -

      OK

      On Techstream screen, item changes between ON and OFF according to above chart.

    NG → See step   15 

    OK: Go to next step 

  6. PERFORM ACTIVE TEST USING TECHSTREAM (DRIVER SIDE SELECT) 
    1. Connect the Techstream to the DLC3.
    2. Turn the power switch on (IG).
    3. Turn the Techstream on.
    4. Enter the following menus: Body Electrical / Smart Key / Active Test.
    5. According to the display on the Techstream, perform the Active Test.
      SMART KEY

      Tester Display Test Part Control Range Diagnostic Note
      D-Seat Select Driver side door electrical key oscillator ON or OFF -

      OK

      ON (D-Seat Select is ON) appears on screen.

    NG → See step   16 

    OK: Go to next step 

  7. READ VALUE USING TECHSTREAM (TOUCH SENSOR) 
    1. Connect the Techstream to the DLC3.
    2. Turn the power switch on (IG).
    3. Turn the Techstream on.
    4. Enter the following menus: Body Electrical / Smart Key / Data List.
    5. Read the Data List according to the display on the Techstream.
      SMART KEY

      Tester Display Measurement Item/Range Normal Condition Diagnostic Note
      D-Door Touch Sensor Driver side door touch sensor / ON or OFF ON: Sensor is touched
      OFF: Sensor is not touched
      -

      OK

      When driver side door touch sensor is set to ON, ON (sensor is touched) appears on screen.

    NG → See step   9 

    OK: Go to next step 

  8. CHECK CERTIFICATION ECU (ECU AGGREGATION BOX ASSEMBLY) (OPERATION) 
    1. Temporarily replace the certification ECU (ECU aggregation box assembly) with a new or normally functioning one. Refer to REMOVAL [09/2013 - ] .
    2. Check that the entry unlock function operates normally. Refer to OPERATION CHECK [09/2013 - ] .

      OK

      Entry unlock function operates normally.

    NG → REPLACE MAIN BODY ECU (INSTRUMENT PANEL JUNCTION BLOCK ASSEMBLY) 

    OK → END (CERTIFICATION ECU [ECU AGGREGATION BOX ASSEMBLY] WAS DEFECTIVE) 

  9. CHECK DOOR ELECTRICAL KEY OSCILLATOR LH 
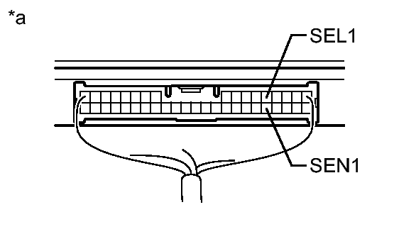
    1. Connect the Techstream to the DLC3.
      GTY365209Courtesy of © TOYOTA, LICENSE AGREEMENT TMS1002
    2. Turn the power switch on (IG).
    3. Turn the Techstream on.
    4. Enter the following menus: Body Electrical / Smart Key / Active Test / D-Seat Select.
    5. Operate the certification ECU (ECU aggregation box assembly) using the Active Test function and measure the voltage according to the value(s) in the table below.

      Standard Voltage

      Tester Connection Condition Specified Condition
      5 (SEL1) - Body ground During Active Test Below 1 V
      22 (SEN1) - Body ground Touch sensor is touched during Active Test Below 1 V
      Touch sensor is not touched during Active Test 11 to 14 V
      TEXT IN ILLUSTRATION

      *a Component with harness connected
      (Certification ECU [ECU Aggregation Box Assembly])

    NG → See step   10 

    OK → See step   16 

  10. CHECK HARNESS AND CONNECTOR (DOOR ELECTRICAL KEY OSCILLATOR LH - ELECTRICAL KEY ANTENNA) 
    1. Disconnect the H9 door electrical key oscillator LH connector.
    2. Disconnect the H8 electrical key antenna connector.
    3. Measure the resistance according to the value(s) in the table below.

      Standard Resistance

      Tester Connection Condition Specified Condition
      H9-2 (SGT) - H8-6 (SGT) Always Below 1 Ω
      H9-3 (ANT1) - H8-5 (ANT1)
      H9-8 (ANT2) - H8-2 (ANT2)
      H9-9 (TRG-) - H8-1 (TRG-)
      H9-2 (SGT) - Body ground Always 10 kΩ or higher
      H9-3 (ANT1) - Body ground
      H9-8 (ANT2) - Body ground
      H9-9 (TRG-) - Body ground

    NG → REPAIR OR REPLACE HARNESS OR CONNECTOR 

    OK: Go to next step 

  11. CHECK HARNESS AND CONNECTOR (CERTIFICATION ECU [ECU AGGREGATION BOX ASSEMBLY] - DOOR ELECTRICAL KEY OSCILLATOR LH) 
    1. Disconnect the E84 certification ECU (ECU aggregation box assembly) connector.
    2. Disconnect the H9 door electrical key oscillator LH connector.
    3. Measure the resistance according to the value(s) in the table below.

      Standard Resistance

      Tester Connection Condition Specified Condition
      E84-5 (SEL1) - H9-4 (SEL) Always Below 1 Ω
      E84-22 (SEN1) - H9-6 (SENS)
      E84-33 (CLG1) - H9-10 (CLG)
      E84-34 (CG1B) - H9-5 (CLGB)
      E84-5 (SEL1) - Body ground Always 10 kΩ or higher
      E84-22 (SEN1) - Body ground
      E84-33 (CLG1) - Body ground
      E84-34 (CG1B) - Body ground

    NG → REPAIR OR REPLACE HARNESS OR CONNECTOR 

    OK → See step   12 

  12. REPLACE DOOR ELECTRICAL KEY OSCILLATOR LH. Refer to  REMOVAL [09/2013 - ] 
  13. Go to POWER DOOR LOCK CONTROL SYSTEM. Refer to  HOW TO PROCEED WITH TROUBLESHOOTING [09/2013 - ] 
  14. Go to WIRELESS DOOR LOCK CONTROL SYSTEM. Refer to  HOW TO PROCEED WITH TROUBLESHOOTING [09/2013 - ] 
  15. Go to LIGHTING SYSTEM. Refer to  HOW TO PROCEED WITH TROUBLESHOOTING [09/2013 - ] 
  16. REPLACE CERTIFICATION ECU (ECU AGGREGATION BOX ASSEMBLY). Refer to  REMOVAL [09/2013 - ]