LEMON Manuals: Even more car manuals for everyone: 1960-2025
Home >> Toyota >> 2014 >> RAV4 EV >> Repair and Diagnosis (Single Page) >> Restraints >> Air Bag, SRS >> Occupant Classification System (Diagnostic Codes & Symptom Tests) (Electric) >> Occupant Classification System >> DTC B1781: Front Occupant Classification Sensor RH Circuit Malfunction [09/2013 - ] >> Procedure
April 5, 2026: LEMON Manuals is launched! Read the announcement.

DTC B1781: Front Occupant Classification Sensor RH Circuit Malfunction [09/2013 - ]: Procedure

  1. CHECK DTC 
    1. Turn the power switch on (IG), and wait for at least 60 seconds.
    2. Clear the DTCs. Refer to DTC CHECK / CLEAR [09/2013 - ] .

      HINT: 

      • First clear the DTCs stored in the occupant detection ECU, and then clear the DTCs stored in the center airbag sensor assembly.
      • Use the Techstream to clear the DTCs of the occupant detection ECU, otherwise the DTCs cannot be cleared.
    3. Turn the power switch off.
    4. Turn the power switch on (IG), and wait for at least 60 seconds.
    5. Check for DTCs. Refer to DTC CHECK / CLEAR [09/2013 - ] .

      OK

      DTC B1781 is not output.

      HINT: 

      DTCs other than DTC B1781 may be output at this time, but they are not related to this check.

    NG → See step   2 

    OK → See step   13 

  2. CHECK CONNECTION OF CONNECTOR 
    1. Turn the power switch off.
    2. Disconnect the cable from the negative (-) auxiliary battery terminal, and wait for at least 90 seconds.
    3. Check that the connectors are properly connected to the occupant detection ECU and front occupant classification sensor RH.

      OK

      Connectors are properly connected.

    NG → CONNECT CONNECTOR 

    OK: Go to next step 

  3. CHECK CONNECTOR 
    1. Disconnect the connectors from the occupant detection ECU and front occupant classification sensor RH.
    2. Check that the connectors (on the occupant detection ECU side and front occupant classification sensor RH side) are not damaged. Refer to DIAGNOSIS SYSTEM [09/2013 - ] .

      OK

      Connectors are not deformed or damaged.

    NG → See step   14 

    OK: Go to next step 

  4. CHECK FRONT SEAT WIRE RH 
    1. Connect the cable to the negative (-) auxiliary battery terminal, and wait for at least 2 seconds.
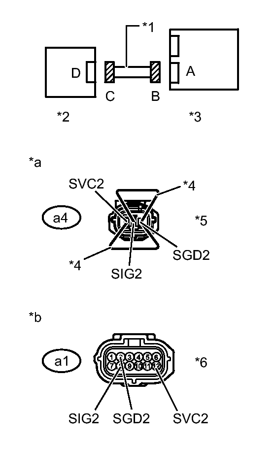
      GTY367106Courtesy of © TOYOTA, LICENSE AGREEMENT TMS1002
    2. Turn the power switch on (IG).
    3. Measure the voltage according to the value(s) in the table below.

      Standard Voltage

      Tester Connection Switch Condition Specified Condition
      a1-2 (SGD2) - Body ground Power switch on (IG) Below 1 V
      a1-8 (SIG2) - Body ground
      a1-12 (SVC2) - Body ground
    4. Turn the power switch off.
    5. Disconnect the cable from the negative (-) auxiliary battery terminal, and wait for at least 90 seconds.
    6. Using service wires, connect terminals 1 (SVC2) and 3 (SGD2), and terminals 2 (SIG2) and 3 (SGD2) of connector C.
      NOTE:

      Do not forcibly insert the service wires into the terminals of the connector.

    7. Measure the resistance according to the value(s) in the table below.

      Standard Resistance

      Tester Connection Condition Specified Condition
      a1-8 (SIG2) - a1-2 (SGD2) Always Below 1 Ω
      a1-12 (SVC2) - a1-2 (SGD2)
    8. Disconnect the service wires from connector C.
    9. Measure the resistance according to the value(s) in the table below.

      Standard Resistance

      Tester Connection Condition Specified Condition
      a1-8 (SIG2) - a1-2 (SGD2) Always 1 MΩ or higher
      a1-12 (SVC2) - a1-2 (SGD2)
      a1-8 (SIG2) - a1-12 (SVC2)
      a1-2 (SGD2) - Body ground
      a1-8 (SIG2) - Body ground
      a1-12 (SVC2) - Body ground
      TEXT IN ILLUSTRATION

      *1 Front Seat Wire RH
      *2 Front Occupant Classification Sensor RH
      *3 Occupant Detection ECU
      *4 Service Wire
      *5 Connector C
      *6 Connector B
      *a Front view of wire harness connector
      (to Front Occupant Classification Sensor RH)
      *b Front view of wire harness connector
      (to Occupant Detection ECU)

    NG → See step   14 

    OK: Go to next step 

  5. CHECK DTC 
    1. Connect the connectors to the occupant detection ECU and front occupant classification sensor RH.
    2. Connect the cable to the negative (-) auxiliary battery terminal, and wait for at least 2 seconds.
    3. Turn the power switch on (IG), and wait for at least 60 seconds.
    4. Clear the DTCs. Refer to DTC CHECK / CLEAR [09/2013 - ] .

      HINT: 

      • First clear the DTCs stored in the occupant detection ECU, and then clear the DTCs stored in the center airbag sensor.
      • Use the Techstream to clear the DTCs of the occupant detection ECU, otherwise the DTCs cannot be cleared.
    5. Turn the power switch off.
    6. Turn the power switch on (IG), and wait for at least 60 seconds.
    7. Check for DTCs. Refer to DTC CHECK / CLEAR [09/2013 - ] .

      OK

      DTC B1781 is not output.

      HINT: 

      DTCs other than DTC B1781 may be output at this time, but they are not related to this check.

    NG → See step   6 

    OK → See step   13 

  6. REPLACE OCCUPANT DETECTION ECU 
    1. Turn the power switch off.
    2. Disconnect the cable from the negative (-) auxiliary battery terminal, and wait for at least 90 seconds.
    3. Replace the occupant detection ECU. Refer to REMOVAL [09/2013 - ] .

      HINT: 

      Perform the inspection using parts from a normal vehicle when possible.

    NEXT: Go to next step 

  7. PERFORM ZERO POINT CALIBRATION 
    1. Connect the cable to the negative (-) auxiliary battery terminal, and wait for at least 2 seconds.
    2. Turn the power switch on (IG).
    3. Perform the zero point calibration. Refer to INITIALIZATION [09/2013 - ] .

    NG → See step   10 

    OK: Go to next step 

  8. PERFORM SENSITIVITY CHECK 
    1. Perform the sensitivity check. Refer to INITIALIZATION [09/2013 - ] .

    NG → See step   10 

    OK: Go to next step 

  9. CHECK DTC 
    1. Clear the DTCs. Refer to DTC CHECK / CLEAR [09/2013 - ] .

      HINT: 

      • First clear the DTCs stored in the occupant detection ECU, and then clear the DTCs stored in the center airbag sensor assembly.
      • Use the Techstream to clear the DTCs of the occupant detection ECU, otherwise the DTCs cannot be cleared.
    2. Turn the power switch off.
    3. Turn the power switch on (IG), and wait for at least 60 seconds.
    4. Check for DTCs. Refer to DTC CHECK / CLEAR [09/2013 - ] .

      OK

      DTC B1781 is not output.

      HINT: 

      DTCs other than DTC B1781 may be output at this time, but they are not related to this check.

    NG → See step   10 

    OK → END (OCCUPANT DETECTION ECU WAS DEFECTIVE) 

  10. REPLACE FRONT SEAT ASSEMBLY RH 
    1. Turn the power switch off.
    2. Disconnect the cable from the negative (-) auxiliary battery terminal, and wait for at least 90 seconds.
    3. Replace the front seat assembly RH. Refer to REMOVAL [09/2013 - ] .

      HINT: 

      Perform the inspection using parts from a normal vehicle when possible.

    NEXT: Go to next step 

  11. PERFORM ZERO POINT CALIBRATION 
    1. Connect the cable to the negative (-) auxiliary battery terminal, and wait for at least 2 seconds.
    2. Turn the power switch on (IG).
    3. Perform the zero point calibration. Refer to INITIALIZATION [09/2013 - ] .

    NEXT: Go to next step 

  12. PERFORM SENSITIVITY CHECK 
    1. Perform the sensitivity check. Refer to INITIALIZATION [09/2013 - ] .

    NEXT → END (FRONT SEAT ASSEMBLY RH WAS DEFECTIVE) 

  13. USE SIMULATION METHOD TO CHECK. Refer to  DIAGNOSIS SYSTEM [09/2013 - ] 
  14. REPLACE FRONT SEAT WIRE RH. Refer to  DISASSEMBLY [09/2013 - ]