LEMON Manuals: Even more car manuals for everyone: 1960-2025
Home >> Toyota >> 2014 >> RAV4 EV >> Repair and Diagnosis (Single Page) >> Restraints >> Air Bag, SRS >> Supplemental Restraint System (Diagnostic Codes & Symptom Tests) (Electric) >> Airbag System >> DTC B1623/81: Driver Side - Side Airbag Sensor Assembly Initialization Incomplete; DTC B1628/82: Front Passenger Side - Side Airbag Sensor Assembly Initialization Incomplete; DTC B1643/81: Driver Side Satellite Sensor Bus Initialization Incomplete; DTC B1648/82: Front Passenger Side Satellite Sensor Bus Initialization Incomplete [09/2013 - ] >> Procedure
April 5, 2026: LEMON Manuals is launched! Read the announcement.

DTC B1623/81: Driver Side - Side Airbag Sensor Assembly Initialization Incomplete; DTC B1628/82: Front Passenger Side - Side Airbag Sensor Assembly Initialization Incomplete; DTC B1643/81: Driver Side Satellite Sensor Bus Initialization Incomplete; DTC B1648/82: Front Passenger Side Satellite Sensor Bus Initialization Incomplete [09/2013 - ]: Procedure

  1. CHECK PAST DTC 
    1. Turn the power switch on (IG), and wait for at least 60 seconds.
    2. Check for DTCs. Refer to DTC CHECK / CLEAR [09/2013 - ] .

      OK

      DTC B1622/85, B1627/86, B1642/81 and B1647/82 are not output.

      RESULT

      Result Proceed to
      DTC B1622/85 is output A
      DTC B1627/86 is output B
      DTC B1642/81 is output C
      DTC B1647/82 is output D
      DTC B1622/85, B1627/86, B1642/81 and B1647/82 are not output E

    A → See step   22 

    B → See step   26 

    C → See step   27 

    D → See step   28 

    E: Go to next step 

  2. CHECK DTC 
    1. Turn the power switch off.
    2. Turn the power switch on (IG), and wait for at least 60 seconds.
    3. Check for DTCs. Refer to DTC CHECK / CLEAR [09/2013 - ] .
      RESULT

      Result Proceed to
      DTC B1623/81, B1628/82, B1643/81 and B1648/82 are not output A
      DTC B1623/81 or B1643/81 is output B
      DTC B1628/82 or B1648/82 is output C

      HINT: 

      Codes other than DTC B1623/81, B1628/82, B1643/81, and B1648/82 may be output at this time, but they are not related to this check.

    A → See step   19 

    B → See step   11 

    C: Go to next step 

  3. CHECK CONNECTION OF CONNECTORS 
    1. Turn the power switch off.
    2. Disconnect the cable from the negative (-) auxiliary battery terminal, and wait for at least 90 seconds.
    3. Check that the connectors are properly connected to the center airbag sensor assembly and rear airbag sensor RH.

      OK

      The connectors are properly connected.

    NG → CONNECT CONNECTORS PROPERLY 

    OK: Go to next step 

  4. CHECK CONNECTORS 
    1. Disconnect the connectors from the center airbag sensor assembly and side airbag sensor assembly RH.
    2. Check that the connectors (on the center airbag sensor assembly side and side airbag sensor assembly RH side) are not damaged.

      OK

      The connectors are not deformed or damaged.

      GTY365480Courtesy of © TOYOTA, LICENSE AGREEMENT TMS1002
      TEXT IN ILLUSTRATION

      *1 Side Airbag Sensor Assembly RH
      *2 Center Airbag Sensor Assembly
      *3 No. 2 Floor Wire

    NG → REPLACE NO. 2 FLOOR WIRE 

    OK: Go to next step 

  5. CHECK SIDE AIRBAG SENSOR ASSEMBLY RH CIRCUIT 
    1. Connect the cable to the negative (-) auxiliary battery terminal, and wait for at least 2 seconds.
      GTY364635Courtesy of © TOYOTA, LICENSE AGREEMENT TMS1002
      TEXT IN ILLUSTRATION

      *1 Side Airbag Sensor Assembly RH *2 Center Airbag Sensor Assembly
      *3 No. 2 Floor Wire *4 Connector C
      *5 Connector B *6 Service Wire
      *a Front view of wire harness connector
      (to Side Airbag Sensor Assembly RH)
      *b Rear view of wire harness connector
      (to Center Airbag Sensor Assembly)
    2. Turn the power switch on (IG).
    3. Measure the voltage according to the value(s) in the table below.

      Standard Voltage

      Tester Connection Switch Condition Specified Condition
      L27-3 (BBR-) - Body ground Power switch on (IG) Below 1 V
      L27-4 (BBR+) - Body ground Power switch on (IG) Below 1 V
    4. Turn the power switch off.
    5. Disconnect the cable from the negative (-) auxiliary battery terminal, and wait for at least 90 seconds.
    6. Using a service wire, connect terminals 17 (BBP+) and 18 (BBP-) of connector B.
      NOTE:

      Do not forcibly insert the service wire into the terminals of the connector when connecting a service wire.

    7. Measure the resistance according to the value(s) in the table below.

      Standard Resistance

      Tester Connection Condition Specified Condition
      L27-3 (BBR-) - L27-4 (BBR+) Always Below 1 Ω
    8. Disconnect the service wire from connector B.
    9. Measure the resistance according to the value(s) in the table below.

      Standard Resistance

      Tester Connection Condition Specified Condition
      L27-3 (BBR-) - L27-4 (BBR+) Always 1 MΩ or higher
      L27-3 (BBR-) - Body ground Always 1 MΩ or higher
      L27-4 (BBR+) - Body ground Always 1 MΩ or higher

    NG → REPLACE NO. 2 FLOOR WIRE 

    OK: Go to next step 

  6. CHECK CONNECTION OF CONNECTORS 
    1. Check that the connector is properly connected to the rear airbag sensor RH.

      OK

      The connector is properly connected.

    NG → CONNECT CONNECTORS PROPERLY 

    OK: Go to next step 

  7. CHECK CONNECTORS 
    1. Disconnect the connector from the rear airbag sensor RH.
    2. Check that the connector (on the rear airbag sensor RH side) is not damaged.

      OK

      The connector is not deformed or damaged.

      GTY378229Courtesy of © TOYOTA, LICENSE AGREEMENT TMS1002
      TEXT IN ILLUSTRATION

      *1 Rear Airbag Sensor RH
      *2 Side Airbag Sensor Assembly RH
      *3 No. 2 Floor Wire

    NG → REPLACE NO. 2 FLOOR WIRE 

    OK: Go to next step 

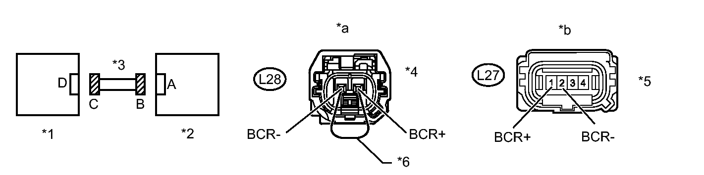
  8. CHECK SIDE AIRBAG SENSOR ASSEMBLY RH CIRCUIT 
    1. Connect the cable to the negative (-) auxiliary battery terminal, and wait for at least 2 seconds.
      GTY370315Courtesy of © TOYOTA, LICENSE AGREEMENT TMS1002
      TEXT IN ILLUSTRATION

      *1 Rear Airbag Sensor RH *2 Side Airbag Sensor Assembly RH
      *3 No. 2 Floor Wire *4 Connector C
      *5 Connector B *6 Service Wire
      *a Front view of wire harness connector
      (to Rear Airbag Sensor RH)
      *b Front view of wire harness connector
      (to Side Airbag Sensor Assembly RH)
    2. Turn the power switch on (IG).
    3. Measure the voltage according to the value(s) in the table below.

      Standard Voltage

      Tester Connection Switch Condition Specified Condition
      L27-1 (BCR+) - Body ground Power switch on (IG) Below 1 V
      L27-2 (BCR-) - Body ground Power switch on (IG) Below 1 V
    4. Turn the power switch off.
    5. Disconnect the cable from the negative (-) auxiliary battery terminal, and wait for at least 90 seconds.
    6. Using a service wire, connect terminals 2 (BCR+) and 1 (BCR-) of connector C.
      NOTE:

      Do not forcibly insert the service wire into the terminals of the connector when connecting a service wire.

    7. Measure the resistance according to the value(s) in the table below.

      Standard Resistance

      Tester Connection Condition Specified Condition
      L27-1 (BCR+) - L27-2 (BCR-) Always Below 1 Ω
    8. Disconnect the service wire from connector C.
    9. Measure the resistance according to the value(s) in the table below.

      Standard Resistance

      Tester Connection Condition Specified Condition
      L27-1 (BCR+) - L27-2 (BCR-) Always 1 MΩ or higher
      L27-1 (BCR+) - Body ground Always 1 MΩ or higher
      L27-2 (BCR-) - Body ground Always 1 MΩ or higher

    NG → REPLACE NO. 2 FLOOR WIRE 

    OK: Go to next step 

  9. CHECK SIDE AIRBAG SENSOR ASSEMBLY RH 
    1. Connect the connectors to the center airbag sensor assembly and rear airbag sensor RH.
      GTY223657Courtesy of © TOYOTA, LICENSE AGREEMENT TMS1002
    2. Interchange the side airbag sensor assembly RH with LH and connect the connectors to them.
    3. Connect the cable to the negative (-) auxiliary battery terminal, and wait for at least 2 seconds.
    4. Turn the power switch on (IG), and wait for at least 60 seconds.
    5. Clear the DTCs stored in memory. Refer to DTC CHECK / CLEAR [09/2013 - ] .
    6. Turn the power switch off.
    7. Turn the power switch on (IG), and wait for at least 90 seconds.
    8. Check for DTCs. Refer to DTC CHECK / CLEAR [09/2013 - ] .
      RESULT

      Result Proceed to
      DTC B1623/81, B1628/82, B1643/81 and B1648/82 are not output A
      DTC B1623/81 or B1643/81 is output B
      DTC B1628/82 or B1648/82 is output C

      HINT: 

      Codes other than DTC B1623/81, B1628/82, B1643/81 and B1648/82 may be output at this time, but they are not related to this check.

      TEXT IN ILLUSTRATION

      *1 Side Airbag Sensor Assembly LH
      *2 Center Airbag Sensor Assembly
    9. Turn the power switch off.
    10. Disconnect the cable from the negative (-) auxiliary battery terminal, and wait for at least 90 seconds.
    11. Return the side airbag sensor assembly LH and RH to their original positions and connect the connectors to them.

    A → See step   19 

    B → See step   21 

    C: Go to next step 

  10. CHECK REAR AIRBAG SENSOR RH 
    1. Interchange the rear airbag sensor RH with LH and connect the connectors to them.
      GTY225600Courtesy of © TOYOTA, LICENSE AGREEMENT TMS1002
    2. Connect the cable to the negative (-) auxiliary battery terminal, and wait for at least 2 seconds.
    3. Turn the power switch on (IG), and wait for at least 60 seconds.
    4. Clear the DTCs stored in memory. Refer to DTC CHECK / CLEAR [09/2013 - ] .
    5. Turn the power switch off.
    6. Turn the power switch on (IG), and wait for at least 90 seconds.
    7. Check for DTCs. Refer to DTC CHECK / CLEAR [09/2013 - ] .
      RESULT

      Result Proceed to
      DTC B1623/81, B1628/82, B1643/81 and B1648/82 are not output A
      DTC B1623/81 or B1643/81 is output B
      DTC B1628/82 or B1648/82 is output C

      HINT: 

      Codes other than DTC B1623/81, B1628/82, B1643/81 and B1648/82 may be output at this time, but they are not related to this check.

      TEXT IN ILLUSTRATION

      *1 Rear Airbag Sensor LH
      *2 Side Airbag Sensor Assembly RH
    8. Turn the power switch off.
    9. Disconnect the cable from the negative (-) auxiliary battery terminal, and wait for at least 90 seconds.
    10. Return the rear airbag sensor LH and RH to their original positions and connect the connectors to them.

    A → See step   19 

    B → See step   24 

    C → See step   29 

  11. CHECK CONNECTION OF CONNECTORS 
    1. Turn the power switch off.
    2. Disconnect the cable from the negative (-) auxiliary battery terminal, and wait for at least 90 seconds.
    3. Check that the connectors are properly connected to the center airbag sensor assembly and side airbag sensor assembly LH.

      OK

      The connectors are properly connected.

    NG → CONNECT CONNECTORS PROPERLY 

    OK: Go to next step 

  12. CHECK CONNECTORS 
    1. Disconnect the connectors from the center airbag sensor assembly and side airbag sensor assembly LH.
    2. Check that the connectors (on the center airbag sensor assembly side and side airbag sensor assembly LH side) are not damaged.

      OK

      The connectors are not deformed or damaged.

      GTY374051Courtesy of © TOYOTA, LICENSE AGREEMENT TMS1002
      TEXT IN ILLUSTRATION

      *1 Side Airbag Sensor Assembly LH
      *2 Center Airbag Sensor Assembly
      *3 Floor Wire

    NG → REPLACE FLOOR WIRE 

    OK: Go to next step 

  13. CHECK SIDE AIRBAG SENSOR ASSEMBLY LH CIRCUIT 
    1. Connect the cable to the negative (-) auxiliary battery terminal, and wait for at least 2 seconds.
      GTY362803Courtesy of © TOYOTA, LICENSE AGREEMENT TMS1002
      TEXT IN ILLUSTRATION

      *1 Side Airbag Sensor Assembly LH *2 Center Airbag Sensor Assembly
      *3 Floor Wire *4 Connector C
      *5 Connector B *6 Service Wire
      *a Front view of wire harness connector
      (to Side Airbag Sensor Assembly LH)
      *b Rear view of wire harness connector
      (to Center Airbag Sensor Assembly)
    2. Turn the power switch on (IG).
    3. Measure the voltage according to the value(s) in the table below.

      Standard Voltage

      Tester Connection Switch Condition Specified Condition
      K26-3 (BBL-) - Body ground Power switch on (IG) Below 1 V
      K26-4 (BBL+) - Body ground Power switch on (IG) Below 1 V
    4. Turn the power switch off.
    5. Disconnect the cable from the negative (-) auxiliary battery terminal, and wait for at least 90 seconds.
    6. Using a service wire, connect terminals 24 (BBD+) and 23 (BBD-) of connector B.
      NOTE:

      Do not forcibly insert the service wire into the terminals of the connector when connecting a service wire.

    7. Measure the resistance according to the value(s) in the table below.

      Standard Resistance

      Tester Connection Condition Specified Condition
      K26-3 (BBL-) - K26-4 (BBL+) Always Below 1 Ω
    8. Disconnect the service wire from connector B.
    9. Measure the resistance according to the value(s) in the table below.

      Standard Resistance

      Tester Connection Condition Specified Condition
      K26-3 (BBL-) - K26-4 (BBL+) Always 1 MΩ or higher
      K26-3 (BBL-) - Body ground Always 1 MΩ or higher
      K26-4 (BBL+) - Body ground Always 1 MΩ or higher

    NG → REPLACE FLOOR WIRE 

    OK: Go to next step 

  14. CHECK CONNECTION OF CONNECTOR 
    1. Check that the connector is properly connected to the rear airbag sensor LH.

      OK

      The connector is properly connected.

    NG → CONNECT CONNECTORS PROPERLY 

    OK: Go to next step 

  15. CHECK CONNECTORS 
    1. Disconnect the connector from the rear airbag sensor LH.
    2. Check that the connector (on the rear airbag sensor LH side) is not damaged.

      OK

      The connector is not deformed or damaged.

      GTY377885Courtesy of © TOYOTA, LICENSE AGREEMENT TMS1002
      TEXT IN ILLUSTRATION

      *1 Rear Airbag Sensor LH
      *2 Side Airbag Sensor Assembly LH
      *3 Floor Wire

    NG → REPLACE FLOOR WIRE 

    OK: Go to next step 

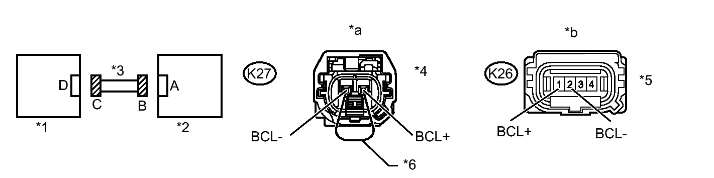
  16. CHECK REAR AIRBAG SENSOR LH CIRCUIT 
    1. Connect the cable to the negative (-) auxiliary battery terminal, and wait for at least 2 seconds.
      GTY370017Courtesy of © TOYOTA, LICENSE AGREEMENT TMS1002
      TEXT IN ILLUSTRATION

      *1 Rear Airbag Sensor LH *2 Side Airbag Sensor Assembly LH
      *3 Floor Wire *4 Connector C
      *5 Connector B *6 Service Wire
      *a Front view of wire harness connector
      (to Rear Airbag Sensor LH)
      *b Front view of wire harness connector
      (to Side Airbag Sensor Assembly LH)
    2. Turn the power switch on (IG).
    3. Measure the voltage according to the value(s) in the table below.

      Standard Voltage

      Tester Connection Switch Condition Specified Condition
      K26-1 (BCL+) - Body ground Power switch on (IG) Below 1 V
      K26-2 (BCL-) - Body ground Power switch on (IG) Below 1 V
    4. Turn the power switch off.
    5. Disconnect the cable from the negative (-) auxiliary battery terminal, and wait for at least 90 seconds.
    6. Using a service wire, connect terminals 2 (BCL+) and 1 (BCL-) of connector C.
      NOTE:

      Do not forcibly insert the service wire into the terminals of the connector when connecting a service wire.

    7. Measure the resistance according to the value(s) in the table below.

      Standard Resistance

      Tester Connection Condition Specified Condition
      K26-1 (BCL+) - K26-2 (BCL-) Always Below 1 Ω
    8. Disconnect the service wire from connector C.
    9. Measure the resistance according to the value(s) in the table below.

      Standard Resistance

      Tester Connection Condition Specified Condition
      K26-1 (BCL+) - K26-2 (BCL-) Always 1 MΩ or higher
      K26-1 (BCL+) - Body ground Always 1 MΩ or higher
      K26-2 (BCL-) - Body ground Always 1 MΩ or higher

    NG → REPLACE FLOOR WIRE 

    OK: Go to next step 

  17. CHECK SIDE AIRBAG SENSOR ASSEMBLY LH 
    1. Connect the connectors to the center airbag sensor assembly and rear airbag sensor LH.
      GTY373062Courtesy of © TOYOTA, LICENSE AGREEMENT TMS1002
    2. Interchange the side airbag sensor assembly LH with RH and connect the connectors to them.
    3. Connect the cable to the negative (-) auxiliary battery terminal, and wait for at least 2 seconds.
    4. Turn the power switch on (IG), and wait for at least 60 seconds.
    5. Clear the DTCs stored in memory. Refer to DTC CHECK / CLEAR [09/2013 - ] .
    6. Turn the power switch off.
    7. Turn the power switch on (IG), and wait for at least 90 seconds.
    8. Check for DTCs. Refer to DTC CHECK / CLEAR [09/2013 - ] .
      RESULT

      Result Proceed to
      DTC B1623/81, B1628/82, B1643/81 and B1648/82 are not output A
      DTC B1628/82 or B1648/82 is output B
      DTC B1623/81 or B1643/81 is output C

      HINT: 

      Codes other than DTC B1623/81, B1628/82, B1643/81 and B1648/82 may be output at this time, but they are not related to this check.

      TEXT IN ILLUSTRATION

      *1 Side airbag sensor assembly RH
      *2 Center Airbag Sensor Assembly
    9. Turn the power switch off.
    10. Disconnect the cable from the negative (-) auxiliary battery terminal, and wait for at least 90 seconds.
    11. Return the side airbag sensor assembly RH and LH to their original positions and connect the connectors to them.

    A → See step   19 

    B → See step   20 

    C: Go to next step 

  18. CHECK REAR AIRBAG SENSOR LH 
    1. Interchange the rear airbag sensor LH with RH and connect the connectors to them.
      GTY225600Courtesy of © TOYOTA, LICENSE AGREEMENT TMS1002
    2. Connect the cable to the negative (-) auxiliary battery terminal, and wait for at least 2 seconds.
    3. Turn the power switch on (IG), and wait for at least 60 seconds.
    4. Clear the DTCs stored in memory. Refer to DTC CHECK / CLEAR [09/2013 - ] .
    5. Turn the power switch off.
    6. Turn the power switch on (IG), and wait for at least 90 seconds.
    7. Check for DTCs. Refer to DTC CHECK / CLEAR [09/2013 - ] .
      RESULT

      Result Proceed to
      DTC B1623/81, B1628/82, B1643/81 and B1648/82 are not output A
      DTC B1628/82 or B1648/82 is output B
      DTC B1623/81 or B1643/81 is output C

      HINT: 

      Codes other than DTC B1623/81, B1628/82, B1643/81 and B1648/82 may be output at this time, but they are not related to this check.

      TEXT IN ILLUSTRATION

      *1 Rear Side Airbag Sensor RH
      *2 Side Airbag Sensor Assembly LH
    8. Turn the power switch off.
    9. Disconnect the cable from the negative (-) auxiliary battery terminal, and wait for at least 90 seconds.
    10. Return the rear airbag sensor RH and LH to their original positions and connect the connectors to them.

    A → See step   19 

    B → See step   25 

    C → See step   23 

  19. USE SIMULATION METHOD TO CHECK. Refer to  HOW TO PROCEED WITH TROUBLESHOOTING [09/2013 - ] 
  20. REPLACE SIDE AIRBAG SENSOR ASSEMBLY LH. Refer to  REMOVAL [09/2013 - ] 
  21. REPLACE SIDE AIRBAG SENSOR ASSEMBLY RH. Refer to  REMOVAL [09/2013 - ] 
  22. GO TO DTC B1622/85. Refer to  DTC B1620/21: Driver Side - Side Airbag Sensor Circuit Malfunction; DTC B1622/81: Lost Communication with Driver Side - Side Airbag Sensor Assembly; DTC B1625/22: Front Passenger Side - Side Airbag Sensor Circuit Malfunction; DTC B1627/82: Lost Communication with Front Passenger Side - Side Airbag Sensor Assembly [09/2013 - ]  
  23. REPLACE CENTER AIRBAG SENSOR ASSEMBLY. Refer to  REMOVAL [09/2013 - ] 
  24. REPLACE REAR AIRBAG SENSOR RH. Refer to  REMOVAL [09/2013 - ] 
  25. REPLACE REAR AIRBAG SENSOR LH. Refer to  REMOVAL [09/2013 - ] 
  26. GO TO DTC B1627/86. Refer to  DTC B1620/21: Driver Side - Side Airbag Sensor Circuit Malfunction; DTC B1622/81: Lost Communication with Driver Side - Side Airbag Sensor Assembly; DTC B1625/22: Front Passenger Side - Side Airbag Sensor Circuit Malfunction; DTC B1627/82: Lost Communication with Front Passenger Side - Side Airbag Sensor Assembly [09/2013 - ]  
  27. GO TO DTC B1642/81. Refer to  DTC B1642/81: Lost Communication with Driver Side Satellite Sensor Bus; DTC B1647/82: Lost Communication with Front Passenger Side Satellite Sensor Bus [09/2013 - ]  
  28. GO TO DTC B1647/82. Refer to  DTC B1642/81: Lost Communication with Driver Side Satellite Sensor Bus; DTC B1647/82: Lost Communication with Front Passenger Side Satellite Sensor Bus [09/2013 - ]  
  29. REPLACE CENTER AIRBAG SENSOR ASSEMBLY. Refer to  REMOVAL [09/2013 - ]