LEMON Manuals: Even more car manuals for everyone: 1960-2025
Home >> Toyota >> 2014 >> Sienna Base >> Repair and Diagnosis (Single Page) >> Accessories & Equipment >> Anti-Theft Systems >> Smart Key System (Keyless Entry) (Diagnostic Codes & Symptom Tests) >> SMART KEY SYSTEM (for Entry Function) >> Symptom Tests >> Power Slide Door Entry Function does not Operate [08/2013 - ] >> Wiring Diagram
April 5, 2026: LEMON Manuals is launched! Read the announcement.

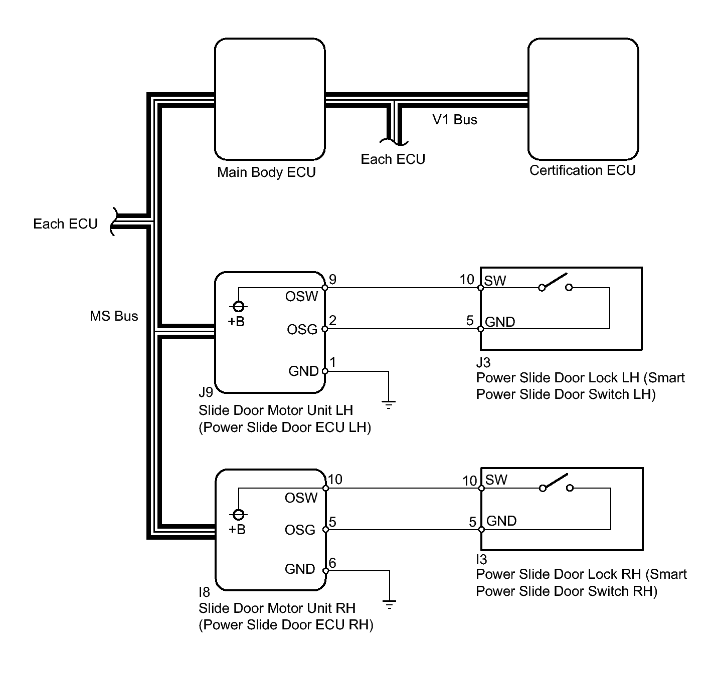
Power Slide Door Entry Function does not Operate [08/2013 - ]: Wiring Diagram

Fig 1: Power Slide Door Circuit - Wiring Diagram
GTY300725Courtesy of © TOYOTA, LICENSE AGREEMENT TMS1002