LEMON Manuals: Even more car manuals for everyone: 1960-2025
Home >> Toyota >> 2015 >> 4Runner TRD Pro >> Repair and Diagnosis (Single Page) >> Accessories & Equipment >> Infotainment >> Navigation System - (Diagnostic Codes & Symptom Tests) >> Navigation System >> Circuit Tests >> Display Signal Circuit between Navigation Receiver Assembly and Stereo Jack Adapter [08/2014 - ] >> Procedure
April 5, 2026: LEMON Manuals is launched! Read the announcement.

Display Signal Circuit between Navigation Receiver Assembly and Stereo Jack Adapter [08/2014 - ]: Procedure

  1. CHECK HARNESS AND CONNECTOR (NAVIGATION RECEIVER ASSEMBLY - NO. 1 STEREO JACK ADAPTER ASSEMBLY) 
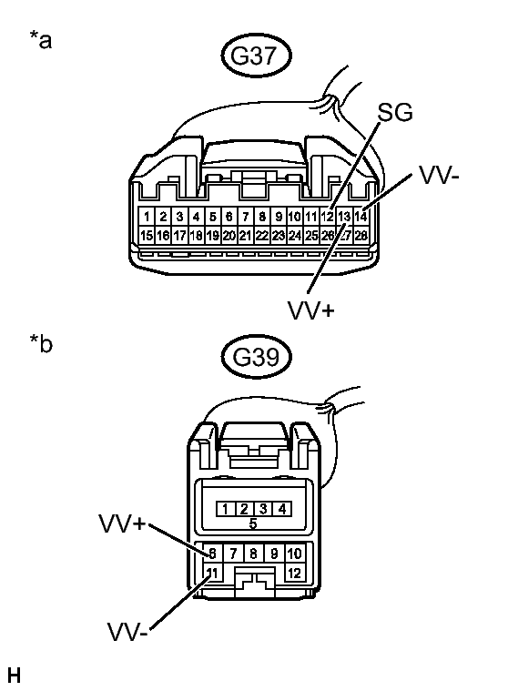
    1. Disconnect the G37 navigation receiver assembly connector.
      GTY426911Courtesy of © TOYOTA, LICENSE AGREEMENT TMS1002
    2. Disconnect the G39 No. 1 stereo jack adapter assembly connector.
    3. Measure the resistance according to the value(s) in the table below.

      Standard Resistance

      Tester Connection Condition Specified Condition
      G37-13 (VV+) - G39-6 (VV+) Always Below 1 Ω
      G37-14 (VV-) - G39-11 (VV-) Always Below 1 Ω
      G37-13 (VV+) - Body ground Always 10 kΩ or higher
      G37-14 (VV-) - Body ground Always 10 kΩ or higher
      G37-12 (SG) - Body ground Always 10 kΩ or higher
      TEXT IN ILLUSTRATION

      *a Front view of wire harness connector
      (Navigation Receiver Assembly)
      *b Front view of wire harness connector
      (No. 1 Stereo Jack Adapter Assembly)

    NG → REPAIR OR REPLACE HARNESS OR CONNECTOR 

    OK → See step   2 

  2. PROCEED TO NEXT SUSPECTED AREA SHOWN IN PROBLEM SYMPTOMS TABLE. Refer to  PROBLEM SYMPTOMS TABLE [08/2014 - ]