LEMON Manuals: Even more car manuals for everyone: 1960-2025
Home >> Toyota >> 2015 >> 4Runner TRD Pro >> Repair and Diagnosis (Single Page) >> Restraints >> Air Bag, SRS >> Occupant Classification System - (Diagnostic Codes & Symptom Tests) >> Occupant Classification System >> DTC B1780: Front Occupant Classification Sensor LH Circuit Malfunction [08/2014 - ] >> Procedure
April 5, 2026: LEMON Manuals is launched! Read the announcement.

DTC B1780: Front Occupant Classification Sensor LH Circuit Malfunction [08/2014 - ]: Procedure

  1. CHECK FOR DTC 
    1. Turn the ignition switch to ON, and wait for at least 60 seconds.
    2. Clear the DTCs stored in memory. Refer to DTC CHECK / CLEAR [08/2014 - ] .

      HINT: 

      • First clear the DTCs stored in the occupant classification ECU, and then clear the DTCs stored in the center airbag sensor.
      • Use the Techstream to clear the DTCs of the occupant classification ECU, otherwise the DTCs cannot be cleared.
    3. Turn the ignition switch off.
    4. Turn the ignition switch to ON, and wait for at least 60 seconds.
    5. Using the Techstream, check for DTCs of the occupant classification ECU. Refer to DTC CHECK / CLEAR [08/2014 - ] .

      OK

      DTC B1780 is not output.

      HINT: 

      DTCs other than DTC B1780 may be output at this time, but they are not related to this check.

    NG → See step   2 

    OK → See step   13 

  2. CHECK CONNECTION OF CONNECTOR 
    1. Turn the ignition switch off.
    2. Disconnect the cable from the negative (-) battery terminal, and wait for at least 90 seconds.
    3. Check that the connectors are properly connected to the occupant classification ECU and front occupant classification sensor LH.

      OK

      Connectors are properly connected.

    NG → CONNECT CONNECTOR 

    OK: Go to next step 

  3. CHECK CONNECTOR 
    1. Disconnect the connectors from the occupant classification ECU and front occupant classification sensor LH.
    2. Check that the connectors (on the occupant classification ECU side and front occupant classification sensor LH side) are not damaged. Refer to ELECTRONIC CIRCUIT INSPECTION PROCEDURE [08/2014 - ] .

      OK

      Connectors are not deformed or damaged.

    NG → REPLACE FRONT SEAT WIRE RH 

    OK: Go to next step 

  4. CHECK FRONT SEAT WIRE RH 
    1. Connect the cable to the negative (-) battery terminal, and wait for at least 2 seconds.
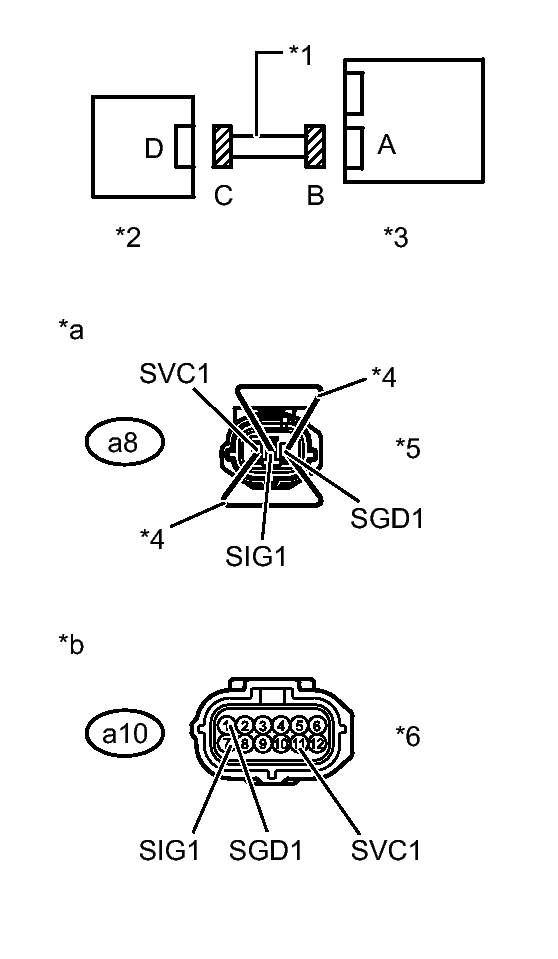
      GTY217639Courtesy of © TOYOTA, LICENSE AGREEMENT TMS1002
    2. Measure the voltage according to the value(s) in the table below.

      Standard Voltage

      Tester Connection Switch Condition Specified Condition
      a10-1 (SGD1) - Body ground Ignition switch ON Below 1 V
      a10-7 (SIG1) - Body ground
      a10-11 (SVC1) - Body ground
    3. Turn the ignition switch off.
    4. Disconnect the cable from the negative (-) battery terminal, and wait for at least 90 seconds.
    5. Using service wires, connect terminals 1 (SVC1) and 3 (SGD1), and terminals 2 (SIG1) and 3 (SGD1) of connector C.
      NOTE:

      Do not forcibly insert the service wires into the terminals of the connector.

    6. Measure the resistance according to the value(s) in the table below.

      Standard Resistance

      Tester Connection Condition Specified Condition
      a10-7 (SIG1) - a10-1 (SGD1) Always Below 1 Ω
      a10-11 (SVC1) - a10-1 (SGD1)
    7. Disconnect the service wires from connector C.
    8. Measure the resistance according to the value(s) in the table below.

      Standard Resistance

      Tester Connection Condition Specified Condition
      a10-7 (SIG1) - a10-1 (SGD1) Always 1 MΩ or higher
      a10-11 (SVC1) - a10-1 (SGD1)
      a10-7 (SIG1) - a10-11 (SVC1)
      a10-1 (SGD1) - Body ground
      a10-7 (SIG1) - Body ground
      a10-11 (SVC1) - Body ground
      TEXT IN ILLUSTRATION

      *1 Front Seat Wire RH
      *2 Front Occupant Classification Sensor LH
      *3 Occupant Classification ECU
      *4 Service Wire
      *5 Connector C
      *6 Connector B
      *a Front view of wire harness connector
      (to Front Occupant Classification Sensor LH)
      *b Front view of wire harness connector
      (to Occupant Classification ECU)

    NG → REPLACE FRONT SEAT WIRE RH 

    OK: Go to next step 

  5. CHECK FOR DTC 
    1. Connect the connectors to the occupant classification ECU and front occupant classification sensor LH.
    2. Connect the cable to the negative (-) battery terminal, and wait for at least 2 seconds.
    3. Turn the ignition switch to ON, and wait for at least 60 seconds.
    4. Clear any DTCs stored in memory. Refer to DTC CHECK / CLEAR [08/2014 - ] .

      HINT: 

      • First clear the DTCs stored in the occupant classification ECU, and then clear the DTCs stored in the center airbag sensor.
      • Use the Techstream to clear the DTCs of the occupant classification ECU, otherwise the DTCs cannot be cleared.
    5. Turn the ignition switch off.
    6. Turn the ignition switch to ON, and wait for at least 60 seconds.
    7. Using the Techstream, check for DTCs of the occupant classification ECU. Refer to DTC CHECK / CLEAR [08/2014 - ] .

      OK

      DTC B1780 is not output.

      HINT: 

      DTCs other than DTC B1780 may be output at this time, but they are not related to this check.

    NG → See step   6 

    OK → See step   14 

  6. REPLACE OCCUPANT CLASSIFICATION ECU 
    1. Turn the ignition switch off.
    2. Disconnect the cable from the negative (-) battery terminal, and wait for at least 90 seconds.
    3. Replace the occupant classification ECU. Refer to REMOVAL [08/2014 - ] .

      HINT: 

      Perform the inspection using parts from a normal vehicle when possible.

    NEXT: Go to next step 

  7. PERFORM ZERO POINT CALIBRATION 
    1. Connect the cable to the negative (-) battery terminal, and wait for at least 2 seconds.
    2. Turn the ignition switch to ON, and wait for at least 60 seconds.
    3. Using the Techstream, perform the zero point calibration. Refer to INITIALIZATION [08/2014 - ] .

      OK

      "Zero Point Calibration is complete." is displayed.

    NG → See step   10 

    OK: Go to next step 

  8. PERFORM SENSITIVITY CHECK 
    1. Using the Techstream, perform the sensitivity check. Refer to INITIALIZATION [08/2014 - ] .

      Standard range

      27 to 33 kg (59.5 to 72.8 lb)

    NG → See step   10 

    OK: Go to next step 

  9. CHECK FOR DTC 
    1. Clear the DTCs stored in memory. Refer to DTC CHECK / CLEAR [08/2014 - ] .

      HINT: 

      • First clear the DTCs stored in the occupant classification ECU, and then clear the DTCs stored in the center airbag sensor.
      • Use the Techstream to clear the DTCs of the occupant classification ECU, otherwise the DTCs cannot be cleared.
    2. Turn the ignition switch off.
    3. Turn the ignition switch to ON, and wait for at least 60 seconds.
    4. Using the Techstream, check for DTCs of the occupant classification ECU. Refer to DTC CHECK / CLEAR [08/2014 - ] .

      OK

      DTC B1780 is not output.

      HINT: 

      DTCs other than DTC B1780 may be output at this time, but they are not related to this check.

    NG → See step   10 

    OK → END 

  10. REPLACE SEPARATE TYPE FRONT SEAT CUSHION SPRING ASSEMBLY RH 
    1. Turn the ignition switch off.
    2. Disconnect the cable from the negative (-) battery terminal, and wait for at least 90 seconds.
    3. for Manual Seat:
      1. Replace the separate type front seat cushion spring RH. Refer to DISASSEMBLY [08/2014 - ] .
    4. for Power Seat:
      1. Replace the separate type front seat cushion spring RH. Refer to DISASSEMBLY [08/2014 - ] .

      HINT: 

      Perform the inspection using parts from a normal vehicle when possible.

    NEXT: Go to next step 

  11. PERFORM ZERO POINT CALIBRATION 
    1. Connect the cable to the negative (-) battery terminal, and wait for at least 2 seconds.
    2. Turn the ignition switch to ON, and wait for at least 60 seconds.
    3. Using the Techstream, perform the zero point calibration. Refer to INITIALIZATION [08/2014 - ] .

      OK

      "Zero Point Calibration is complete." is displayed.

    NEXT: Go to next step 

  12. PERFORM SENSITIVITY CHECK 
    1. Using the Techstream, perform the sensitivity check. Refer to INITIALIZATION [08/2014 - ] .

      Standard range

      27 to 33 kg (59.5 to 72.8 lb)

    NEXT → END 

  13. USE SIMULATION METHOD TO CHECK. Refer to  DIAGNOSIS SYSTEM [08/2014 - ] 
  14. USE SIMULATION METHOD TO CHECK. Refer to  DIAGNOSIS SYSTEM [08/2014 - ]