LEMON Manuals: Even more car manuals for everyone: 1960-2025
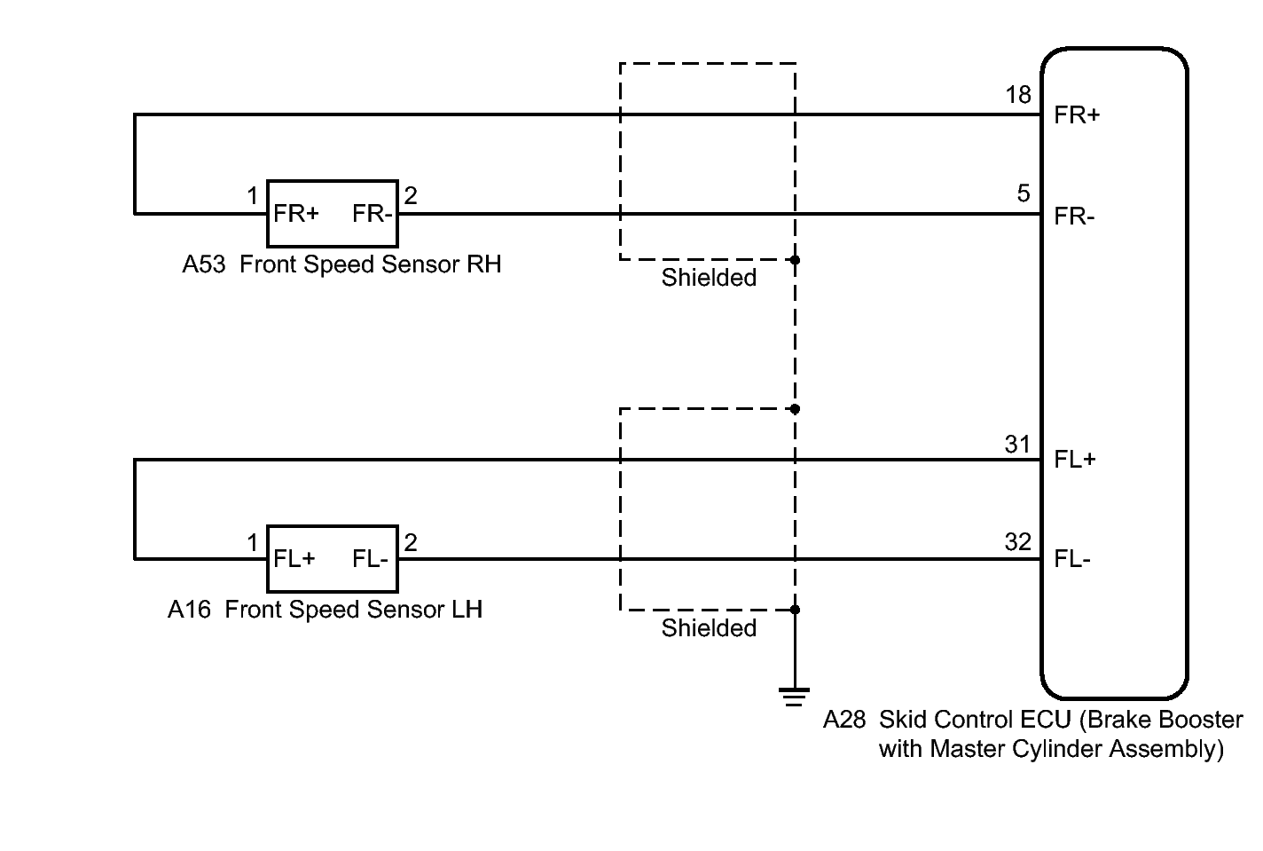
Home >> Toyota >> 2015 >> Camry LE >> Repair and Diagnosis (Single Page) >> Brakes >> Brakes Control Systems >> Electronically Controlled Brake System - (Diagnostic Codes & Symptom Tests) (Hybrid) >> Electronically Controlled Brake System >> DTC C1271/71: Low Output Signal of Front Speed Sensor RH (Test Mode DTC); DTC C1272/72: Low Output Signal of Front Speed Sensor LH (Test Mode DTC); DTC C1464/31: Front Speed Sensor RH Circuit; DTC C1465/32: Front Speed Sensor LH Circuit [09/2014 - ] >> Wiring Diagram
April 5, 2026: LEMON Manuals is launched! Read the announcement.

DTC C1271/71: Low Output Signal of Front Speed Sensor RH (Test Mode DTC); DTC C1272/72: Low Output Signal of Front Speed Sensor LH (Test Mode DTC); DTC C1464/31: Front Speed Sensor RH Circuit; DTC C1465/32: Front Speed Sensor LH Circuit [09/2014 - ]: Wiring Diagram

Fig 1: Front Speed Sensor Wiring Diagram
GTY320248Courtesy of © TOYOTA, LICENSE AGREEMENT TMS1002