LEMON Manuals: Even more car manuals for everyone: 1960-2025
Home >> Toyota >> 2015 >> Prius Plug-in >> Repair and Diagnosis >> Engine Performance >> Engine Control Systems >> Plug-In Charge Control System - Diagnostic Codes & Circuit Tests (Plug-In) >> Plug-In Charge Control System >> Circuit Test >> Open in AC Line [08/2014 - ] >> Procedure
April 5, 2026: LEMON Manuals is launched! Read the announcement.

Open in AC Line [08/2014 - ]: Procedure

  1. CHECK ELECTRIC VEHICLE CHARGER CABLE ASSEMBLY (CONNECTION CONDITION) 
    1. Visual inspection
      1. Check if any foreign matter is attached to the connecting part of the electric vehicle charger cable assembly.
        GTY480857Courtesy of © TOYOTA, LICENSE AGREEMENT TMS1002
        TEXT IN ILLUSTRATION

        *a Electric Vehicle Charger Cable Assembly
        (Charging Connector Side)
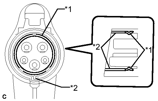
      2. Check the installation condition of the EV charge connector seal.
        GTY478012Courtesy of © TOYOTA, LICENSE AGREEMENT TMS1002
        TEXT IN ILLUSTRATION

        *1 EV Charge Connector Seal
        *2 EV Charge Connector Retainer
        NOTE:

        If the EV charge connector seal is loose, replace the EV charge connector seal and EV charge connector retainer.

    2. Check the latch release button (PISW)
      1. Check that the latch release button (PISW) can be pressed with no abnormal resistance.
        GTY429865Courtesy of © TOYOTA, LICENSE AGREEMENT TMS1002
        TEXT IN ILLUSTRATION

        *a Latch Release Button (PISW)
    3. Check for connection
      1. Check that the electric vehicle charger cable assembly and electric vehicle charger cable (charging inlet side) can be connected smoothly.

        OK

        The electric vehicle charger cable assembly and electric vehicle charger cable (charging inlet side) connect smoothly.

        HINT: 

        If the result is not as specified, perform the following checks.

      2. Check that the terminals of the electric vehicle charger cable assembly (charging connector side) are not bent or deformed.
        GTY433072Courtesy of © TOYOTA, LICENSE AGREEMENT TMS1002
        TEXT IN ILLUSTRATION

        *a Electric Vehicle Charger Cable Assembly
        (Charging Connector Side)
        *b Terminal

        OK

        The terminals are not bent or deformed.

        HINT: 

        If the result is not as specified, replace the electric vehicle charger cable assembly.

      3. Check that the terminals of the electric vehicle charger cable (charging inlet side) are not bent or deformed.
        GTY428689Courtesy of © TOYOTA, LICENSE AGREEMENT TMS1002
        TEXT IN ILLUSTRATION

        *a Electric Vehicle Charger Cable
        (Charging Connector Side)
        *b Terminal

        OK

        The terminals are not bent or deformed.

        HINT: 

        • If the electric vehicle charger cable assembly (charging connector side) is connected to the electric vehicle charger cable (charging inlet side) incorrectly, the terminals may be bent or deformed.
        • If the result is not as specified, replace the electric vehicle charger cable.

    NG → REPLACE MALFUNCTIONING PARTS 

    OK: Go to next step 

  2. CHECK ELECTRIC VEHICLE CHARGER CABLE (CHARGING INLET - ELECTRIC VEHICLE CHARGER WIRE CONNECTOR) See step   9 

    NG → See step   5 

    OK: Go to next step 

  3. CHECK ELECTRIC VEHICLE CHARGER WIRE (ELECTRIC VEHICLE CHARGER WIRE CONNECTOR - ELECTRIC VEHICLE CHARGER ASSEMBLY) See step   10 

    NG → See step   6 

    OK: Go to next step 

  4. CHECK ELECTRIC VEHICLE CHARGER ASSEMBLY (VAC SENSOR OUTPUT VOLTAGE) See step   3 

    NG → See step   7 

    OK → See step   8 

  5. REPLACE ELECTRIC VEHICLE CHARGER CABLE. Refer to  COMPONENTS [08/2014 - ] 
  6. REPLACE ELECTRIC VEHICLE CHARGER WIRE. Refer to  COMPONENTS [08/2014 - ] 
  7. REPLACE ELECTRIC VEHICLE CHARGER ASSEMBLY. Refer to  COMPONENTS [08/2014 - ] 
  8. REPLACE PLUGIN CHARGE CONTROL ECU ASSEMBLY. Refer to  COMPONENTS [08/2014 - ]