LEMON Manuals: Even more car manuals for everyone: 1960-2025
Home >> Toyota >> 2015 >> Prius Plug-in >> Repair and Diagnosis >> Engine Performance >> Engine Control Systems >> Plug-In Charge Control System - Diagnostic Codes & Circuit Tests (Plug-In) >> Plug-In Charge Control System >> DTC P0D67-844: On-Board Charger Malfunction [08/2014 - ] >> Procedure
April 5, 2026: LEMON Manuals is launched! Read the announcement.

DTC P0D67-844: On-Board Charger Malfunction [08/2014 - ]: Procedure

  1. CHECK DTC OUTPUT (HYBRID CONTROL) 
    1. Connect the Techstream to the DLC3.
    2. Turn the power switch on (IG).
    3. Enter the following menus: Powertrain / Hybrid Control / Trouble Codes.
    4. Check if DTCs are output.

      Result

      Result Proceed to
      Only P0D67-844 is output or P0D67-844 and DTCs other than the ones in the table below are also output. A
      Any of the following DTCs are also output. B
      DTC No. Relevant Diagnosis
      P0A1D-144, 148, 162, 721, 722, 723, 787, 818, 821, 823 Hybrid Powertrain Control Module
      P0ADC-226 Hybrid Battery Positive Contactor Control Circuit High
      P0AE0-228 Hybrid Battery Negative Contactor Control Circuit High
      P2511-149 HV CPU Power Relay Sense Circuit Intermittent No Continuity
      P3004-131, 803 Power Cable Malfunction
      U019B-440 Lost Communication with Battery Charger Control Module

      HINT: 

      P0D67-844 may be output due to a malfunction which causes the DTCs in the table above to be output. In this case, first troubleshoot the output DTCs in the table above. Then, perform a reproduction test to check that no DTCs are output.

    5. Turn the power switch off.

    B → See step   5 

    A: Go to next step 

  2. CHECK DTC OUTPUT (PLUG-IN CONTROL) 
    1. Connect the Techstream to the DLC3.
    2. Turn the power switch on (IG).
    3. Enter the following menus: Powertrain / Plug-in Control / Trouble Codes.
    4. Check if DTCs are output.

      Result

      Result Proceed to
      Only P0D67-844 is output or P0D67-844 and DTCs other than the ones in the table below are also output. A
      Any of the following DTCs are also output. B
      DTC No. Relevant Diagnosis
      P0D20-422 Charger Relay Stuck Open
      P0D4D-404 On-Board Charger Output Voltage Sensor Circuit Range / Performance
      P2511-441 Reset Detected
      P321D-644 Charging System Voltage High
      U0293-439, 449 Lost Communication with Hybrid Powertrain Control Module

      HINT: 

      P0D67-844 may be output due to a malfunction which causes the DTCs in the table above to be output. In this case, first troubleshoot the output DTCs in the table above. Then, perform a reproduction test to check that no DTCs are output.

    5. Turn the power switch off.

    B → See step   6 

    A: Go to next step 

  3. CHECK PLUG-IN CHARGE STATE 

    HINT: 

    • Check with the customer if the 120 V power used for plug-in charging was supplied by a power company.
    • If the electric vehicle charger cable assembly that was used to plug-in charge the vehicle is available, perform a reproduction test using it and a known good 120 V outlet as follows. This allows the electric vehicle charger cable assembly to be determined as OK or NG when the vehicle is not malfunctioning.
    1. Plug-in charge the vehicle using a known good 120 V outlet.
      1. Connect the Techstream to the DLC3.
      2. Turn the power switch on (IG).
      3. Clear DTC.
      4. Enter the following menus: Powertrain / Plug-in Control / Data List.
      5. Check that "State of Charge (All Bat)" shows 70% or less.
      6. Turn the power switch off.
      7. Connect the electric vehicle charger cable assembly and fully charge the vehicle. Check that plug-in charge control system DTCs are not output.

        Result

        Result Proceed to
        DTCs are output or plug-in charge cannot be completed. A
        DTCs are not output and plug-in charge has been completed. B

        HINT: 

        • This DTC could be output due to rapid fluctuation of AC input voltage.
        • As the voltage fluctuates quickly, it is difficult to check the plug-in charge state by reading the freeze frame data or Data List item "On-Board Charger Input Voltage".

    B → END (NO MALFUNCTION IN VEHICLE) 

    A: Go to next step 

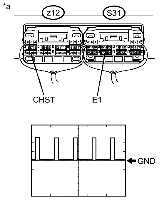
  4. CHECK PLUGIN CHARGE CONTROL ECU ASSEMBLY (CHECK WAVEFORM (CHST)) 
    1. Connect the Techstream to the DLC3.
    2. Connect an oscilloscope between the plugin charge control ECU assembly terminals specified in the table below.
    3. Turn the power switch on (IG).
    4. Enter the following menus: Powertrain / Plug-in Control / Data List
    5. Select "Charger State Pulse Duty Ratio" in the Data List.
      Tester Display Measurement Item/Range
      Charger State Pulse Duty Ratio Electric vehicle charger assembly charging status indicated by duty/
      Min.: 0.0 %, Max.: 100.0%
    6. Measure the waveform.
      GTY329180Courtesy of © TOYOTA, LICENSE AGREEMENT TMS1002
      Item Contents
      Tester Connection z12-29 (CHST) - S31-14 (E1)
      Equipment Setting 5 V/DIV., 50 ms/DIV.
      Condition Power switch on (IG)
      TEXT IN ILLUSTRATION

      *a Component with harness connected
      (Plugin Charge Control ECU Assembly)
    7. Calculate duty (%) based on the CHST waveform.
      GTY328379Courtesy of © TOYOTA, LICENSE AGREEMENT TMS1002
      TEXT IN ILLUSTRATION

      *a Reference diagram for duty calculation

      HINT: 

      Calculate duty (%) using the following formula: Duty (%) = T1 / T2 x 100 (%)

    8. Compare the Data List item "Charger State Pulse Duty Ratio" with the duty (%) calculated based on CHST waveform.

      Result

      Result Proceed to
      The difference between "Charger State Pulse Duty Ratio" and the duty (%) calculated based on CHST waveform is less than 20 %. A
      The difference between "Charger State Pulse Duty Ratio" and the duty (%) calculated based on CHST waveform is 20 % or more. B
    9. Turn the power switch off.

    B → See step   8 

    A → See step   7 

  5. GO TO DTC CHART (HYBRID CONTROL SYSTEM). Refer to  DIAGNOSTIC TROUBLE CODE CHART [08/2014 - ] 
  6. GO TO DTC CHART (PLUG-IN CHARGE CONTROL SYSTEM). Refer to  DIAGNOSTIC TROUBLE CODE CHART [08/2014 - ] 
  7. REPLACE ELECTRIC VEHICLE CHARGER ASSEMBLY. Refer to  COMPONENTS [08/2014 - ] 
  8. REPLACE PLUGIN CHARGE CONTROL ECU ASSEMBLY. Refer to  COMPONENTS [08/2014 - ]