LEMON Manuals: Even more car manuals for everyone: 1960-2025
Home >> Toyota >> 2015 >> Prius Plug-in >> Repair and Diagnosis >> Engine Performance >> System >> Engine Control System - Diagnostic Codes (P0327-P1423) (Plug-In) >> SFI System >> DTC P0403: Exhaust Gas Recirculation Control Circuit [08/2014 - ] >> Procedure
April 5, 2026: LEMON Manuals is launched! Read the announcement.

DTC P0403: Exhaust Gas Recirculation Control Circuit [08/2014 - ]: Procedure

  1. PERFORM ACTIVE TEST USING TECHSTREAM (CONTROL THE EGR STEP POSITION) 
    1. Connect the Techstream to the DLC3.
    2. Turn the power switch on (IG).
    3. Turn the Techstream on.
    4. Put the engine in inspection mode (maintenance mode). Refer to INSPECTION MODE PROCEDURE [08/2014 - ] .
    5. Start the engine and warm it up until the engine coolant temperature reaches 75°C (167°F) or higher.

      HINT: 

      The A/C switch and all accessory switches should be off.

    6. Enter the following menus: Powertrain / Engine and ECT / Active Test / Control the EGR Step Position / Data List / Primary / Throttle Idle Position and MAP.
    7. Confirm that the Throttle Idle Position is ON and check the MAP value in the Data List while performing the Active Test.

      HINT: 

      • Do not leave the EGR valve open for 10 seconds or more during the Active Test.
      • Be sure to return the EGR valve to step 0 when the Active Test is completed.
      • Do not open the EGR valve 30 steps or more during the Active Test.

      OK

      MAP change in response to EGR step position when Throttle Idle Position is ON in Data List.

      Standard

      - EGR Step Position (Active Test)
      0 Steps 0 to 30 Steps
      MAP
      (Data List)
      (EGR valve is fully closed) MAP value is at least +10 kPa (75 mmHg) higher than when EGR valve is fully closed

      HINT: 

      • While performing the Active Test, if the increase in the value of MAP is small, the EGR valve assembly may be a malfunctioning.
      • Even if the EGR valve assembly is malfunctioning, rough idling or an increase in the value of MAP may occur while performing the Active Test. However, the amount that the value of MAP increases will be smaller than normal.

    NG → See step   2 

    OK → See step   5 

  2. INSPECT EGR VALVE ASSEMBLY 
    1. Inspect the EGR valve assembly. Refer to INSPECTION [08/2014 - ] .

      HINT: 

      Perform "Inspection After Repair" after replacing the EGR valve assembly. Refer to INITIALIZATION [08/2014 - ] .

    NG → See step   6 

    OK: Go to next step 

  3. CHECK TERMINAL VOLTAGE (POWER SOURCE OF EGR VALVE ASSEMBLY) 
    1. Disconnect the EGR valve assembly connector.
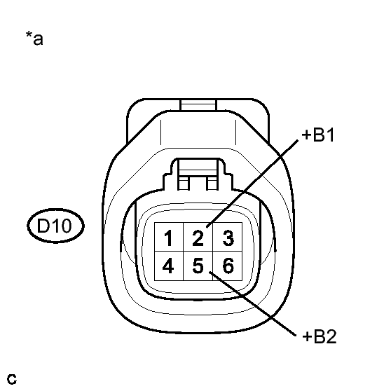
      GTY225523Courtesy of © TOYOTA, LICENSE AGREEMENT TMS1002
    2. Turn the power switch on (IG).
    3. Measure the voltage according to the value(s) in the table below.

      Standard Voltage

      Tester Connection Condition Specified Condition
      D10-2 (+B1) - Body ground Power switch on (IG) 11 to 14 V
      D10-5 (+B2) - Body ground Power switch on (IG) 11 to 14 V
      TEXT IN ILLUSTRATION

      *a Front view of wire harness connector
      (to EGR Valve Assembly)

    NG → REPAIR OR REPLACE HARNESS OR CONNECTOR (EGR VALVE ASSEMBLY - EFI MAIN RELAY) 

    OK: Go to next step 

  4. CHECK HARNESS AND CONNECTOR (EGR VALVE ASSEMBLY - ECM) 
    1. Disconnect the EGR valve assembly connector.
    2. Disconnect the ECM connector.
    3. Measure the resistance according to the value(s) in the table below.

      Standard Resistance

      Tester Connection Condition Specified Condition
      D10-4 (EGR1) - D28-45 (EGR1) Always Below 1 Ω
      D10-3 (EGR2) - D28-44 (EGR2) Always Below 1 Ω
      D10-6 (EGR3) - D28-43 (EGR3) Always Below 1 Ω
      D10-1 (EGR4) - D28-42 (EGR4) Always Below 1 Ω
      D10-4 (EGR1) or D28-45 (EGR1) - Body ground Always 10 kΩ or higher
      D10-3 (EGR2) or D28-44 (EGR2) - Body ground Always 10 kΩ or higher
      D10-6 (EGR3) or D28-43 (EGR3) - Body ground Always 10 kΩ or higher
      D10-1 (EGR4) or D28-42 (EGR4) - Body ground Always 10 kΩ or higher

    NG → REPAIR OR REPLACE HARNESS OR CONNECTOR 

    OK → See step   7 

  5. CHECK FOR INTERMITTENT PROBLEMS. Refer to  CHECK FOR INTERMITTENT PROBLEMS [08/2014 - ] 
  6. REPLACE EGR VALVE ASSEMBLY. Refer to  REMOVAL [08/2014 - ] 
  7. REPLACE ECM. Refer to  REMOVAL [08/2014 - ]