LEMON Manuals: Even more car manuals for everyone: 1960-2025
Home >> Toyota >> 2015 >> Prius Plug-in >> Repair and Diagnosis >> External Pages >> Different variant/trim >> Section 110 (Power Door Lock Control System (Diagnostics & Symptom Tests) (Except Plug-In)) >> Power Door Lock Control System >> All Doors LOCK/UNLOCK Functions do not Operate Via Door Control Switch [08/2014 - ] >> Procedure
April 5, 2026: LEMON Manuals is launched! Read the announcement.

All Doors LOCK/UNLOCK Functions do not Operate Via Door Control Switch [08/2014 - ]: Procedure

WARNING: This page is about a different variant/trim than selected.
  1. READ VALUE USING TECHSTREAM (DOOR CONTROL SWITCH) 
    1. Connect the Techstream to the DLC3.
    2. Turn the power switch on (IG).
    3. Turn the Techstream on.
    4. Enter the following menus: Body Electrical / Main Body / Data List.
    5. Read the Data List according to the display on the Techstream.
      MAIN BODY (MAIN BODY ECU (MULTIPLEX NETWORK BODY ECU))

      Tester Display Measurement Item/Range Normal Condition Diagnostic Note
      Door Lock SW-Lock Front passenger side door control switch lock signal/ON or OFF ON: Lock side of front passenger side door control switch pushed
      OFF: Lock side of front passenger side door control switch not pushed
      -
      Door Lock SW-Unlock Front passenger side door control switch unlock signal/ON or OFF ON: Unlock side of front passenger side door control switch pushed
      OFF: Unlock side of front passenger side door control switch not pushed
      -

      OK

      The Techstream indicates ON or OFF according to the switch operation shown in the table.

    NG → See step   2 

    OK → See step   5 

  2. INSPECT DOOR CONTROL SWITCH ASSEMBLY 
    1. Remove the door control switch assembly. Refer to REMOVAL [08/2014 - ] .
      GTY215072Courtesy of © TOYOTA, LICENSE AGREEMENT TMS1002
    2. Measure the resistance according to the value(s) in the table below.

      Standard Resistance

      Tester Connection Switch Condition Specified Condition
      4 (L) - 3 (E) Locked Below 1 Ω
      4 (L) - 3 (E) off 10 kΩ or higher
      2 (UL) - 3 (E) Unlocked Below 1 Ω
      2 (UL) - 3 (E) off 10 kΩ or higher
      TEXT IN ILLUSTRATION

      *1 Component without harness connected
      (Door Control Switch Assembly)
      *2 Unlock
      *3 Lock

    NG → See step   4 

    OK: Go to next step 

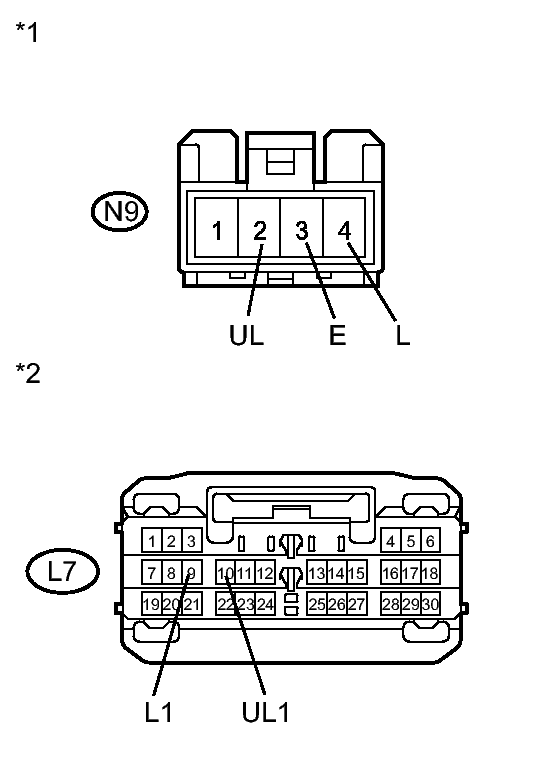
  3. CHECK HARNESS AND CONNECTOR (DOOR CONTROL SWITCH - MAIN BODY ECU AND BODY GROUND) 
    1. Disconnect the main body ECU (multiplex network body ECU) connector.
      GTY217456Courtesy of © TOYOTA, LICENSE AGREEMENT TMS1002
    2. Measure the resistance according to the value(s) in the table below.

      Standard Resistance

      Tester Connection Condition Specified Condition
      N9-2 (UL) - L7-10 (UL1) Always Below 1 Ω
      N9-4 (L) - L7-9 (L1) Always Below 1 Ω
      N9-3 (E) - Body ground Always Below 1 Ω
      N9-2 (UL) - Body ground Always 10 kΩ or higher
      N9-4 (L) - Body ground Always 10 kΩ or higher
      TEXT IN ILLUSTRATION

      *1 Front view of wire harness connector
      (to Door Control Switch Assembly)
      *2 Front view of wire harness connector
      (to Main Body ECU (Multiplex Network Body ECU))

    NG → REPAIR OR REPLACE HARNESS OR CONNECTOR 

    OK → See step   5 

  4. REPLACE DOOR CONTROL SWITCH ASSEMBLY. Refer to  REMOVAL [08/2014 - ] 
  5. REPLACE MAIN BODY ECU (MULTIPLEX NETWORK BODY ECU). Refer to  REMOVAL [08/2014 - ]