LEMON Manuals: Even more car manuals for everyone: 1960-2025
Home >> Toyota >> 2015 >> Prius Plug-in >> Repair and Diagnosis >> External Pages >> Different variant/trim >> Section 51 (Hybrid Battery Control System (Service Information) (Except Plug-In)) >> Power Module Intelligent Transistor >> Installation [08/2014 - ] >> Installation [08/2014 - ]
April 5, 2026: LEMON Manuals is launched! Read the announcement.

Installation [08/2014 - ]

WARNING: This page is about a different variant/trim than selected.
NOTE:

Do not cross-thread the bolts when installing them.

HINT: 

Prepare 2 tubes of thermal grease X-23-7884-4 (08887-02809) when replacing the power module intelligent transistor kit.

  1. REMOVE THERMAL GREASE 
    1. Using a scraper with its tip wrapped with protective tape, remove any remaining thermal grease from the hybrid vehicle converter kit as shown in the illustration.
      Fig 1: Removing Thermal Grease Form The Converter Using A Scraper Tip Wrapped in Protective Tape
      GTY444249Courtesy of © TOYOTA, LICENSE AGREEMENT TMS1002
      NOTE:
      • To prevent thermal grease from entering the hybrid vehicle converter kit, remove it by moving the scraper from the sides toward the center as shown in the illustration.
      • Keep the parts free from foreign matter.
      • Keep thermal grease away from other parts.
      • Do not spray non-residue solvent directly onto the parts when cleaning.
      • Clean parts with a piece of cloth saturated with non-residue solvent.
      • Do not use compressed air when cleaning to prevent dust from flying.
    2. Using a piece of cloth, remove the thermal grease.

      HINT: 

      It is acceptable to leave a small amount of thermal grease in the grooves.

  2. REMOVE SEAL PACKING (FROM HYBRID CONVERTER KIT CONTACT SURFACE) 
    NOTE:
    • Only remove seal packing which is uneven, has peeled off or seeped out from between the contact surfaces.
    • Do not drop any removed seal packing into the hybrid vehicle converter kit.
    • Do not bend the bus-bars.
    1. Install the 2 stud bolts and set the hybrid vehicle converter kit on its side as shown in the illustration.
      Fig 2: Identifying The Converter Kit Studs
      GTY434582Courtesy of © TOYOTA, LICENSE AGREEMENT TMS1002
      TEXT IN ILLUSTRATION

      *1 Stud Bolt - -
      NOTE:

      To prevent the hybrid vehicle converter kit from falling over, hold it with a hand or place an object behind it.

    2. Using a finger or a scraper with its tip wrapped with protective tape, remove any remaining seal packing which is uneven, has peeled off or seeped out from around the contact surface shown in the illustration and inside the bolt holes.
      NOTE:

      Do not bend the bus-bars.

      Fig 3: Identifying FIPG & Contact Areas On The Converter
      GTY436664Courtesy of © TOYOTA, LICENSE AGREEMENT TMS1002
      TEXT IN ILLUSTRATION

      *1 Seeped Out or Uneven Seal Packing *2 Light Coat of Seal Packing Remaining on Contact Surface
      *a Contact Surface *b Minimum Requirement for Removal of Seal Packing
    3. While supporting the hybrid vehicle converter kit by hand, using a finger or a scraper with its tip wrapped with protective tape, remove any remaining seal packing which is uneven, has peeled off or seeped out from around the contact surface shown in the illustration and inside the bolt holes.
      Fig 4: Removing Any Remaining Seal Packing From Contact Surface
      GTY476348Courtesy of © TOYOTA, LICENSE AGREEMENT TMS1002
      TEXT IN ILLUSTRATION

      *a Contact Surface - -
    4. Remove the 2 stud bolts.
  3. REMOVE SEAL PACKING (FROM INVERTER CASE WITH CONDENSER CONTACT SURFACE) 
    NOTE:
    • Only remove seal packing which is uneven, has peeled off or seeped out from between the contact surfaces.
    • Do not drop any removed seal packing into the inverter case with condenser.
    • Do not bend the bus-bars.
    1. Set the inverter case with condenser on its side as shown in the illustration.
      NOTE:

      To prevent the inverter case with condenser from falling over, hold it by hand or place an object behind it.

    2. Using a finger or a scraper with its tip wrapped with protective tape, remove any remaining seal packing which is uneven, has peeled off or seeped out from around the contact surface shown in the illustration and inside the bolt holes.
      Fig 5: Removing Any Remaining Seal Packing From Contact Surface
      GTY479605Courtesy of © TOYOTA, LICENSE AGREEMENT TMS1002
      TEXT IN ILLUSTRATION

      *1 Seeped Out or Uneven Seal Packing *2 Light Coat of Seal Packing Remaining on Contact Surface
      *a Minimum Requirement for Removal of Seal Packing - -
  4. REMOVE ADHESIVE (FROM NO. 1 AND NO. 2 INVERTER DRAIN PLUGS SEALING SURFACE) 
    1. Remove the protective tape from the installation holes of the No. 1 and No. 2 inverter drain plugs.
      Fig 6: Removing The Protective Tape From The Installation Holes Of The No. 1 And No. 2 Inverter Drain Plugs
      GTY477079Courtesy of © TOYOTA, LICENSE AGREEMENT TMS1002
      TEXT IN ILLUSTRATION

      *1 Protective Tape
    2. Apply protective tape to the No. 1 and No. 2 inverter drain plugs installation holes from the inside.
      Fig 7: Location Of Protective Tape Applied To No. 1 & No. 2 Inverter Drain Plugs Holes
      GTY426219Courtesy of © TOYOTA, LICENSE AGREEMENT TMS1002
      TEXT IN ILLUSTRATION

      *1 Protective Tape
      NOTE:

      Do not bend the bus-bars when applying protective tape.

    3. Using a scraper with its tip wrapped with protective tape, remove any remaining adhesive from the sealing surface of 2 inverter drain plugs.
      Fig 8: Identification Of The Sealing Surface Of The Drain Plug Hole
      GTY431509Courtesy of © TOYOTA, LICENSE AGREEMENT TMS1002
      TEXT IN ILLUSTRATION

      *1 Sealing Surface
      NOTE:

      Do not damage the sealing surfaces.

    4. Remove any adhesive shavings particles using tape or equivalent.
    5. Remove the protective tape from the inside of the inverter case with condenser.
    6. Apply protective tape to the installation holes of the No. 1 and No. 2 inverter drain plugs as shown in the illustration.
      Fig 9: Applying Protective Tape To The Installation Holes Of The No. 1 And No. 2 Inverter Drain Plugs
      GTY477079Courtesy of © TOYOTA, LICENSE AGREEMENT TMS1002
      TEXT IN ILLUSTRATION

      *1 Protective Tape
  5. REMOVE RESIDUE (FROM INVERTER SIGNAL CONNECTOR COVER SEALING SURFACE) 
    1. Apply protective tape to the area shown in the illustration to prevent removed residue from entering the inverter case with condenser.
      Fig 10: Identifying The Protective Tape Inside The Inverter Case
      GTY444331Courtesy of © TOYOTA, LICENSE AGREEMENT TMS1002
      TEXT IN ILLUSTRATION

      *1 Protective Tape
    2. Using 600-grit sandpaper, remove the residue from each grommet sealing surface until it feels smooth.
      Fig 11: Using 600 Grit Sandpaper, Remove Any Residue From Each Grommet Sealing Surface
      GTY477741Courtesy of © TOYOTA, LICENSE AGREEMENT TMS1002
      NOTE:
      • Use 600-grit or higher sandpaper.
      • Do not allow removed residue to enter the inverter case with condenser or hybrid vehicle converter kit.
      • Do not touch or allow grease or oil to contact the sealing surfaces of the inverter case with condenser.
    3. Remove any adhesive particles using tape or equivalent.
    4. Remove the protective tape.
    5. Thoroughly wash hands after performing this step.

      HINT: 

      This step is not necessary if performing the "Remove Residue (from Grommet Sealing Surface)" procedure next.

  6. REMOVE RESIDUE (FROM GROMMET SEALING SURFACE) 

    HINT: 

    Perform the following procedure only when there is residue on the grommet sealing surfaces:

    1. Apply protective tape to the areas shown in the illustration to prevent removed residue from entering the inverter case with condenser and hybrid vehicle converter kit.
      Fig 12: Identifying Protective Tape Application Areas on Inverter Case & Converter
      GTY433504Courtesy of © TOYOTA, LICENSE AGREEMENT TMS1002
      TEXT IN ILLUSTRATION

      *1 Inverter Case with Condenser *2 Hybrid Vehicle Converter Kit
      *3 Protective Tape - -
    2. Using 600-grit sandpaper, remove the residue from each grommet sealing surface until it feels smooth.
      Fig 13: Using 600 Grit Sandpaper, Remove Any Residue From Each Grommet Sealing Surface
      GTY481205Courtesy of © TOYOTA, LICENSE AGREEMENT TMS1002
      TEXT IN ILLUSTRATION

      *a Residue - -
      NOTE:
      • Use 600-grit or higher sandpaper.
      • Do not allow removed residue to enter the inverter case with condenser or hybrid vehicle converter kit
    3. Remove any adhesive shavings particles using tape or equivalent.
    4. Remove the protective tape.
    5. Thoroughly wash hands after performing this step.
  7. CLEAN INVERTER SIGNAL CONNECTOR COVER 
    1. Remove the gasket from the inverter signal connector cover. Wash the gasket and inverter signal connector cover with water and dry them completely.
      NOTE:

      Do not damage the gasket.

      Fig 14: Identifying The Inverter Signal Connector Cover Gasket
      GTY443212Courtesy of © TOYOTA, LICENSE AGREEMENT TMS1002
      TEXT IN ILLUSTRATION

      *1 Gasket
    2. Thoroughly wash hands after performing this step.
  8. INSTALL POWER MODULE INTELLIGENT TRANSISTOR KIT 
    NOTE:
    • Do not touch the circuit board.
    • Do not allow any moisture to come into contact with the circuit board.
    1. Place the hybrid vehicle converter kit so that the guide pins are positioned as shown in the illustration and clean the thermal grease contacting area of the hybrid vehicle converter kit.
      Fig 15: Identifying The Converter Guide Pins
      GTY429308Courtesy of © TOYOTA, LICENSE AGREEMENT TMS1002
      TEXT IN ILLUSTRATION

      *1 Guide Pins
      *a Thermal Grease Contacting Area

      HINT: 

      Clean the hybrid vehicle converter kit contact surfaces with a piece of cloth saturated with non-residue solvent.

    2. Apply protective tape to the wire harness to keep it free from grease.
      Fig 16: Identifying Wire Harness Protective Tape
      GTY452363Courtesy of © TOYOTA, LICENSE AGREEMENT TMS1002
      TEXT IN ILLUSTRATION

      *1 Protective Tape
    3. Apply protective tape to prevent grease from entering the hybrid vehicle converter kit.
      Fig 17: Identifying Protective Tape & Application Areas
      GTY449561Courtesy of © TOYOTA, LICENSE AGREEMENT TMS1002
      TEXT IN ILLUSTRATION

      *1 Protective Tape
    4. Remove the protective paper from the masking seal.
      Fig 18: Removing The Protective Paper From The Masking Seal
      GTY431020Courtesy of © TOYOTA, LICENSE AGREEMENT TMS1002
    5. Align the guide holes of the masking seal with the guide pins as shown in the illustration, and attach the masking seal to the hybrid vehicle converter kit.
      Fig 19: Identifying The Masking Seal, Guide Pins, And Guide Holes & Aligning Them
      GTY447982Courtesy of © TOYOTA, LICENSE AGREEMENT TMS1002
      TEXT IN ILLUSTRATION

      *1 Masking Seal *2 Guide Pins
      *3 Guide Hole - -
    6. Check that the masking seal is attached correctly, then firmly press on it with your fingers to securely attach it.
      Fig 20: Correct Attachment Of The Masking Seal
      GTY432190Courtesy of © TOYOTA, LICENSE AGREEMENT TMS1002
      NOTE:
      • Securely attach the masking seal without leaving any air bubbles.
      • Do not touch the bus-bars when attaching the masking seal.
    7. Gently squeeze the tube of thermal grease and apply a small amount to a piece of cloth.
      Fig 21: Dispensing Thermal Grease To A Piece Of Cloth
      GTY444064Courtesy of © TOYOTA, LICENSE AGREEMENT TMS1002

      HINT: 

      Some clear liquid may come out first. Squeeze it out completely onto a piece of cloth.

    8. Apply thermal grease to 13 places as shown in the illustration.
      Fig 22: Identifying Thermal Grease Application Areas
      GTY435318Courtesy of © TOYOTA, LICENSE AGREEMENT TMS1002
      TEXT IN ILLUSTRATION

      *a Reference Line *b Almost equally spaced
      *c Approximately 6.0 mm (0.236 in.) *d Approximately 2.0 mm (0.0787 in.)
    9. Using SST, carefully apply the thermal grease smoothly and evenly by spreading it as shown in the illustration. (Procedure A)
      • SST: 09891-47010 
      Fig 23: Identifying SST & Thermal Grease Application Method
      GTY452001Courtesy of © TOYOTA, LICENSE AGREEMENT TMS1002
      TEXT IN ILLUSTRATION

      *1 SST
      *a 45°
      NOTE:
      • Before performing work, check that the thermal grease contacting area of SST is not damaged.
      • Apply the thermal grease smoothly and evenly to ensure proper heat transfer.
      • Keep SST at a 45-degree angle and perform work carefully.
    10. Change the orientation of SST as shown in the illustration. (Procedure B)
      Fig 24: Identifying The SST & Changing The Orientation Of The SST
      GTY442369Courtesy of © TOYOTA, LICENSE AGREEMENT TMS1002
      TEXT IN ILLUSTRATION

      *1 SST - -
      *a 45° - -
    11. Using SST, carefully apply the thermal grease smoothly and evenly by spreading it as shown in the illustration. (Procedure C)
      Fig 25: Identifying The SST & Application Method
      GTY439777Courtesy of © TOYOTA, LICENSE AGREEMENT TMS1002
      TEXT IN ILLUSTRATION

      *1 SST
      *a 45°
    12. Repeat steps A through C until the thermal grease is smooth and even.
    13. Check that the thermal grease has been applied smoothly and evenly.
    14. If the thermal grease layer is uneven and the part surface shows through, apply more thermal grease.
      Fig 26: View Of Applying Thermal Grease
      GTY453840Courtesy of © TOYOTA, LICENSE AGREEMENT TMS1002
    15. Using SST, carefully apply the thermal grease smoothly and evenly.
      NOTE:
      • Apply the thermal grease smoothly and evenly to ensure proper heat transfer.
      • Keep SST at a 45-degree angle and perform work carefully.
    16. If foreign matter has attached to the part surface, scrape it off using the edge of the thermal grease tube, and apply more thermal grease.
      Fig 27: Scraping Off Foreign Matter By Using The Edge Of The Thermal Grease Tube
      GTY439347Courtesy of © TOYOTA, LICENSE AGREEMENT TMS1002
    17. Using SST, carefully apply the thermal grease smoothly and evenly.
      NOTE:
      • Apply the thermal grease smoothly and evenly to ensure proper heat transfer.
      • Keep SST at a 45-degree angle and perform work carefully.
    18. Check that the thermal grease has been applied smoothly and evenly.
    19. Remove the masking seal from the hybrid vehicle converter kit.
      Fig 28: Removing The Masking Seal From The Converter Kit
      GTY449178Courtesy of © TOYOTA, LICENSE AGREEMENT TMS1002
      TEXT IN ILLUSTRATION

      *1 Bus-bar
      *a Remove
      NOTE:
      • Slowly remove the masking seal without touching the thermal grease surface.
      • Be careful not to touch the bus-bars when removing the masking seal.
    20. Remove the protective tape.
    21. Align the guide holes with the guide pins as shown in the illustration, and temporarily install the power module intelligent transistor kit to the hybrid vehicle converter kit.
      Fig 29: Identifying The Guide Pins & Guide Holes And Aligning Them
      GTY446996Courtesy of © TOYOTA, LICENSE AGREEMENT TMS1002
      TEXT IN ILLUSTRATION

      *1 Guide Pins *2 Guide Hole (Oblong Hole)
      *3 Guide Hole (Circular Hole) - -
      NOTE:
      • Do not apply any force the coolant pipes.
      • Make sure to align the guide pins correctly.
      • Be careful not to deform the bus-bars.
    22. Install the power module intelligent transistor kit with the 4 bolts.
    23. Temporarily tighten the 4 bolts evenly in several steps in the order shown in the illustration, then fully tighten them.

      Torque: 6.0 N*m (61 kgf*cm, 53 in.*lbf) 

      Fig 30: Identifying The Power Module Bolts & Tightening Sequence
      GTY444230Courtesy of © TOYOTA, LICENSE AGREEMENT TMS1002
    24. Connect the 2 connectors to the power module intelligent transistor kit.
      Fig 31: Identifying & Removing / Installing 2 Connectors To The Power Module
      GTY424124Courtesy of © TOYOTA, LICENSE AGREEMENT TMS1002
    25. Install the 5 bolts to the bus-bars.

      Torque: 6.0 N*m (61 kgf*cm, 53 in.*lbf) 

      Fig 32: Identifying Bus-Bars Bolts
      GTY444737Courtesy of © TOYOTA, LICENSE AGREEMENT TMS1002
      NOTE:

      Do not touch the bus-bars.

  9. INSTALL MG CONTROL COMPUTER WITH BRACKET SUB-ASSEMBLY 
    NOTE:
    • Do not touch the circuit board.
    • Do not allow any moisture to come into contact with the circuit board.
    1. Align the holes of the MG control computer with bracket sub-assembly with the guide pins and temporarily install the power module intelligent transistor kit to the hybrid converter kit.
      Fig 33: Identifying The Guide Pins & Aligning The Holes Of The MG Control Computer With Them
      GTY440724Courtesy of © TOYOTA, LICENSE AGREEMENT TMS1002
      TEXT IN ILLUSTRATION

      *1 Guide Pins *2 -
      NOTE:

      Make sure to align the guide pins correctly.

    2. Install the MG control computer with bracket sub-assembly with the 4 bolts.
    3. Temporarily tighten the 4 bolts evenly in several steps in the order shown in the illustration, then fully tighten them.

      Torque: 4.5 N*m (46 kgf*cm, 40 in.*lbf) 

      Fig 34: Location Of The MG Control Computer Bolts & Tightening Sequence
      GTY451756Courtesy of © TOYOTA, LICENSE AGREEMENT TMS1002
    4. Engage the 2 wire harnesses to the 4 clamps.
      Fig 35: Securing The 2 Wiring Harnesses With The Clamps
      GTY455032Courtesy of © TOYOTA, LICENSE AGREEMENT TMS1002
    5. Connect the 2 connectors to the MG control computer with bracket sub-assembly.
    6. Disengage the lock claws of the white resin connector and connect the flat cable to the power module intelligent transistor kit.
      Fig 36: Connecting / Disconnecting The Flat Cable
      GTY440362Courtesy of © TOYOTA, LICENSE AGREEMENT TMS1002
    7. Check that the flat cable is connected securely.
      NOTE:

      If the flat cable is not fully connected, connect it securely.

      Fig 37: Securing The Locks Of The Flat Cable
      GTY452598Courtesy of © TOYOTA, LICENSE AGREEMENT TMS1002
    8. If the gasket of the inverter signal connector is protruding, fully push it in.
      Fig 38: Installing The Gasket Of The Inverter Signal Connector
      GTY440616Courtesy of © TOYOTA, LICENSE AGREEMENT TMS1002
      TEXT IN ILLUSTRATION

      *1 Gasket

      HINT: 

      If the gasket is misaligned, set it so that each mark is at the center of each side.

      Fig 39: Identifying The Inverter Signal Connector & Alignment Marks
      GTY437416Courtesy of © TOYOTA, LICENSE AGREEMENT TMS1002
      TEXT IN ILLUSTRATION

      *1 Gasket
      *2 Mark
  10. INSTALL INVERTER TERMINAL WITH SENSOR SUB-ASSEMBLY 
    NOTE:
    • Do not touch the circuit board.
    • Do not allow any moisture to come into contact with the circuit board.
    • For inverter with converter assembly with part number G9200-47140, G9200-47141, G9200-47180 or G9200-47181: Make sure to replace the inverter current sensor sub-assembly and inverter wire sub-assembly at the same time when replacing the MG control computer with bracket sub-assembly. Refer to COMPONENTS [08/2014 - ] .
    1. Align the holes of the power module intelligent transistor kit with the guide pins and temporarily install the power module intelligent transistor kit to the hybrid vehicle converter kit.
      Fig 40: Aligning The Power Module Guide Pins With The Converter Holes
      GTY437385Courtesy of © TOYOTA, LICENSE AGREEMENT TMS1002
      TEXT IN ILLUSTRATION

      *1 Guide Pins - -
      NOTE:

      Make sure to align the guide pins correctly.

    2. Install the inverter terminal with sensor sub-assembly with the 4 bolts.
    3. Temporarily tighten the 4 bolts evenly in several steps in the order shown in the illustration, then fully tighten them.

      Torque: 4.5 N*m (46 kgf*cm, 40 in.*lbf) 

      Fig 41: Identifying The Inverter Terminal Mounting Bolts & Tightening Sequence
      GTY447643Courtesy of © TOYOTA, LICENSE AGREEMENT TMS1002
    4. Connect the 3 connectors to the MG control computer with bracket sub-assembly.
      NOTE:

      The location of the connectors varies depending on the part number of the inverter with converter assembly. Confirm the part number before performing work.

      1. For inverter with converter assembly with part number G9200-47140, G9200-47141, G9200-47180 or G9200-47181:
        Fig 42: Identifying The Motor Generator Control Computer Conectors (Type 1)
        GTY454258Courtesy of © TOYOTA, LICENSE AGREEMENT TMS1002
      2. For inverter with converter assembly with part number other than G9200-47140, G9200-47141, G9200-47180 or G9200-47181:
        Fig 43: Identifying The Motor Generator Control Computer Conectors Other Than (Type 1)
        GTY481914Courtesy of © TOYOTA, LICENSE AGREEMENT TMS1002
    5. If a pen sheet is provided, check the installation condition of the pen sheet.
      NOTE:
      • Do not touch the circuit board.
      • Do not allow any moisture to come into contact with the circuit board.
      1. While ensuring that the pen sheet does not interfere with components of the circuit board, insert the pen sheet between the inverter terminal with sensor sub-assembly and MG control computer with bracket sub-assembly.
        Fig 44: Identifying & Installing The Pen Sheet
        GTY450302Courtesy of © TOYOTA, LICENSE AGREEMENT TMS1002
        TEXT IN ILLUSTRATION

        *1 PEN Sheet - -
      2. Set the pen sheet so that the pin of the motor generator control computer sub-assembly is aligned with the guide hole as shown in the illustration.
        Fig 45: Identifying & Aligning The Pen Sheet With The Guide Pins
        GTY432421Courtesy of © TOYOTA, LICENSE AGREEMENT TMS1002
        TEXT IN ILLUSTRATION

        *1 Guide Pin
        *2 Double-sided Tape
        *3 PEN Sheet
      3. Attach the double-sided tape of the pen sheet to the connector shown in the illustration.
    6. Install the 6 bolts to the bus-bars.

      Torque: 6.0 N*m (61 kgf*cm, 53 in.*lbf) 

      Fig 46: Identifying The Bus-Bars Bolts
      GTY431062Courtesy of © TOYOTA, LICENSE AGREEMENT TMS1002
      NOTE:

      Do not touch the bus-bars.

    7. If the No. 2 engine room wire is installed, install the bolt (A) using SST as shown in the illustration.
      • SST: 09961-00950 

      without SST 

      Torque: 6.0 N*m (61 kgf*cm, 53 in.*lbf) 

      with SST 

      Torque: 3.3 N*m (34 kgf*cm, 29 in.*lbf) 

      Fig 47: Identifying The SST
      GTY447009Courtesy of © TOYOTA, LICENSE AGREEMENT TMS1002
      TEXT IN ILLUSTRATION

      *1 SST
      NOTE:

      This torque value is effective when SST is parallel to the torque wrench.

      HINT: 

      • The "with SST" torque value is effective when using SST with a fulcrum length of 150 mm (5.91 in.).
        Fig 48: Identifying The SST & The Dimensions Of The SST
        GTY428863Courtesy of © TOYOTA, LICENSE AGREEMENT TMS1002
        TEXT IN ILLUSTRATION

        *1 SST
        *2 Length of SST 150 mm (5.91 in.)
        *3 Length of Torque Wrench 185 mm (7.28 in.)
      • The "with SST" torque value is effective when using a torque wrench with a fulcrum length of 185 mm (7.28 in.)
      • If using a torque wrench with a different length, or connecting the torque wrench and SST at an angle, refer to the alternate torque values.. Refer to PRECAUTION [08/2014 - ]
      • Loosen the nut of the No. 2 engine room wire to secure enough space to perform work.
  11. INSTALL INVERTER CASE WITH CONDENSER 
    NOTE:
    • Do not touch the circuit board.
    • Do not allow any moisture to come into contact with the circuit board.
    • Do not touch or allow grease or oil to contact the sealing surfaces of the hybrid vehicle converter kit and inverter case with condenser.
    1. Apply seal packing (diameter: 2.0 to 3.0 mm (0.0787 to 0.118 in.)) in a continuous line to the locations shown in the illustration.
      Fig 49: Applying Seal Packing (Diameter: 2.0 To 3.0 Mm (0.0787 To 0.118 In.)) In A Continuous Line To The Locations Shown
      GTY480658Courtesy of © TOYOTA, LICENSE AGREEMENT TMS1002
      TEXT IN ILLUSTRATION

      *1 Seal Packing *2 Bolt Hole
      *3 Coolant Pipes - -
      *a 2.0 to 3.0 mm (0.0787 to 0.118 in.) *b 2.0 to 3.0 mm (0.0787 to 0.118 in.)
      *c Around Coolant Pipe - -

      Seal Packing

      Toyota Genuine Seal Packing 1282B, Three Bond 1282B or equivalent

      NOTE:
      • Install the inverter case with condenser within 3 minutes of applying seal packing.
      • Tighten the bolts within 15 minutes of applying seal packing.
      • Keep the coolant pipes free from seal packing.
    2. Install the inverter case with condenser.
      1. Peel back the protective tape to the extent that the following steps can be performed.
        Fig 50: Peeling Back The Protective Tape So The Following Steps Can Be Performed
        GTY472332Courtesy of © TOYOTA, LICENSE AGREEMENT TMS1002
        TEXT IN ILLUSTRATION

        *1 Protective Tape
        NOTE:

        Do not touch or allow grease or oil to contact the sealing surfaces of the inverter case with condenser.

      2. Temporarily install the inverter case with condenser to the hybrid vehicle converter kit so that the bus-bar (A) does not contact the protrusion of the inverter terminal sub-assembly w/ sensor (B).
        Fig 51: Installing The Inverter Case By Aligning The Guide Pins With The Holes Of The Converter Kit
        GTY432915Courtesy of © TOYOTA, LICENSE AGREEMENT TMS1002
        TEXT IN ILLUSTRATION

        *1 Guide Pins - -
        NOTE:
        • Make sure to align the guide pins correctly.
        • Check that the bus-bars of the hybrid converter kit overlap the bus-bars of the inverter case with condenser.
          Fig 52: Aligning The Guide Pins Properly
          GTY443983Courtesy of © TOYOTA, LICENSE AGREEMENT TMS1002
        • Make sure that the bus-bar (A) is not resting on the resin part of the inverter terminal with sensor sub-assembly as shown in the illustration.
          Fig 53: Identifying The Bus-Bar
          GTY445091Courtesy of © TOYOTA, LICENSE AGREEMENT TMS1002
        TEXT IN ILLUSTRATION

        *1 Bus-bar (A)
    3. Temporarily install the inverter case with condenser with the 11 bolts.

      Torque: 4.0 N*m (41 kgf*cm, 35 in.*lbf) 

      Fig 54: Identifying The Inverter Case Bolts
      GTY450374Courtesy of © TOYOTA, LICENSE AGREEMENT TMS1002
    4. Fully tighten the 11 bolts.

      Torque: 9.2 N*m (94 kgf*cm, 81 in.*lbf) 

    5. Install the 5 bolts to the bus-bars.

      Torque: 6.0 N*m (61 kgf*cm, 53 in.*lbf) 

      Fig 55: Identifying The Bus-Bars Bolts
      GTY423055Courtesy of © TOYOTA, LICENSE AGREEMENT TMS1002
      NOTE:

      Do not touch the bus-bars.

    6. Install the nut to the No. 2 engine room wire.
      Fig 56: Identifying The No. 2 Engine Room Wire Mounting Nut
      GTY432922Courtesy of © TOYOTA, LICENSE AGREEMENT TMS1002

      Torque: 8.0 N*m (82 kgf*cm, 71 in.*lbf) 

      NOTE:

      Check that the nut is not cross-threaded and the terminal is not loose.

    7. Engage the 2 claws and close the terminal cover.
      Fig 57: Identifying The Location Of The 2 Terminal Cover Claws
      GTY436841Courtesy of © TOYOTA, LICENSE AGREEMENT TMS1002
  12. INSTALL INVERTER UNION GROMMET 
    1. Apply a light coat of seal packing to 2 new inverter union grommets.
      Fig 58: Identifying FIPG & Applying It To The 2 New Inverter Grommets
      GTY429207Courtesy of © TOYOTA, LICENSE AGREEMENT TMS1002
      TEXT IN ILLUSTRATION

      *1 Seal Packing

      Seal Packing

      Toyota Genuine Seal Packing 1282B, Three Bond 1282B or equivalent

      NOTE:
      • Install the inverter union grommets within 60 minutes of installing the inverter case with condenser.
      • Apply a light coat of seal packing to the entire surface of the area shown in the illustration. If seal packing is applied excessively, it may seep out, however, sealing quality will not be affected.
      • Install the inverter union grommets within 3 minutes of applying seal packing.
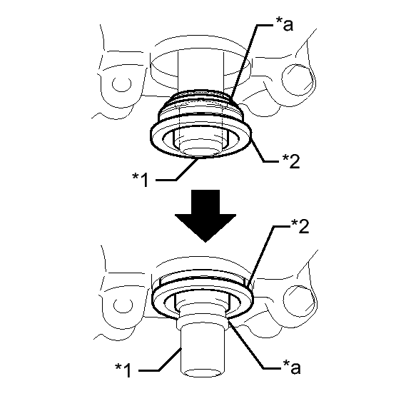
    2. Push in the inverter union grommet until it passes over the flange of the coolant pipe.
      Fig 59: Installing The Inverter Union Grommet Over The Flange Of The Coolant Pipe
      GTY444318Courtesy of © TOYOTA, LICENSE AGREEMENT TMS1002
      TEXT IN ILLUSTRATION

      *1 Coolant Pipe
      *2 Inverter Union Grommet
      *a Flange
      NOTE:

      Do not damage the coolant pipes.

    3. Using a 30 mm socket, install the inverter union grommet.
      Fig 60: Installing/Removing Inverter Union Grommet Using a 30 mm Socket
      GTY431036Courtesy of © TOYOTA, LICENSE AGREEMENT TMS1002
      TEXT IN ILLUSTRATION

      *1 30 mm Socket

      HINT: 

      Make sure that the clearance between the inverter union grommet and inverter case with condenser is 2.0 mm (0.0787 in.) or less.

      Fig 61: Inspecting The Clearance Between The Inverter Union Grommet & Inverter Case
      GTY446773Courtesy of © TOYOTA, LICENSE AGREEMENT TMS1002
      TEXT IN ILLUSTRATION

      *a 2.0 mm (0.0787 in.) or less
    4. Perform the same procedure to install the other inverter union grommet.
  13. INSTALL NO. 1 AND NO. 2 INVERTER DRAIN PLUGS 
    NOTE:

    Do not touch or allow grease or oil to contact the sealing surfaces of the inverter case with condenser.

    1. Make sure that the sealing surfaces of the No. 1 and No. 2 inverter drain plugs are covered with aluminum tape.
      Fig 62: Applying Aluminum Tape To The No. 1 & No. 2 Inverter Drain Plugs
      GTY479644Courtesy of © TOYOTA, LICENSE AGREEMENT TMS1002
      TEXT IN ILLUSTRATION

      *1 Aluminum Tape
      NOTE:

      If the sealing surfaces of the No. 1 and No. 2 inverter drain plugs are not covered with aluminum tape, do not use them as they cannot be securely installed with only seal packing.

    2. Remove the release film from the No. 1 and No. 2 inverter drain plugs.
      Fig 63: Removing The Release Film From No. 1 & No. 2 Inverter Drain Plugs
      GTY477542Courtesy of © TOYOTA, LICENSE AGREEMENT TMS1002
      TEXT IN ILLUSTRATION

      *1 Release Film
    3. Apply seal packing (diameter: 3.0 mm (0.118 in.)) to new No. 1 and No. 2 inverter drain plugs.
      Fig 64: Identifying The Inverter Drain Plugs & Adhesive Application Points
      GTY452412Courtesy of © TOYOTA, LICENSE AGREEMENT TMS1002
      TEXT IN ILLUSTRATION

      *1 No. 1 Inverter Drain Plug
      *2 No. 2 Inverter Drain Plug
      *3 Seal Packing
      *a Approximately 3.0 mm (0.118 in.)
      *b Approximately 3.0 mm (0.118 in.)

      Seal Packing

      Toyota Genuine Seal Packing 1282B, Three Bond 1282B or equivalent

      NOTE:
      • Be sure to use the specified type of seal packing.
      • Install the No. 1 and No. 2 inverter drain plugs within 3 minutes of applying seal packing.
    4. Install the No. 1 and No. 2 inverter drain plugs to the inverter with converter assembly.
      Fig 65: Identifying The Location Of No. 1 & No. 2 Inverter Drain Plugs
      GTY441647Courtesy of © TOYOTA, LICENSE AGREEMENT TMS1002
      TEXT IN ILLUSTRATION

      *1 No. 1 Inverter Drain Plug
      *2 No. 2 Inverter Drain Plug
  14. INSTALL INVERTER SIGNAL CONNECTOR COVER 
    1. Install the gasket to the inverter signal connector cover.

      HINT: 

      Make sure that the protrusion (A) of the gasket is securely inserted into the groove of the inverter signal connector cover.

      Fig 66: Align The Protusion (A) Of The Gasket Is Securely Inserted In The Groove Of The Inverter Signal Connector Cover
      GTY478677Courtesy of © TOYOTA, LICENSE AGREEMENT TMS1002
      TEXT IN ILLUSTRATION

      *1 Gasket
    2. Clean the installation surface.
    3. Install the inverter signal connector cover with the 4 bolts.

      Torque: 6.0 N*m (61 kgf*cm, 53 in.*lbf) 

      Fig 67: Identifying The Inverter Signal Connector Cover & Bolts
      GTY437144Courtesy of © TOYOTA, LICENSE AGREEMENT TMS1002
      TEXT IN ILLUSTRATION

      *1 Inverter Signal Connector Cover
  15. INSTALL INVERTER TERMINAL COVER 
    1. Remove the protective tape.
      Fig 68: Identifying The Inverter Terminal Cover Protective Tapes
      GTY439445Courtesy of © TOYOTA, LICENSE AGREEMENT TMS1002
      TEXT IN ILLUSTRATION

      *1 Protective Tape
    2. Temporarily install the inverter terminal cover with the 9 bolts to prevent any foreign objects or water from entering the inverter with converter assembly.
      Fig 69: View Of Bolts And Inverter Terminal Cover
      GTY231954Courtesy of © TOYOTA, LICENSE AGREEMENT TMS1002
  16. INSTALL INVERTER WITH CONVERTER ASSEMBLY 

    Refer to INSTALLATION [08/2014 - ] 

  17. CHECK FOR COOLANT LEAK (for Inverter) 
    1. Remove the reserve tank cap.
      WARNING:

      To avoid the danger of being burned, do not remove the reserve tank cap while the coolant for the inverter is still hot.

    2. Install the radiator cap tester.
      Fig 70: Identifying Radiator Cap Tester & Reserve Tank
      GTY435221Courtesy of © TOYOTA, LICENSE AGREEMENT TMS1002
    3. Pump the radiator cap tester to 122 kPa (1.2 kgf/ cm2 , 17.7 psi), and then check that the pressure does not drop.

      HINT: 

      If the pressure drops, check the hoses, radiator, water pump, inverter with converter, and hybrid vehicle transaxle assembly for leaks.

    4. Reinstall the reserve tank cap.
  18. OPERATION CHECK 

    HINT: 

    • After the repair, check the operation as follows. Then check for DTCs again.
    • The current at the AMD terminal cannot be measured directly because of space limitations. Measure the current flowing at the auxiliary battery instead.
    1. Connect the AC/DC 400 A probe to the positive (+) auxiliary battery cable.
      Fig 71: Measuring Current And Voltage Flowing Into Auxiliary Battery
      GTY288327Courtesy of © TOYOTA, LICENSE AGREEMENT TMS1002
    2. Turn the power switch on (READY) and leave the vehicle as is until the electric current flowing into the auxiliary battery becomes 10 A or less.
    3. Change the orientation of the AC/DC400A probe.
      Fig 72: Measuring Current And Voltage Flowing From Auxiliary Battery
      GTY285281Courtesy of © TOYOTA, LICENSE AGREEMENT TMS1002
    4. Measure the current flowing from the auxiliary battery with the power switch on (READY), headlight position switch and blower motor switch in the HI position, and rear window defogger turned on.

      Standard Current

      Item Switch Condition Specified Condition
      Current flowing from auxiliary battery Power switch on (READY)
      (Headlight position switch and blower motor switch in HI position, rear window defogger on)
      0 A or less
      (No current from auxiliary battery)
    5. Turn the power switch off.