LEMON Manuals: Even more car manuals for everyone: 1960-2025
Home >> Toyota >> 2015 >> Prius Three >> Repair and Diagnosis (Single Page) >> External Pages >> Different variant/trim >> Section 75 (Intake System / Exhaust System - (Service Information) (Plug-In)) >> Exhaust Pipe And Catalytic Converter >> Installation [08/2014 - ] >> Installation [08/2014 - ]
April 5, 2026: LEMON Manuals is launched! Read the announcement.

Installation [08/2014 - ]

WARNING: This page is about a different variant/trim than selected.
  1. INSTALL FRONT EXHAUST PIPE ASSEMBLY 
    NOTE:

    When installing the water hose, ensure that the exhaust heat recirculation system is filled with coolant. Otherwise, the engine water pump assembly may be damaged.

    1. Using a vernier caliper, measure the free length of the compression springs.
      Fig 1: View Of Measuring Free Length Of Compression Spring
      GTY104505Courtesy of © TOYOTA, LICENSE AGREEMENT TMS1002
      Minimum 41.5 mm (1.64 in.)

      HINT: 

      If the free length is less than the minimum, replace the compression spring.

    2. Temporarily install a new gasket to the exhaust manifold.
    3. Using a plastic hammer and wooden block, tap in the new gasket until its surface is flush with the exhaust manifold.
      Fig 2: Identifying Center Exhaust Pipe Assembly, Wooden Block And Gasket
      GTY455041Courtesy of © TOYOTA, LICENSE AGREEMENT TMS1002
      TEXT IN ILLUSTRATION

      *1 Exhaust Manifold
      *2 Gasket
      *a Wooden Block
      NOTE:
      • Be careful with the installation direction of the gasket.
      • Do not reuse the gasket.
      • Do not damage the gasket.
      • Do not push in the gasket by using the exhaust pipe when connecting it.
    4. Connect the front exhaust pipe assembly to the 3 exhaust pipe supports.
    5. Install the front exhaust pipe assembly with the 2 bolts and 2 compression springs.

      Torque: 43 N*m (438 kgf*cm, 32 ft.*lbf) 

    6. Connect the 2 heater water hoses.
  2. INSTALL HEATED OXYGEN SENSOR  . Refer to INSTALLATION [08/2014 - ] - Step 1
  3. INSTALL FRONT CENTER FLOOR BRACE SUB-ASSEMBLY 
    1. Install the front center floor brace sub-assembly with the 4 bolts.

      Torque: 51 N*m (520 kgf*cm, 38 ft.*lbf) 

  4. INSTALL NO. 3 ENGINE UNDER COVER  . Refer to INSTALLATION [08/2014 - ] - Step 3
  5. INSTALL TAIL EXHAUST PIPE ASSEMBLY 
    1. Using a vernier caliper, measure the free length of the compression springs.
      Fig 3: View Of Measuring Free Length Of Compression Spring
      GTY104505Courtesy of © TOYOTA, LICENSE AGREEMENT TMS1002
      Minimum 38.5 mm (1.52 in.)

      HINT: 

      If the free length is less than the minimum, replace the compression spring.

    2. Temporarily install a new gasket to the front exhaust pipe assembly.
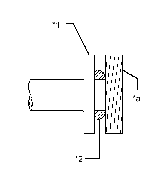
    3. Using a plastic hammer and wooden block, tap in the new gasket until its surface is flush with the front exhaust pipe assembly.
      Fig 4: Identifying Center Exhaust Pipe Assembly, Wooden Block And Gasket
      GTY455041Courtesy of © TOYOTA, LICENSE AGREEMENT TMS1002
      TEXT IN ILLUSTRATION

      *1 Front Exhaust Pipe Assembly
      *2 Gasket
      *a Wooden Block
      NOTE:
      • Be careful with the installation direction of the gasket.
      • Do not reuse the gasket.
      • Do not damage the gasket.
      • Do not push in the gasket by using the exhaust pipe when connecting it.
    4. Connect the tail exhaust pipe assembly to the 2 exhaust pipe supports.
    5. Install the tail exhaust pipe assembly with the 2 bolts and 2 compression springs.

      Torque: 43 N*m (438 kgf*cm, 32 ft.*lbf) 

  6. ADD COOLANT (for Engine)  . Refer to REPLACEMENT [08/2014 - ] - Step 2
  7. INSPECT FOR COOLANT LEAK (for Engine)  . Refer to ON-VEHICLE INSPECTION [08/2014 - ] - Step 1
  8. INSPECT FOR EXHAUST GAS LEAK 

    If gas is leaking, tighten the areas necessary to stop the leak. Replace damaged parts as necessary.

    1. Perform "Inspection After Repair" after repairing and replacing an exhaust gas leak. Refer to INITIALIZATION [08/2014 - ] .