LEMON Manuals: Even more car manuals for everyone: 1960-2025
Home >> Toyota >> 2015 >> Prius Three >> Repair and Diagnosis >> External Pages >> Different variant/trim >> Section 51 (Hybrid Control System - (Diagnostics - Introduction) (Plug-In)) >> Hybrid Control System >> System Description [08/2014 - ] >> System Description [08/2014 - ]
April 5, 2026: LEMON Manuals is launched! Read the announcement.

System Description [08/2014 - ]

WARNING: This page is about a different variant/trim than selected.
  1. OPERATION 
    1. Operation of Plug-in Hybrid Vehicle
      1. The plug-in hybrid system uses motive force provided by the engine and MG2, and it uses MG1 as a generator. The system optimally combines these forces in accordance with various driving conditions.
      2. The power management control ECU constantly monitors the engine coolant temperature, SOC, HV battery temperature and electrical load conditions. If any of the monitoring conditions fails to satisfy the requirements, and when the vehicle is in the READY-on state and the shift position is any position other than N, the power management control ECU starts the engine.
      3. This system drives the vehicle by optimally combining the operations of the engine, MG1 and MG2 in accordance with the driving conditions listed below. The vehicle conditions listed below are examples of typical vehicle driving conditions.
        Fig 1: Identifying EV & HV Driving Modes
        GTY340048Courtesy of © TOYOTA, LICENSE AGREEMENT TMS1002
        Driving Condition
        A READY-on State
        B Starting Off
        C Constant-speed Cruising in EV Mode
        D Normal Acceleration in EV Mode
        E Constant-speed Cruising in HV Mode
        F During Full Throttle Acceleration with Engine Running
        G During Deceleration
        H During Reverse
    2. Driving Condition B*: Starting Off
      1. When the vehicle is started off, the vehicle operates powered by MG2. If the required drive torque increases when running with MG2 only, MG1 is activated to start the engine.

        HINT: 

        *: Refer to the preceding driving condition graph and table for more details.

        Fig 2: Identifying Hybrid Control System Components & Power Flow
        GTY331255Courtesy of © TOYOTA, LICENSE AGREEMENT TMS1002
        TEXT IN ILLUSTRATION

        *1 Engine (Stopped) *2 Hybrid Vehicle Transaxle Assembly
        *3 MG1 (Rotates Freely) *4 MG2 (Drive)
        *5 Power Split Planetary Gear Unit *6 Motor Speed Reduction Planetary Gear Unit
        *7 Inverter with Converter Assembly *8 HV Battery
        Mechanical Power Path Electrical Power Path
        Power Transmission - -
    3. Driving Condition C*: Constant-speed Cruising in EV Mode / Driving Condition D*: Normal Acceleration in EV Mode
      1. During constant-speed cruising in EV mode (Driving Condition C) and normal acceleration in EV mode (Driving Condition D), the vehicle runs with only the motive force of MG2, powered by the plug-in charged HV battery.

        HINT: 

        *: Refer to the preceding driving condition graph and table for more details.

        Fig 3: Identifying Hybrid Control System Components & Power Flow
        GTY331256Courtesy of © TOYOTA, LICENSE AGREEMENT TMS1002
        TEXT IN ILLUSTRATION

        *1 Engine (Stopped) *2 Hybrid Vehicle Transaxle Assembly
        *3 MG1 (Rotates Freely) *4 MG2 (Drive)
        *5 Power Split Planetary Gear Unit *6 Motor Speed Reduction Planetary Gear Unit
        *7 Inverter with Converter Assembly *8 HV Battery
        Mechanical Power Path Electrical Power Path
        Power Transmission - -
    4. Driving Condition E*: Constant-speed Cruising in HV Mode
      1. When driving at high speed or with constant-speed cruising after EV mode driving finishes, the motive force of the engine is transmitted by the power split planetary gear unit. Some of this motive force is output directly, and the remaining motive force is used for generating electricity through MG1. Through the use of the electrical power path of the inverter with converter assembly, this electrical power is transmitted to MG2 to be output as the motive force of MG2. If the SOC level of the HV battery is low, it is charged by MG1 driven by the engine.

        HINT: 

        *: Refer to the preceding driving condition graph and table for more details.

        Fig 4: Identifying Hybrid Control System Components & Power Flow
        GTY336132Courtesy of © TOYOTA, LICENSE AGREEMENT TMS1002
        TEXT IN ILLUSTRATION

        *1 Engine (Drive) *2 Hybrid Vehicle Transaxle Assembly
        *3 MG1 (Generates Electricity) *4 MG2 (Drive)
        *5 Power Split Planetary Gear Unit *6 Motor Speed Reduction Planetary Gear Unit
        *7 Inverter with Converter Assembly *8 HV Battery
        Mechanical Power Path Electrical Power Path
        Power Transmission Power Transmission at Low SOC Level
    5. Driving Condition F*: During Full Throttle Acceleration with Engine Running
      1. During EV mode, full throttle acceleration will cause the engine to start. The engine power will be transmitted to the wheels as motive force. Furthermore, MG1 will also be actuated to generate electrical power. In addition to the engine, the motive force of MG2, powered by the HV battery and MG1, accelerates the vehicle.
      2. When the vehicle driving condition changes from low load cruising to full-throttle acceleration, the system supplements the motive force of MG2 with electrical power from the HV battery.

        HINT: 

        *: Refer to the preceding driving condition graph and table for more details.

        Fig 5: Identifying Hybrid Control System Components & Power Flow
        GTY335384Courtesy of © TOYOTA, LICENSE AGREEMENT TMS1002
        TEXT IN ILLUSTRATION

        *1 Engine (Drive) *2 Hybrid Vehicle Transaxle Assembly
        *3 MG1 (Generates Electricity) *4 MG2 (Drive)
        *5 Power Split Planetary Gear Unit *6 Motor Speed Reduction Planetary Gear Unit
        *7 Inverter with Converter Assembly *8 HV Battery
        Mechanical Power Path Electrical Power Path
        Power Transmission - -
    6. Driving Condition G*: During Deceleration
      1. While the vehicle decelerates with drive (D) selected, the engine is turned off and the motive force changes to zero. At this time, the wheels drive MG2, causing MG2 to operate as a generator, charging the HV battery. If the vehicle decelerates from a higher speed, the engine maintains a predetermined speed without stopping, in order to protect the planetary gears.

        HINT: 

        *: Refer to the preceding driving condition graph and table for more details.

        Fig 6: Identifying Hybrid Control System Components & Power Flow
        GTY330368Courtesy of © TOYOTA, LICENSE AGREEMENT TMS1002
        TEXT IN ILLUSTRATION

        *1 Engine (Stopped) *2 Hybrid Vehicle Transaxle Assembly
        *3 MG1 (Rotates Freely) *4 MG2 (Generates Electricity)
        *5 Power Split Planetary Gear Unit *6 Motor Speed Reduction Planetary Gear Unit
        *7 Inverter with Converter Assembly *8 HV Battery
        Mechanical Power Path Electrical Power Path
        Power Transmission - -
    7. Driving Condition H*: During Reverse
      1. When the vehicle is being driven in reverse, the required power is supplied by MG2. At this time, MG2 rotates in the opposite direction, the engine remains stopped, and MG1 rotates in the normal direction without generating electricity.

        HINT: 

        *: Refer to the preceding driving condition graph and table for more details.

        Fig 7: Identifying Hybrid Control System Components & Power Flow
        GTY338061Courtesy of © TOYOTA, LICENSE AGREEMENT TMS1002
        TEXT IN ILLUSTRATION

        *1 Engine (Stopped) *2 Hybrid Vehicle Transaxle Assembly
        *3 MG1 (Rotates Freely) *4 MG2 (Drive)
        *5 Power Split Planetary Gear Unit *6 Motor Speed Reduction Planetary Gear Unit
        *7 Inverter with Converter Assembly *8 HV Battery
        Mechanical Power Path Electrical Power Path
        Power Transmission - -
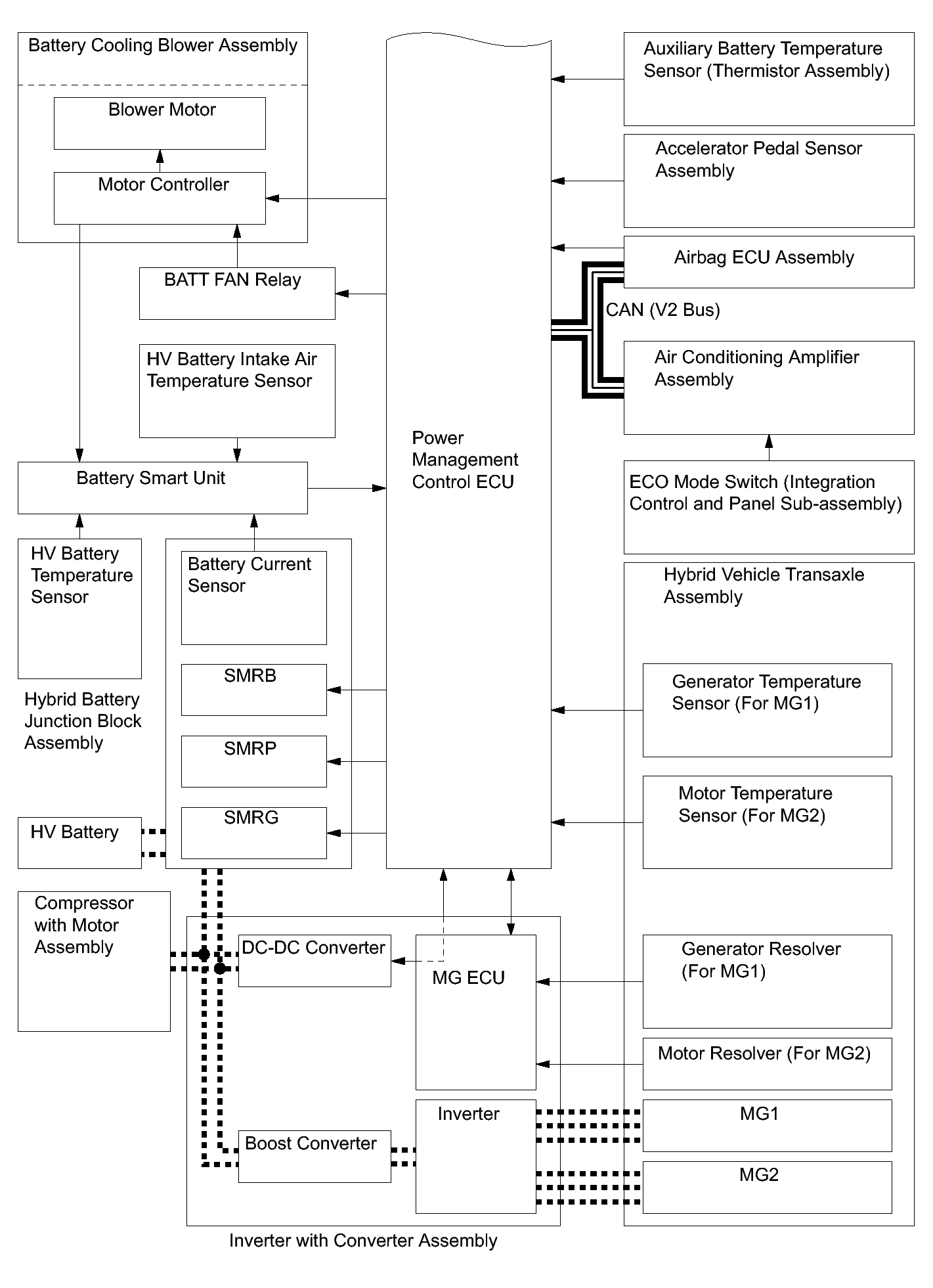
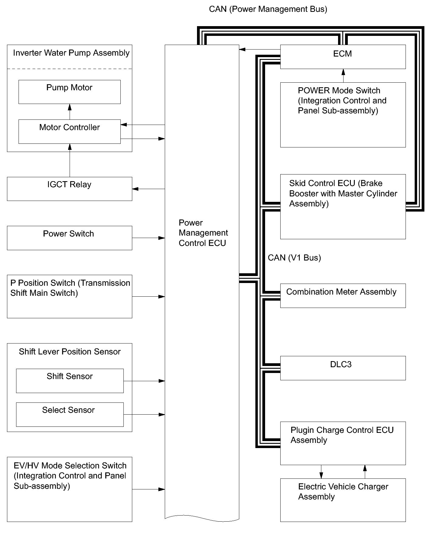
  2. SYSTEM DIAGRAM 
    Fig 8: Identifying Hybrid Control System Diagram (1 Of 2)
    GTY341144Courtesy of © TOYOTA, LICENSE AGREEMENT TMS1002
    Fig 9: Identifying Hybrid Control System Diagram (2 Of 2)
    GTY337702Courtesy of © TOYOTA, LICENSE AGREEMENT TMS1002
  3. FUNCTION OF MAIN COMPONENTS 
    1. The main components of the plug-in hybrid system have the following functions:
      Component Function
      Power Management Control ECU
      1. Performs comprehensive control of the hybrid system.
        • Information from various sensors as well as from ECUs (ECM, MG ECU, battery smart unit and skid control ECU) is received, and based on this the required torque and output power is calculated. The power management control ECU transmits the calculated result to the ECM, MG ECU and skid control ECU.
        • Monitors the SOC of the HV battery.
        • Controls the DC-DC converter.
        • Controls the inverter water pump assembly.
        • Controls the battery cooling blower assembly.
      Hybrid Vehicle Transaxle Assembly Motor Generator No. 1 (MG1) MG1, which is driven by the engine, generates high-voltage electricity in order to operate MG2 and charge the HV battery. Also, it functions as a starter to start the engine.
      Motor Generator No. 2 (MG2)
      • MG2, which is driven by electrical power from MG1 and the HV battery, generates motive force for the drive wheels.
      • During braking, or when the accelerator pedal is not depressed, it generates high-voltage electricity to recharge the HV battery.
      Generator Resolver (For MG1) Detects the rotor position, rotational speed and direction of MG1.
      Motor Resolver (For MG2) Detects the rotor position, rotational speed and direction of MG2.
      Generator Temperature Sensor (For MG1) Detects the temperature of MG1.
      Motor Temperature Sensor (For MG2) Detects the temperature of MG2.
      Compound Gear Unit Power Split Planetary Gear Unit Distributes the engine motive force as appropriate to directly drive the vehicle as well as MG1.
      Motor Speed Reduction Planetary Gear Unit Reduces the rotational speed of MG2 in accordance with the characteristics of the planetary gear, in order to increase torque.
      Inverter with Converter Assembly Inverter Converts the direct current from the boost converter into alternating current for MG1 and MG2, and vice versa (from AC to DC).
      Boost Converter Boosts the HV battery nominal voltage of DC 207.2 V up to a maximum voltage of DC 650 V and vice versa (steps down DC 650 V to DC 207.2 V).
      DC-DC Converter Steps down the HV battery nominal voltage of DC 207.2 V to approximately DC 14 V in order to supply electricity to the electrical components, as well as to recharge the auxiliary battery.
      MG ECU Controls the inverter and boost converter in accordance with the signals received from the power management control ECU, thus operating MG1 and MG2 as either a generator or motor.
      Atmospheric Pressure Sensor Detects the atmospheric pressure.
      Temperature Sensor for Inverter with Converter Assembly Detects temperatures in the parts of the inverter with converter assembly as well as the HV coolant temperature.
      Inverter Current Sensor Detects the current of MG1 and MG2.
      HV Battery Assembly Hybrid Battery Stack
      • Supplies electrical power to MG1 and MG2 in accordance with the driving conditions of the vehicle.
      • Recharged by MG1 and MG2 in accordance with the SOC and the driving conditions of the vehicle.
      • Accumulates power from the external power source supplied by plug-in charging.
      HV Battery Temperature Sensor Detects temperatures in the parts of the HV battery.
      HV Battery Intake Air Temperature Sensor Detects the Intake air temperature from the battery cooling blower assembly.
      Hybrid Battery Junction Block Assembly System Main Relays Connects and disconnects the high-voltage circuit between the HV battery and the inverter with converter assembly through the use of signals from the power management control ECU.
      Battery Current Sensor Detects the input and output current of the HV battery.
      Battery Smart Unit
      • Monitors the conditions of the HV battery such as voltage, current and temperature, and transmits this information to the power management control ECU.
      • Monitors the high-voltage system for breakdown of the electrical insulation.
      Service Plug Grip Shuts off the high-voltage circuit of the HV battery when the service plug grip is removed for vehicle inspection or maintenance.
      Interlock Switch (for Service Plug Grip/for Inverter Terminal Cover/for Power Cable Connector) Verifies that the service plug grip, inverter terminal cover and inverter power cable connector are installed.
      Power Cable (Frame Wire) Connects the HV battery, inverter with converter assembly, hybrid vehicle transaxle assembly and compressor with motor assembly.
      Inverter Water Pump Assembly Operates under the control of the power management control ECU in order to cool the inverter with converter assembly and MG1.
      Battery Cooling Blower Assembly Operates under the control of the power management control ECU in order to cool the HV battery.
      Auxiliary Battery Supplies electricity to the electrical components.
      Auxiliary Battery Temperature Sensor (Thermistor Assembly) Detects the temperature of the auxiliary battery.
      Power Switch Starts and stops the hybrid system.
      Accelerator Pedal Sensor Assembly Converts the accelerator pedal position into an electrical signal and sends it to the power management control ECU.
      Shift Lock Control Unit Assembly Shift Lever Position Sensor (Select Sensor) Converts the shift position (lateral movement) into electrical signals and sends them to the power management control ECU.
      Shift Lever Position Sensor (Shift Sensor) Converts the shift position (longitudinal movement) into electrical signals and sends them to the power management control ECU.
      P Position Switch (Transmission Shift Main Switch) Outputs the P position switch signal to the power management control ECU when operated by the driver.
      Stop Light Switch Detects the depression of the brake pedal.
      Integration Control and Panel Sub-assembly EV/HV Mode Selection Switch Sends the EV/HV mode selection switch signal to the power management control ECU when operated by the driver.
      POWER Mode Switch Sends the POWER mode switch signal to the power management control ECU via the ECM when operated by the driver.
      ECO Mode Switch Sends the ECO mode switch signal to the power management control ECU via the air conditioning amplifier assembly when operated by the driver.
      ECM
      • Performs control of the engine in accordance with the target engine speed and required engine motive force received from the power management control ECU.
      • Transmits various engine operating condition signals to the power management control ECU.
      Skid Control ECU (Brake Booster with Master Cylinder Assembly)
      • During braking, it calculates the required regenerative braking force and transmits it to the power management control ECU.
      • Transmits the request to the power management control ECU to limit motive force while the TRAC or VSC is operating.
      Air Conditioning Amplifier Assembly Transmits various A/C state signals to the power management control ECU.
      Airbag ECU Assembly During a collision, it transmits the airbag deployment signal to the power management control ECU.
      Combination Meter Assembly READY Indicator Light Informs the driver that the vehicle is ready to drive.
      Shift Position Indicator Shows the shift state selected by the driver.
      EV Driving Mode Indicator Light Informs the driver that EV drive mode is selected.
      POWER Mode Indicator Light Informs the driver that power mode is selected.
      ECO Mode Indicator Light Informs the driver that eco mode is selected.
      Discharge Warning Light Turns on when there is a malfunction in the auxiliary battery charging system.
      Malfunction Indicator Lamp (MIL) Turns on when there is a malfunction in the hybrid control system and engine control system.
      Multi-information Display
      • The multi-information display displays messages to inform the driver when a malfunction occurs. It also displays system status and operation instructions.
      • The master warning light may illuminate or flash and the buzzer may sound depending on the message displayed on the multi-information display.
      • The power management control ECU displays the visual indicators that express the operating states of the hybrid system on the multi-information display. The visual indicators are as follows: Energy Monitor, Hybrid System Indicator and EV Drive Ratio.
      • The Eco Driving Indicator Light is displayed on the Hybrid System Indicator during Eco-friendly acceleration (Eco driving).
      • The EV driving indicator light is displayed on the Hybrid System Indicator.
      Radio and Display Receiver Assembly*1 Displays the energy monitor.
      Navigation Receiver Assembly*2

      *1: Models with display audio system

      *2: Models with HDD navigation system