LEMON Manuals: Even more car manuals for everyone: 1960-2025
Home >> Toyota >> 2015 >> Prius Two >> Repair and Diagnosis (Single Page) >> Accessories & Equipment >> Communication Devices >> Can Communication System (Diagnostic Codes & Circuit Tests) (Except Plug-In) >> Can Communication System >> Circuit Tests >> Open in CAN Main Bus Line [08/2014 - ] >> Wiring Diagram
April 5, 2026: LEMON Manuals is launched! Read the announcement.

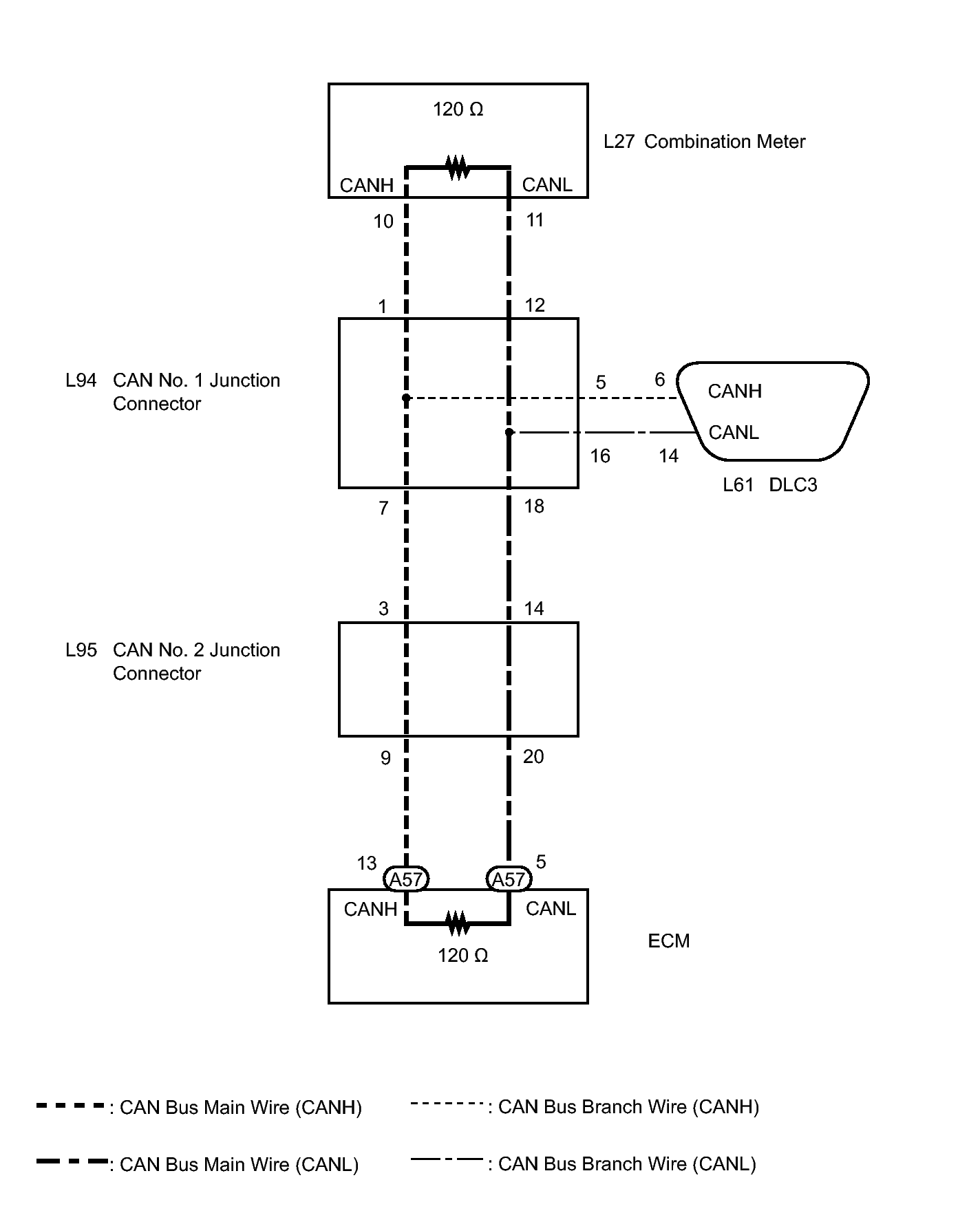
Open in CAN Main Bus Line [08/2014 - ]: Wiring Diagram

Fig 1: View Of CAN Main Bus Line Wiring Diagram
GTY234614Courtesy of © TOYOTA, LICENSE AGREEMENT TMS1002