LEMON Manuals: Even more car manuals for everyone: 1960-2025
Home >> Toyota >> 2016 >> Corolla L, Automatic Trans >> Repair and Diagnosis >> External Pages >> Different variant/trim >> Section 1 (Manual Transaxle (Service Information) (Model Code: ZRE172)) >> Manual Transaxle Unit >> Disassembly [08/2013 - 08/2016] >> Procedure
April 5, 2026: LEMON Manuals is launched! Read the announcement.

Disassembly [08/2013 - 08/2016]: Procedure

WARNING: This page is about a different variant/trim than selected.
  1. REMOVE MANUAL TRANSMISSION FILLER PLUG 
    1. Remove the manual transmission filler plug and gasket from the manual transmission case.
      GTY449637Courtesy of © TOYOTA, LICENSE AGREEMENT TMS1002
  2. REMOVE MANUAL TRANSMISSION DRAIN PLUG 
    1. Using a 10 mm hexagon socket wrench, remove the manual transmission drain plug and gasket from the front transaxle case.
      GTY449638Courtesy of © TOYOTA, LICENSE AGREEMENT TMS1002
  3. REMOVE BACK-UP LIGHT SWITCH ASSEMBLY 
    1. Using a 27 mm deep socket wrench, remove the back-up light switch assembly and gasket from the manual transmission case.
      GTY449636Courtesy of © TOYOTA, LICENSE AGREEMENT TMS1002
  4. REMOVE TRANSMISSION CASE PLUG 
    1. Remove the transmission case plug and gasket from the manual transmission case.
      GTY440160Courtesy of © TOYOTA, LICENSE AGREEMENT TMS1002
  5. REMOVE CONTROL CABLE BRACKET ASSEMBLY 
    1. Remove the 3 bolts and control cable bracket assembly from the manual transmission case.
      GTY432890Courtesy of © TOYOTA, LICENSE AGREEMENT TMS1002
  6. REMOVE NO. 1 CLUTCH HOUSING COVER 
    1. Remove the No. 1 clutch housing cover from the front transaxle case.
      GTY449588Courtesy of © TOYOTA, LICENSE AGREEMENT TMS1002
  7. REMOVE RELEASE CYLINDER BLEEDER PLUG CAP 
    1. Remove the release cylinder bleeder plug cap from the release cylinder bleeder plug.
  8. REMOVE RELEASE CYLINDER BLEEDER PLUG 
    1. Remove the release cylinder bleeder plug from the clutch release bleeder sub-assembly.
  9. REMOVE CLUTCH RELEASE BLEEDER SUB-ASSEMBLY 

    Refer to PROCEDURE - Step 3 Refer to PROCEDURE - Step 4

  10. REMOVE CLUTCH RELEASE WITH BEARING CYLINDER ASSEMBLY 

    Refer to PROCEDURE - Step 4 Refer to PROCEDURE - Step 5

  11. REMOVE BLEEDER CLUTCH RELEASE TUBE 

    Refer to PROCEDURE - Step 5 Refer to PROCEDURE - Step 6

  12. SECURE MANUAL TRANSAXLE ASSEMBLY 
    1. Place the manual transaxle assembly on wooden blocks.
      GTY445919Courtesy of © TOYOTA, LICENSE AGREEMENT TMS1002
      *1 Wooden Block
  13. REMOVE TRANSMISSION CASE PLUG 
    1. Remove the transmission case plug and gasket from the manual transmission case.
      GTY449584Courtesy of © TOYOTA, LICENSE AGREEMENT TMS1002
  14. REMOVE NO. 1 LOCK BALL ASSEMBLY 
    1. Remove the No. 1 lock ball assembly from the manual transmission case.
      GTY449583Courtesy of © TOYOTA, LICENSE AGREEMENT TMS1002
  15. REMOVE REVERSE IDLER GEAR SHAFT BOLT 
    1. Remove the reverse idler gear shaft bolt and gasket from the manual transmission case.
      GTY449586Courtesy of © TOYOTA, LICENSE AGREEMENT TMS1002
  16. REMOVE LOCK BALL PIN 
    1. Using a 10 mm hexagon socket wrench, remove the shift and select lever shaft straight screw with head plug from the manual transmission case.
      GTY449585Courtesy of © TOYOTA, LICENSE AGREEMENT TMS1002
    2. Using a Magnet Hand, remove the shift and select lever shaft compression spring and lock ball pin from the manual transmission case.
  17. REMOVE SHIFT DETENT BALL 
    1. Using a 6 mm hexagon socket wrench, remove the shift detent ball plug from the manual transmission case.
      GTY455984Courtesy of © TOYOTA, LICENSE AGREEMENT TMS1002
    2. Using a Magnet Hand, remove the shift detent ball compression spring and shift detent ball from the manual transmission case.
    3. Using a 6 mm hexagon socket wrench, remove the 2 shift detent ball plugs from the manual transmission case.
      GTY449451Courtesy of © TOYOTA, LICENSE AGREEMENT TMS1002
    4. Using a Magnet Hand, remove the 2 shift detent ball compression springs and 2 shift detent balls from the manual transmission case.
  18. REMOVE OUTER SHIFT LEVER E RING 
    1. Remove the outer shift lever E ring from the outer No. 1 shift lever.
      GTY455990Courtesy of © TOYOTA, LICENSE AGREEMENT TMS1002
  19. REMOVE MANUAL TRANSMISSION CASE 
    1. Remove the 16 bolts.
      GTY455991Courtesy of © TOYOTA, LICENSE AGREEMENT TMS1002
    2. Using a screwdriver with its tip wrapped with protective tape, separate the manual transmission case from the front transaxle case.
      NOTE:

      Do not damage the manual transmission case.

      GTY443771Courtesy of © TOYOTA, LICENSE AGREEMENT TMS1002
      *a Protective Tape

      HINT: 

      Tape the screwdriver tip before use.

    3. Turn the outer No. 1 shift lever clockwise until it comes into contact with the boss.
      GTY438276Courtesy of © TOYOTA, LICENSE AGREEMENT TMS1002
      *a Boss
    4. Push the outer No. 1 shift lever and remove the manual transmission case.
      GTY449606Courtesy of © TOYOTA, LICENSE AGREEMENT TMS1002
  20. REMOVE REVERSE IDLER GEAR SUB-ASSEMBLY 
    1. Remove the reverse idler gear sub-assembly, reverse idler thrust washer and reverse idler gear shaft from the front transaxle case.
      GTY455989Courtesy of © TOYOTA, LICENSE AGREEMENT TMS1002
  21. REMOVE REVERSE SHIFT FORK SHAFT ASSEMBLY 
    1. Turn the reverse shift fork shaft assembly clockwise and remove it from the front transaxle case.
      GTY449604Courtesy of © TOYOTA, LICENSE AGREEMENT TMS1002
  22. REMOVE REVERSE SHIFT ARM BRACKET ASSEMBLY 
    1. Remove the 2 bolts and reverse shift arm bracket assembly from the front transaxle case.
      GTY449601Courtesy of © TOYOTA, LICENSE AGREEMENT TMS1002
  23. REMOVE SHIFT AND SELECT LEVER SHAFT ASSEMBLY 
    1. Using a 6 mm hexagon socket wrench, remove the inner select lever set bolt.
      GTY455988Courtesy of © TOYOTA, LICENSE AGREEMENT TMS1002
    2. Turn the shift and select lever shaft assembly clockwise and remove it from the front transaxle case.
      GTY449675Courtesy of © TOYOTA, LICENSE AGREEMENT TMS1002
    3. Remove the shift inter lock plate from the front transaxle case.
  24. REMOVE OUTER SELECT LEVER 
    1. Remove the outer select lever and inner select lever from the front transaxle case.
      GTY456005Courtesy of © TOYOTA, LICENSE AGREEMENT TMS1002
  25. REMOVE OUTER SELECT LEVER OIL SEAL 
    1. Using a screwdriver with its tip wrapped with protective tape, remove the outer select lever oil seal from the front transaxle case.
      NOTE:

      Do not damage the installation surfaces.

      GTY429341Courtesy of © TOYOTA, LICENSE AGREEMENT TMS1002
      *a Protective Tape

      HINT: 

      Tape the screwdriver tip before use.

  26. REMOVE INPUT SHAFT ASSEMBLY 
    1. Remove the input shaft assembly, output shaft assembly, No. 1 gear shift fork shaft assembly, No. 2 gear shift fork shaft assembly and No. 3 gear shift fork shaft assembly from the front transaxle case.
      GTY449677Courtesy of © TOYOTA, LICENSE AGREEMENT TMS1002
  27. REMOVE DIFFERENTIAL CASE ASSEMBLY 
    1. Remove the differential case assembly from the front transaxle case.
      GTY449676Courtesy of © TOYOTA, LICENSE AGREEMENT TMS1002
  28. REMOVE FRONT DIFFERENTIAL CASE FRONT TAPERED ROLLER BEARING 
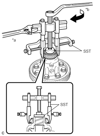
    1. Using SST, remove the front differential case front tapered roller bearing (outer race) and front differential case front plate washer from the front transaxle case.
      GTY453548Courtesy of © TOYOTA, LICENSE AGREEMENT TMS1002
      • SST: 09308-00010 
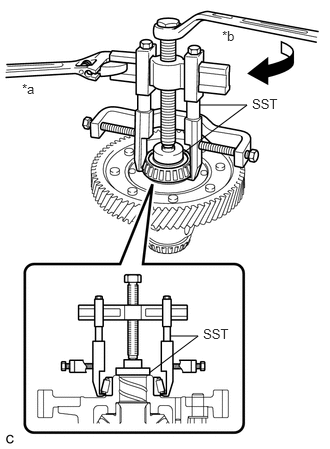
    2. Using SST, remove the front differential case front tapered roller bearing (inner race) from the differential case assembly.
      GTY453739Courtesy of © TOYOTA, LICENSE AGREEMENT TMS1002
      *a Hold
      *b Turn
      • SST: 09950-40011 
        1. 09951-04010
        2. 09952-04010
        3. 09953-04020
        4. 09954-04010
        5. 09955-04061
        6. 09957-04010
        7. 09958-04011
      • SST: 09950-60010 
        1. 09951-00390
  29. REMOVE FRONT DIFFERENTIAL CASE REAR TAPERED ROLLER BEARING 
    1. Using SST, remove the front differential case rear tapered roller bearing (outer race) and front differential case rear plate washer from the manual transmission case.
      GTY450754Courtesy of © TOYOTA, LICENSE AGREEMENT TMS1002
      • SST: 09308-00010 
    2. Using SST, remove the front differential case rear tapered roller bearing (inner race) from the front differential case.
      GTY442049Courtesy of © TOYOTA, LICENSE AGREEMENT TMS1002
      *a Hold
      *b Turn
      • SST: 09950-40011 
        1. 09951-04010
        2. 09952-04010
        3. 09953-04020
        4. 09954-04010
        5. 09955-04061
        6. 09957-04010
        7. 09958-04011
      • SST: 09950-60010 
        1. 09951-00390
  30. REMOVE TRANSMISSION MAGNET 
    1. Remove the transmission magnet from the front transaxle case.
      GTY456006Courtesy of © TOYOTA, LICENSE AGREEMENT TMS1002
  31. REMOVE TRANSMISSION OIL SEPARATOR 
    1. Remove the 4 bolts and transmission oil separator from the front transaxle case.
      GTY449678Courtesy of © TOYOTA, LICENSE AGREEMENT TMS1002
  32. REMOVE BREATHER PLUG 
    1. Remove the breather plug from the front transaxle case.
      GTY449667Courtesy of © TOYOTA, LICENSE AGREEMENT TMS1002
  33. REMOVE FRONT OUTPUT SHAFT BEARING (OUTER RACE) 
    1. Using SST, remove the front output shaft bearing (outer race) from the front transaxle case.
      GTY437058Courtesy of © TOYOTA, LICENSE AGREEMENT TMS1002
      • SST: 09308-00010 
    2. Remove the output shaft cover from the front transaxle case.
      GTY449669Courtesy of © TOYOTA, LICENSE AGREEMENT TMS1002
  34. REMOVE FRONT TRANSAXLE CASE OIL SEAL 
    1. Using SST and a hammer, remove the front transaxle case oil seal from the front transaxle case.
      GTY431211Courtesy of © TOYOTA, LICENSE AGREEMENT TMS1002
      • SST: 09950-60010 
        1. 09951-00360
      • SST: 09950-70010 
        1. 09951-07150
  35. REMOVE REVERSE RESTRICT PIN ASSEMBLY 
    1. Remove the reverse restrict pin assembly from the front transaxle case.
      GTY440084Courtesy of © TOYOTA, LICENSE AGREEMENT TMS1002
  36. REMOVE STRAIGHT PIN 
    1. Remove the 5 straight pins from the front transaxle case.
      GTY427223Courtesy of © TOYOTA, LICENSE AGREEMENT TMS1002
  37. REMOVE REAR INPUT SHAFT BEARING SHIM 
    1. Remove the rear input shaft bearing shim from the manual transmission case.
      GTY449692Courtesy of © TOYOTA, LICENSE AGREEMENT TMS1002
  38. REMOVE INPUT SHAFT COVER 
    1. Remove the input shaft cover from the manual transmission case.
      GTY453240Courtesy of © TOYOTA, LICENSE AGREEMENT TMS1002
  39. REMOVE NO. 1 OIL RECEIVER PIPE 
    1. Remove the No. 1 oil receiver pipe from the manual transmission case.
      GTY449691Courtesy of © TOYOTA, LICENSE AGREEMENT TMS1002
  40. REMOVE TRANSMISSION OIL SEPARATOR 
    1. Remove the 2 bolts and transmission oil separator from the manual transmission case.
      GTY449680Courtesy of © TOYOTA, LICENSE AGREEMENT TMS1002
  41. REMOVE MANUAL TRANSMISSION OIL SEPARATOR SUB-ASSEMBLY 
    1. Remove the 4 bolts and manual transmission oil separator sub-assembly from the manual transmission case.
      GTY449681Courtesy of © TOYOTA, LICENSE AGREEMENT TMS1002
  42. REMOVE OUTER NO. 1 SHIFT LEVER 
    1. Using a 5 mm pin punch and a hammer, remove the inner shift lever slotted spring pin from the inner No. 1 shift lever.
      GTY441466Courtesy of © TOYOTA, LICENSE AGREEMENT TMS1002

      HINT: 

      When removing the inner shift lever slotted spring pin, align the pin with the hole in the No. 1 lock ball assembly.

    2. Remove the inner No. 1 shift lever, outer shift lever spacer and outer No. 1 shift lever from the manual transmission case.
  43. REMOVE OUTER SHIFT LEVER OIL SEAL 
    1. Using a screwdriver with its tip wrapped with protective tape, remove the outer shift lever oil seal from the manual transmission case.
      NOTE:

      Do not damage the installation surfaces.

      GTY430933Courtesy of © TOYOTA, LICENSE AGREEMENT TMS1002
      *a Protective Tape

      HINT: 

      Tape the screwdriver tip before use.

  44. REMOVE REAR OUTPUT SHAFT BEARING (OUTER RACE) 
    1. Using SST, remove the rear output shaft bearing (outer race) and rear output shaft bearing shim from the manual transmission case.
      GTY428869Courtesy of © TOYOTA, LICENSE AGREEMENT TMS1002
      • SST: 09308-00010 
  45. REMOVE FRONT DRIVE SHAFT OIL SEAL LH 
    1. Using SST and a hammer, remove the front drive shaft oil seal LH from the manual transmission case.
      GTY436583Courtesy of © TOYOTA, LICENSE AGREEMENT TMS1002
      • SST: 09950-60010 
        1. 09951-00620
      • SST: 09950-70010 
        1. 09951-07150
  46. REMOVE FRONT DRIVE SHAFT OIL SEAL RH 
    1. Using SST and a hammer, remove the front drive shaft oil seal RH from the front transaxle case.
      GTY423143Courtesy of © TOYOTA, LICENSE AGREEMENT TMS1002
      • SST: 09950-60010 
        1. 09951-00530
      • SST: 09950-70010 
        1. 09951-07150