LEMON Manuals: Even more car manuals for everyone: 1960-2025
Home >> Toyota >> 2016 >> Corolla L, Automatic Trans >> Repair and Diagnosis >> External Pages >> Different variant/trim >> Section 1 (Manual Transaxle (Service Information) (Model Code: ZRE172)) >> Manual Transaxle Unit >> Reassembly [08/2013 - 08/2016] >> Procedure
April 5, 2026: LEMON Manuals is launched! Read the announcement.

Reassembly [08/2013 - 08/2016]: Procedure

WARNING: This page is about a different variant/trim than selected.
  1. INSTALL FRONT DIFFERENTIAL CASE FRONT TAPERED ROLLER BEARING 
    1. Using SST and a press, install a new front differential case front tapered roller bearing (inner race) to the differential case assembly.
      GTY436510Courtesy of © TOYOTA, LICENSE AGREEMENT TMS1002
      • SST: 09309-37010 
      • SST: 09506-35010 
    2. Using SST and a press, install a new front differential case front tapered roller bearing (outer race) together with the front differential case front plate washer to the front transaxle case.
      GTY430136Courtesy of © TOYOTA, LICENSE AGREEMENT TMS1002
      • SST: 09950-60020 
        1. 09951-00680
      • SST: 09950-70010 
        1. 09951-07200
  2. INSTALL FRONT DIFFERENTIAL CASE REAR TAPERED ROLLER BEARING 
    1. Using SST and a press, install a new front differential case rear tapered roller bearing (inner race) to the differential case assembly.
      GTY425031Courtesy of © TOYOTA, LICENSE AGREEMENT TMS1002
      • SST: 09636-20010 
      • SST: 09726-40010 
    2. Using SST and a press, install a new front differential case rear tapered roller bearing (outer race) together with the front differential case rear plate washer to the manual transmission case.
      GTY447739Courtesy of © TOYOTA, LICENSE AGREEMENT TMS1002
      • SST: 09309-36010 
      • SST: 09950-60020 
        1. 09951-00730
      • SST: 09950-70010 
        1. 09951-07100

      HINT: 

      Use a front differential case rear plate washer of the same thickness as the removed one.

  3. ADJUST DIFFERENTIAL SIDE BEARING PRELOAD 
    1. Coat the differential case assembly with gear oil and install it to the front transaxle case.
      GTY449676Courtesy of © TOYOTA, LICENSE AGREEMENT TMS1002
    2. Install the manual transmission case with the 16 bolts.

      Torque: 29.4 N*m (300 kgf*cm, 22 ft.*lbf) 

      GTY455991Courtesy of © TOYOTA, LICENSE AGREEMENT TMS1002
    3. Using SST and a torque wrench, turn the differential case assembly clockwise and counterclockwise 2 or 3 times to allow the bearings to settle.
      GTY450114Courtesy of © TOYOTA, LICENSE AGREEMENT TMS1002
      *1 Front Differential Case Rear Plate Washer
      • SST: 09564-32011 
    4. Using SST and a torque wrench, measure the preload.
      • SST: 09564-32011 

      Preload (at starting)

      New Bearing 

      1.0 to 1.6 N*m (10 to 16 kgf*cm, 9 to 14 in.*lbf)

      Used Bearing 

      0.8 to 1.3 N*m (8 to 13 kgf*cm, 7 to 12 in.*lbf)

      If the preload is out of specification, replace the front differential case rear plate washer with one of a different thickness. Use the table below to select a front differential case rear plate washer which will ensure that the preload is within the specification.

      Front Differential Case Rear Plate Washer Thickness

      Mark Thickness mm (in.) Mark Thickness mm (in.)
      10 2.100 (0.0827) 26 2.500 (0.0984)
      11 2.125 (0.0837) 27 2.525 (0.0994)
      12 2.150 (0.0846) 28 2.550 (0.100)
      13 2.175 (0.0856) 29 2.575 (0.101)
      14 2.200 (0.0866) 30 2.600 (0.102)
      15 2.225 (0.0876) 31 2.625 (0.103)
      16 2.250 (0.0886) 32 2.650 (0.104)
      17 2.275 (0.0896) 33 2.675 (0.105)
      18 2.300 (0.0906) 34 2.700 (0.106)
      19 2.325 (0.0915) 35 2.725 (0.107)
      20 2.350 (0.0925) 36 2.750 (0.108)
      21 2.375 (0.0935) 37 2.775 (0.109)
      22 2.400 (0.0945) 38 2.800 (0.110)
      23 2.425 (0.0955) 39 2.825 (0.111)
      24 2.450 (0.0965) 40 2.850 (0.112)
      25 2.475 (0.0974) - -

      HINT: 

      • Select a thicker front differential case rear plate washer to increase the preload or a thinner front differential case rear plate washer to decrease the preload.
      • Make a memo as the torque values will be needed to adjust output shaft bearing preload.
    5. Remove the 16 bolts and manual transmission case.
    6. Remove the differential case assembly from the front transaxle case.
  4. INSTALL FRONT OUTPUT SHAFT BEARING (OUTER RACE) 
    1. Install the output shaft cover to the front transaxle case.
      GTY451998Courtesy of © TOYOTA, LICENSE AGREEMENT TMS1002
      *a Key
      NOTE:

      Insert the key of the output shaft cover into the case groove.

    2. Using SST and a press, install a new front output shaft bearing (outer race) to the front transaxle case.
      GTY425946Courtesy of © TOYOTA, LICENSE AGREEMENT TMS1002
      • SST: 09950-60010 
        1. 09951-00630
      • SST: 09950-70010 
  5. INSTALL REAR OUTPUT SHAFT BEARING (OUTER RACE) 
    1. Using SST and a press, install a new rear output shaft bearing (outer race) with the rear output shaft bearing shim to the manual transmission case.
      GTY443265Courtesy of © TOYOTA, LICENSE AGREEMENT TMS1002
      • SST: 09950-60010 
        1. 09951-00590
      • SST: 09950-70010 
        1. 09951-07200

      HINT: 

      Use a rear output shaft bearing shim of the same thickness as the removed one.

  6. ADJUST OUTPUT SHAFT BEARING PRELOAD 
    1. Coat the differential case assembly with gear oil and install it to the front transaxle case.
      GTY449676Courtesy of © TOYOTA, LICENSE AGREEMENT TMS1002
    2. Coat the output shaft assembly with gear oil and install it to the front transaxle case.
      GTY436835Courtesy of © TOYOTA, LICENSE AGREEMENT TMS1002
    3. Install the manual transmission case with the 16 bolts.

      Torque: 29.4 N*m (300 kgf*cm, 22 ft.*lbf) 

      GTY455991Courtesy of © TOYOTA, LICENSE AGREEMENT TMS1002
    4. Using SST and a torque wrench, turn the differential case assembly clockwise and counterclockwise 2 or 3 times to allow the bearings to settle.
      GTY443334Courtesy of © TOYOTA, LICENSE AGREEMENT TMS1002
      *1 Rear Output Shaft Bearing Shim
      • SST: 09564-32011 
    5. Using SST and a torque wrench, measure the preload. Calculate the rear output shaft bearing preload using the following formula.
      • SST: 09564-32011 

      Formula

      Measured preload - Differential side bearing preload = Output shaft bearing preload

      Bearing Preload (at starting)
      New bearing 4.3 to 7.4 N*m (44 to 75 kgf*cm, 38 to 65 in.*lbf)
      Used bearing 2.8 to 4.7 N*m (29 to 48 kgf*cm, 25 to 42 in.*lbf)

      If the preload is out of specification, replace the rear output shaft bearing shim with one of a different thickness. Use the table below to select a rear output shaft bearing shim which will ensure that the preload is within the specification.

      Rear Output Shaft Bearing Shim Thickness

      Mark Thickness mm (in.) Mark Thickness mm (in.)
      50 1.750 (0.0689) 72 2.300 (0.0906)
      51 1.775 (0.0699) 73 2.325 (0.0915)
      52 1.800 (0.0709) 74 2.350 (0.0925)
      53 1.825 (0.0719) 75 2.375 (0.0935)
      54 1.850 (0.0728) 76 2.400 (0.0945)
      55 1.875 (0.0738) 77 2.425 (0.0955)
      56 1.900 (0.0748) 78 2.450 (0.0965)
      57 1.925 (0.0758) 79 2.475 (0.0974)
      58 1.950 (0.0768) 80 2.500 (0.0984)
      59 1.975 (0.0778) 81 2.525 (0.0994)
      60 2.000 (0.0787) 82 2.550 (0.100)
      61 2.025 (0.0797) 83 2.575 (0.101)
      62 2.050 (0.0807) 84 2.600 (0.102)
      63 2.075 (0.0817) 85 2.625 (0.103)
      64 2.100 (0.0827) 86 2.650 (0.104)
      65 2.125 (0.0837) 87 2.675 (0.105)
      66 2.150 (0.0846) 88 2.700 (0.106)
      67 2.175 (0.0856) 89 2.725 (0.107)
      68 2.200 (0.0866) 90 2.750 (0.108)
      69 2.225 (0.0876) 91 2.775 (0.109)
      70 2.250 (0.0886) 92 2.800 (0.110)
      71 2.275 (0.0896) - -

      HINT: 

      Select a thicker rear output shaft bearing shim to increase the preload or a thinner rear output shaft bearing shim to decrease the preload.

    6. Remove the 16 bolts and manual transmission case.
    7. Remove the output shaft assembly from the front transaxle case.
    8. Remove the differential case assembly from the front transaxle case.
  7. INSTALL OUTER SHIFT LEVER OIL SEAL 
    1. Using SST and a hammer, install a new outer shift lever oil seal to the manual transmission case.
      GTY440702Courtesy of © TOYOTA, LICENSE AGREEMENT TMS1002
      *a Depth
      • SST: 09950-60010 
        1. 09951-00260
      • SST: 09950-70010 
        1. 09951-07100

      Standard Depth

      0.5 to 1.0 mm (0.0197 to 0.0394 in.)

    2. Coat the lip of the outer shift lever oil seal with MP grease.
  8. INSTALL OUTER NO. 1 SHIFT LEVER 
    1. Install the inner No. 1 shift lever, outer shift lever spacer and outer No. 1 shift lever to the manual transmission case.
      GTY436725Courtesy of © TOYOTA, LICENSE AGREEMENT TMS1002
      *a Mark
      *b Depth

      Standard Depth

      -0.5 to 0.5 mm (-0.0197 to 0.0197 in.)

      HINT: 

      Install the inner No. 1 shift lever with its mark facing the outside of the manual transmission case.

    2. Using a 5 mm pin punch and a hammer, install the inner shift lever slotted spring pin to the inner No. 1 shift lever.
  9. INSTALL MANUAL TRANSMISSION OIL SEPARATOR SUB-ASSEMBLY 
    1. Install the manual transmission oil separator sub-assembly to the manual transmission case with the 4 bolts.
      GTY449681Courtesy of © TOYOTA, LICENSE AGREEMENT TMS1002

      Torque: 17 N*m (173 kgf*cm, 13 ft.*lbf) 

      HINT: 

      Make sure that the end tabs of the manual transmission oil separator sub-assembly are inserted into the grooves of the manual transmission case.

  10. INSTALL TRANSMISSION OIL SEPARATOR 
    1. Install the transmission oil separator to the manual transmission case with the 2 bolts.
      GTY449680Courtesy of © TOYOTA, LICENSE AGREEMENT TMS1002

      Torque: 17 N*m (173 kgf*cm, 13 ft.*lbf) 

      HINT: 

      Make sure that the tip of the transmission oil separator is inserted into the groove of the manual transmission case.

  11. INSTALL NO. 1 OIL RECEIVER PIPE 
    1. Install the No. 1 oil receiver pipe to the manual transmission case.
      GTY449691Courtesy of © TOYOTA, LICENSE AGREEMENT TMS1002

      HINT: 

      Make sure that the No. 1 oil receiver pipe fully contacts the manual transmission case.

  12. INSTALL STRAIGHT PIN 
    1. Using a plastic hammer, install 5 new straight pins to the specified protrusion height.
      GTY425189Courtesy of © TOYOTA, LICENSE AGREEMENT TMS1002
      *a Protrusion Height

      Protrusion Height

      8.5 to 9.5 mm (0.335 to 0.374 in.)

  13. INSTALL REVERSE RESTRICT PIN ASSEMBLY 
    1. Install the reverse restrict pin assembly to the front transaxle case.
      GTY440084Courtesy of © TOYOTA, LICENSE AGREEMENT TMS1002
  14. INSTALL BREATHER PLUG 
    1. Using SST and a hammer, install the breather plug to the front transaxle case.
      GTY437947Courtesy of © TOYOTA, LICENSE AGREEMENT TMS1002
      • SST: 09350-30020 
        1. 09350-07110
  15. INSTALL TRANSMISSION OIL SEPARATOR 
    1. Install the transmission oil separator to the front transaxle case with the 4 bolts.
      GTY449678Courtesy of © TOYOTA, LICENSE AGREEMENT TMS1002

      Torque: 17 N*m (173 kgf*cm, 13 ft.*lbf) 

  16. INSTALL FRONT TRANSAXLE CASE OIL SEAL 
    1. Using SST and a hammer, install a new front transaxle case oil seal to the front transaxle case.
      GTY437292Courtesy of © TOYOTA, LICENSE AGREEMENT TMS1002
      *a Depth
      • SST: 09950-60010 
        1. 09951-00350
      • SST: 09950-70010 
        1. 09951-07100

      Standard Depth

      0.9 to 1.9 mm (0.0354 to 0.0748 in.)

    2. Coat the lip of the front transaxle case oil seal with MP grease.
  17. INSTALL TRANSMISSION MAGNET 
    1. Clean the transmission magnet and install it to the front transaxle case.
      GTY456006Courtesy of © TOYOTA, LICENSE AGREEMENT TMS1002
  18. INSTALL INPUT SHAFT COVER 
    1. Install the input shaft cover to the manual transmission case.
      GTY434040Courtesy of © TOYOTA, LICENSE AGREEMENT TMS1002
      *a Key
      NOTE:

      Insert the key of the input shaft cover into the manual transmission case groove.

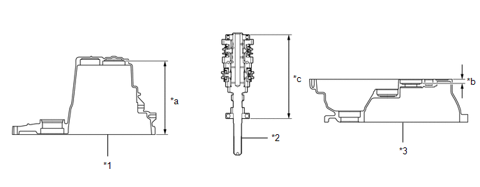
  19. INSTALL REAR INPUT SHAFT BEARING SHIM 
    1. Install the rear input shaft bearing shim to the manual transmission case.
      NOTE:

      Apply MP grease to the rear input shaft bearing shim to prevent it from falling out of the manual transmission case during reassembly.

      GTY449692Courtesy of © TOYOTA, LICENSE AGREEMENT TMS1002
    2. Measure the distance between the end of the manual transmission case and the rear input shaft bearing shim (Dimension A).
      GTY452479Courtesy of © TOYOTA, LICENSE AGREEMENT TMS1002
      *1 Manual Transmission Case *2 Input Shaft Assembly
      *3 Front Transaxle Case - -
      *a Dimension A *b Dimension B
      *c Dimension C - -
    3. Measure the distance between the end of the front transaxle case and the installation surface of the front input shaft bearing (Dimension B).
    4. Measure the distance between both input shaft bearing outer races (Dimension C).
      NOTE:

      Measure Dimension C with each bearing having no axial clearance.

    5. Calculate the rear input shaft bearing shim value using the following formula.

      Formula

      (Dimension A + Dimension B) - Dimension C - Rear input shaft bearing shim thickness = 0.02 mm (0.000787 in.) to 0.14 mm (0.00551 in.)

      If the preload is out of specification, replace the rear input shaft bearing shim with one of a different thickness. Use the table below to select a rear input shaft bearing shim which will ensure that the preload is within the specification.

      Rear Input Shaft Bearing Shim Thickness

      Mark Thickness mm (in.) Mark Thickness mm (in.)
      08 1.30 (0.0512) 14 1.60 (0.0630)
      09 1.35 (0.0531) 15 1.65 (0.0650)
      10 1.40 (0.0551) 16 1.70 (0.0669)
      11 1.45 (0.0571) 17 1.75 (0.0689)
      12 1.50 (0.0591) 18 1.80 (0.0709)
      13 1.55 (0.0610) 19 1.85 (0.0728)
    6. Coat the rear input shaft bearing shim with MP grease and install it to the manual transmission case.
      NOTE:
      • Do not apply MP grease to the oil grooves.
      • The shim should be cleaned before assembly.
  20. INSTALL DIFFERENTIAL CASE ASSEMBLY 
    1. Coat the differential case assembly with gear oil and install it to the front transaxle case.
      GTY449676Courtesy of © TOYOTA, LICENSE AGREEMENT TMS1002
  21. INSTALL INPUT SHAFT ASSEMBLY 
    1. Apply gear oil to all sliding and rotating parts.
    2. Coat the No. 1 gear shift fork shaft assembly with gear oil and install it to the output shaft assembly.
      GTY443631Courtesy of © TOYOTA, LICENSE AGREEMENT TMS1002
      *1 No. 1 Gear Shift Fork Shaft Assembly
      *2 Output Shaft Assembly
    3. Coat the No. 2 gear shift fork shaft assembly and No. 3 gear shift fork shaft assembly with gear oil and install them to the input shaft assembly.
      GTY446600Courtesy of © TOYOTA, LICENSE AGREEMENT TMS1002
      *1 No. 2 Gear Shift Fork Shaft Assembly
      *2 No. 3 Gear Shift Fork Shaft Assembly
      *3 Input Shaft Assembly
    4. Temporarily install the output shaft assembly, input shaft assembly, No. 1 gear shift fork shaft assembly, No. 2 gear shift fork shaft assembly and No. 3 gear shift fork shaft assembly, and tie them with a rope or string.
    5. Install the input shaft assembly, output shaft assembly, No. 1 gear shift fork shaft assembly, No. 2 gear shift fork shaft assembly and No. 3 gear shift fork shaft assembly to the front transaxle case.
      GTY449677Courtesy of © TOYOTA, LICENSE AGREEMENT TMS1002
  22. INSTALL OUTER SELECT LEVER OIL SEAL 
    1. Using SST and a hammer, install a new outer select lever oil seal to the front transaxle case.
      GTY437348Courtesy of © TOYOTA, LICENSE AGREEMENT TMS1002
      *a Depth
      • SST: 09950-60010 
        1. 09951-00240
      • SST: 09950-70010 
        1. 09951-07100

      Standard Depth

      0.5 to 1.0 mm (0.0197 to 0.0394 in.)

    2. Coat the lip of the outer select lever oil seal with MP grease.
  23. INSTALL OUTER SELECT LEVER 
    1. Install the outer select lever and inner select lever to the front transaxle case.
      GTY453578Courtesy of © TOYOTA, LICENSE AGREEMENT TMS1002
      *a Mark

      HINT: 

      Install the outer select lever with its mark facing the outside of the front transaxle case.

  24. INSTALL SHIFT AND SELECT LEVER SHAFT ASSEMBLY 
    1. Turn the shift and select lever shaft assembly and the shift inter lock plate counterclockwise, and install them to the front transaxle case.
      GTY434660Courtesy of © TOYOTA, LICENSE AGREEMENT TMS1002
      *1 Shift and Select Lever Shaft Assembly
      *2 Inner Select Lever
      *3 Shift Inter Lock Plate

      HINT: 

      When installing the inner select lever, make sure to engage it with the shift inter lock plate.

    2. Coat the threads of the inner select lever set bolt with adhesive and install the bolt using a 6 mm hexagon socket wrench.
      GTY455988Courtesy of © TOYOTA, LICENSE AGREEMENT TMS1002

      Adhesive

      Toyota Genuine Adhesive 1344, Three Bond 1344 or equivalent

      Torque: 28 N*m (286 kgf*cm, 21 ft.*lbf) 

  25. INSTALL REVERSE SHIFT ARM BRACKET ASSEMBLY 
    1. Install the reverse shift arm bracket assembly to the front transaxle case with the 2 bolts.
      GTY449601Courtesy of © TOYOTA, LICENSE AGREEMENT TMS1002

      Torque: 17 N*m (173 kgf*cm, 13 ft.*lbf) 

  26. INSTALL REVERSE SHIFT FORK SHAFT ASSEMBLY 
    1. Coat the reverse shift fork shaft assembly with gear oil and install it.
      GTY440236Courtesy of © TOYOTA, LICENSE AGREEMENT TMS1002
  27. INSTALL REVERSE IDLER GEAR SUB-ASSEMBLY 
    1. Coat the reverse idler gear sub-assembly, reverse idler thrust washer and reverse idler gear shaft with gear oil, and install them as shown in the illustration.
      GTY451548Courtesy of © TOYOTA, LICENSE AGREEMENT TMS1002
      *a Parallel
      *b Reverse Idler Gear Shaft Bolt Installation Surface
      *c Screw Hole
      NOTE:

      Make sure that the reverse idler gear shaft bolt installation surface of the reverse idler gear is parallel to the screw hole on the front transaxle case.

      HINT: 

      Raise the edge of the reverse shift arm bracket assembly and install it to the reverse shift fork shaft assembly.

  28. INSTALL MANUAL TRANSMISSION CASE 
    1. Apply FIPG to the manual transmission case as shown in the illustration.

      FIPG

      Toyota Genuine Seal Packing 1281, Three Bond 1281 or equivalent

      NOTE:
      • Remove any oil from the contact surfaces.
      • Install the parts within 10 minutes of application. Otherwise, the seal packing (FIPG) must be removed and reapplied.
      GTY435220Courtesy of © TOYOTA, LICENSE AGREEMENT TMS1002
      *a FIPG
      (Seal Diameter 1.2 mm (0.0472 in.))
    2. Push the outer No. 1 shift lever and temporarily install the manual transmission case.
      GTY449427Courtesy of © TOYOTA, LICENSE AGREEMENT TMS1002

      HINT: 

      Pushing on the outer No. 1 shift lever allows the manual transmission case to be temporarily installed.

    3. Pull the outer No. 1 shift lever out and turn it counterclockwise.
      GTY449415Courtesy of © TOYOTA, LICENSE AGREEMENT TMS1002
    4. Install the manual transmission case with the 16 bolts.
      GTY455991Courtesy of © TOYOTA, LICENSE AGREEMENT TMS1002

      Torque: 29.4 N*m (300 kgf*cm, 22 ft.*lbf) 

  29. INSTALL OUTER SHIFT LEVER E RING 
    1. Install the outer shift lever E ring to the outer No. 1 shift lever.
      GTY455990Courtesy of © TOYOTA, LICENSE AGREEMENT TMS1002
  30. INSTALL FRONT DRIVE SHAFT OIL SEAL LH 
    1. Using SST and a hammer, install a new front drive shaft oil seal LH to the manual transmission case.
      GTY428128Courtesy of © TOYOTA, LICENSE AGREEMENT TMS1002
      *a Depth
      • SST: 09316-60011 
        1. 09316-00011

      Standard Depth

      10.6 to 11.6 mm (0.417 to 0.457 in.)

      NOTE:

      Do not damage the oil seal lip.

    2. Coat the lip of the front drive shaft oil seal LH with MP grease.
  31. INSTALL FRONT DRIVE SHAFT OIL SEAL RH 
    1. Using SST and a hammer, install a new front drive shaft oil seal RH to the front transaxle case.
      • SST: 09630-24014 
        1. 09620-24051
      • SST: 09950-60010 
        1. 09951-00410
        2. 09951-00530
        3. 09952-06010
      • SST: 09950-70010 
        1. 09951-07100
      GTY429870Courtesy of © TOYOTA, LICENSE AGREEMENT TMS1002
      *a Depth

      Standard Depth

      1.2 to 2.2 mm (0.0472 to 0.0866 in.)

      NOTE:

      Do not damage the oil seal lip.

    2. Coat the lip of the front drive shaft oil seal RH with MP grease.
  32. INSTALL SHIFT DETENT BALL 
    1. Install the 2 shift detent balls and 2 shift detent ball compression springs to the manual transmission case.
      GTY449451Courtesy of © TOYOTA, LICENSE AGREEMENT TMS1002
    2. Coat the threads of the 2 shift detent ball plugs with adhesive and install them using a 6 mm hexagon socket wrench.

      Adhesive

      Toyota Genuine Adhesive 1344, Three Bond 1344 or equivalent

      Torque: 22 N*m (224 kgf*cm, 16 ft.*lbf) 

      NOTE:

      Be careful not to drop the shift detent balls into the manual transmission case.

    3. Install the shift detent ball and shift detent ball compression spring to the manual transmission case.
      GTY455984Courtesy of © TOYOTA, LICENSE AGREEMENT TMS1002
    4. Coat the threads of the shift detent ball plug with adhesive and install it using a 6 mm hexagon socket wrench.

      Adhesive

      Toyota Genuine Adhesive 1344, Three Bond 1344 or equivalent

      Torque: 22 N*m (224 kgf*cm, 16 ft.*lbf) 

      NOTE:

      Be careful not to drop the shift detent ball into the manual transmission case.

  33. INSTALL LOCK BALL PIN 
    1. Install the lock ball pin and shift and select lever shaft compression spring to the manual transmission case.
      GTY449585Courtesy of © TOYOTA, LICENSE AGREEMENT TMS1002
    2. Coat the threads of the shift and select lever shaft straight screw with head plug with adhesive and install it using a 10 mm hexagon socket wrench.

      Adhesive

      Toyota Genuine Adhesive 1344, Three Bond 1344 or equivalent

      Torque: 24.5 N*m (250 kgf*cm, 18 ft.*lbf) 

  34. INSTALL REVERSE IDLER GEAR SHAFT BOLT 
    1. Coat the threads of the reverse idler gear shaft bolt with adhesive and install it to the manual transmission case with a new gasket.
      GTY449586Courtesy of © TOYOTA, LICENSE AGREEMENT TMS1002

      Adhesive

      Toyota Genuine Adhesive 1324, Three Bond 1324 or equivalent

      Torque: 30 N*m (306 kgf*cm, 22 ft.*lbf) 

  35. INSTALL NO. 1 LOCK BALL ASSEMBLY 
    1. Coat the threads of the No. 1 lock ball assembly with adhesive and install it to the manual transmission case.
      GTY449583Courtesy of © TOYOTA, LICENSE AGREEMENT TMS1002

      Adhesive

      Toyota Genuine Adhesive 1344, Three Bond 1344 or equivalent

      Torque: 29.4 N*m (300 kgf*cm, 22 ft.*lbf) 

  36. INSTALL TRANSMISSION CASE PLUG 
    1. Install the transmission case plug to the manual transmission case with a new gasket.
      GTY435750Courtesy of © TOYOTA, LICENSE AGREEMENT TMS1002

      Torque: 28 N*m (286 kgf*cm, 21 ft.*lbf) 

  37. INSTALL NO. 1 CLUTCH HOUSING COVER 
    1. Install the No. 1 clutch housing cover to the front transaxle case.
      GTY449588Courtesy of © TOYOTA, LICENSE AGREEMENT TMS1002
  38. INSTALL RELEASE CYLINDER BLEEDER PLUG 
    1. Install the release cylinder bleeder plug to the clutch release bleeder sub-assembly.

      Torque: 8.4 N*m (86 kgf*cm, 74 in.*lbf) 

  39. INSTALL RELEASE CYLINDER BLEEDER PLUG CAP 
    1. Install the release cylinder bleeder plug cap to the release cylinder bleeder plug.
  40. INSTALL CLUTCH RELEASE WITH BEARING CYLINDER ASSEMBLY 

    Refer to PROCEDURE - Step 4 Refer to PROCEDURE - Step 4

  41. REMOVE CLUTCH RELEASE BLEEDER SUB-ASSEMBLY 

    Refer to PROCEDURE - Step 5 Refer to PROCEDURE - Step 5

  42. INSPECT CLUTCH PIPE LINE 

    Refer to PROCEDURE - Step 6 Refer to PROCEDURE - Step 6

  43. INSTALL CLUTCH RELEASE BLEEDER SUB-ASSEMBLY 

    Refer to PROCEDURE - Step 7 Refer to PROCEDURE - Step 7

  44. INSTALL CONTROL CABLE BRACKET ASSEMBLY 
    1. Hook the outer select lever to the reverse restrict pin to secure it.
      GTY446906Courtesy of © TOYOTA, LICENSE AGREEMENT TMS1002
    2. Install the control cable bracket assembly to the manual transmission case with the 3 bolts.
      GTY432890Courtesy of © TOYOTA, LICENSE AGREEMENT TMS1002

      Torque: 17 N*m (173 kgf*cm, 13 ft.*lbf) 

  45. INSTALL TRANSMISSION CASE PLUG 
    1. Install the transmission case plug to the manual transmission case with a new gasket.

      Torque: 40.2 N*m (410 kgf*cm, 30 ft.*lbf) 

      GTY435749Courtesy of © TOYOTA, LICENSE AGREEMENT TMS1002
  46. INSTALL BACK-UP LIGHT SWITCH ASSEMBLY 
    1. Using a 27 mm deep socket wrench, install the back-up light switch assembly and a new gasket to the manual transmission case.
      GTY449636Courtesy of © TOYOTA, LICENSE AGREEMENT TMS1002

      Torque: 40.2 N*m (410 kgf*cm, 30 ft.*lbf) 

  47. INSTALL MANUAL TRANSMISSION FILLER PLUG 
    1. Install the manual transmission filler plug to the manual transmission case with a new gasket.
      GTY436439Courtesy of © TOYOTA, LICENSE AGREEMENT TMS1002

      Torque: 39.2 N*m (400 kgf*cm, 29 ft.*lbf) 

  48. INSTALL MANUAL TRANSMISSION DRAIN PLUG 
    1. Using a 10 mm hexagon socket wrench, install the manual transmission drain plug to the front transaxle case with a new gasket.

      Torque: 45 N*m (459 kgf*cm, 33 ft.*lbf) 

      GTY435751Courtesy of © TOYOTA, LICENSE AGREEMENT TMS1002