LEMON Manuals: Even more car manuals for everyone: 1960-2025
Home >> Toyota >> 2016 >> RAV4 LE, FWD >> Repair and Diagnosis >> External Pages >> Different car >> Section 19 (Occupant Classification System (Diagnostics - Introduction) (Electric)) >> Occupant Classification System >> System Diagram >> System Diagram
April 5, 2026: LEMON Manuals is launched! Read the announcement.

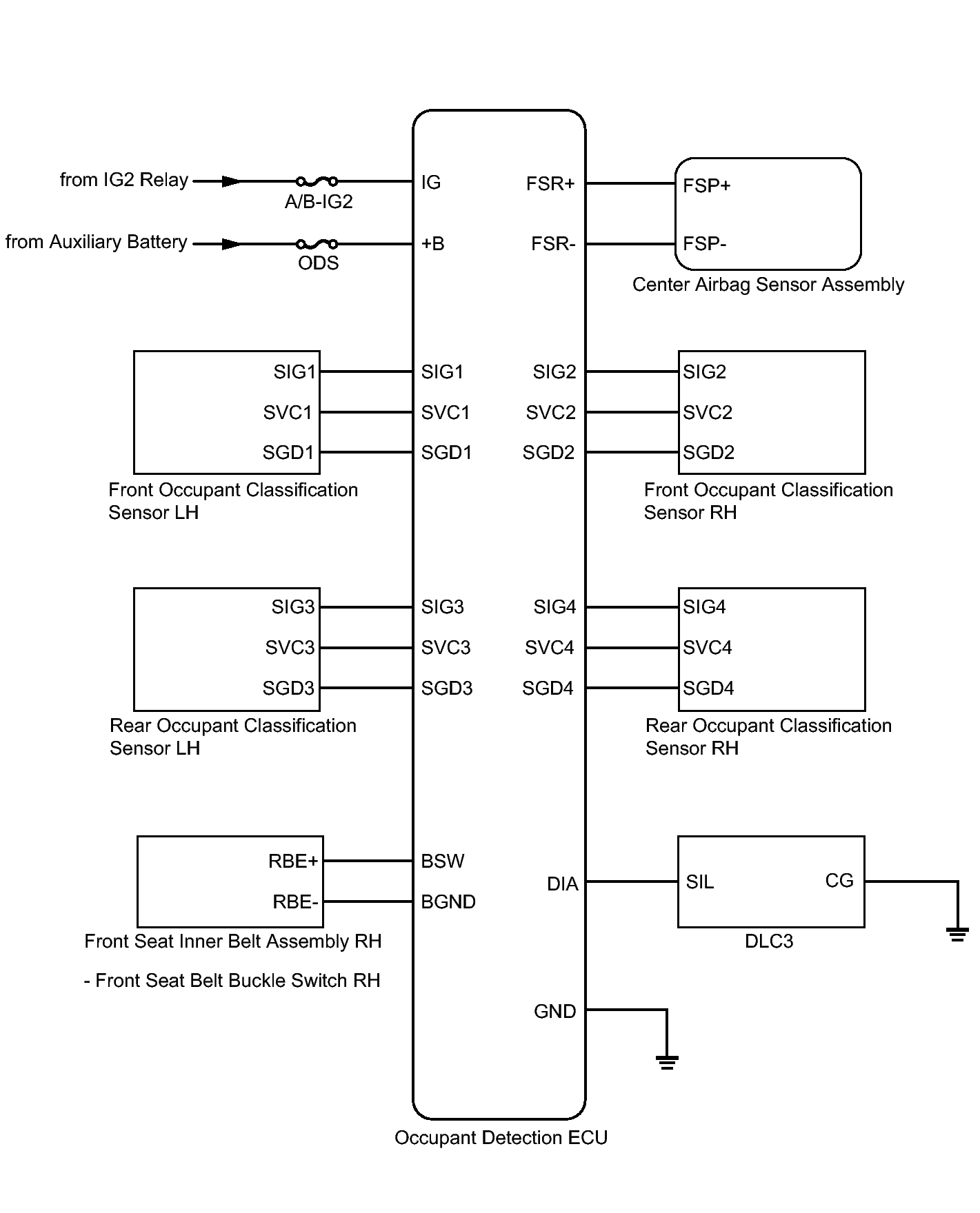
System Diagram

WARNING: This page is about a different car, the 2013 Toyota RAV4. However, it is still accessible from the selected car via links, so may be relevant.
Fig 1: Occupant Classification System Wiring Diagram
GTY373090Courtesy of © TOYOTA, LICENSE AGREEMENT TMS1002