LEMON Manuals: Even more car manuals for everyone: 1960-2025
Home >> Toyota >> 2016 >> RAV4 SE, AWD >> Repair and Diagnosis (Single Page) >> Restraints >> Air Bag, SRS >> Occupant Classification System (Diagnostics - Introduction) (Except Hybrid) >> Occupant Classification System >> System Diagram [12/2012 - ] >> System Diagram [12/2012 - ]
April 5, 2026: LEMON Manuals is launched! Read the announcement.

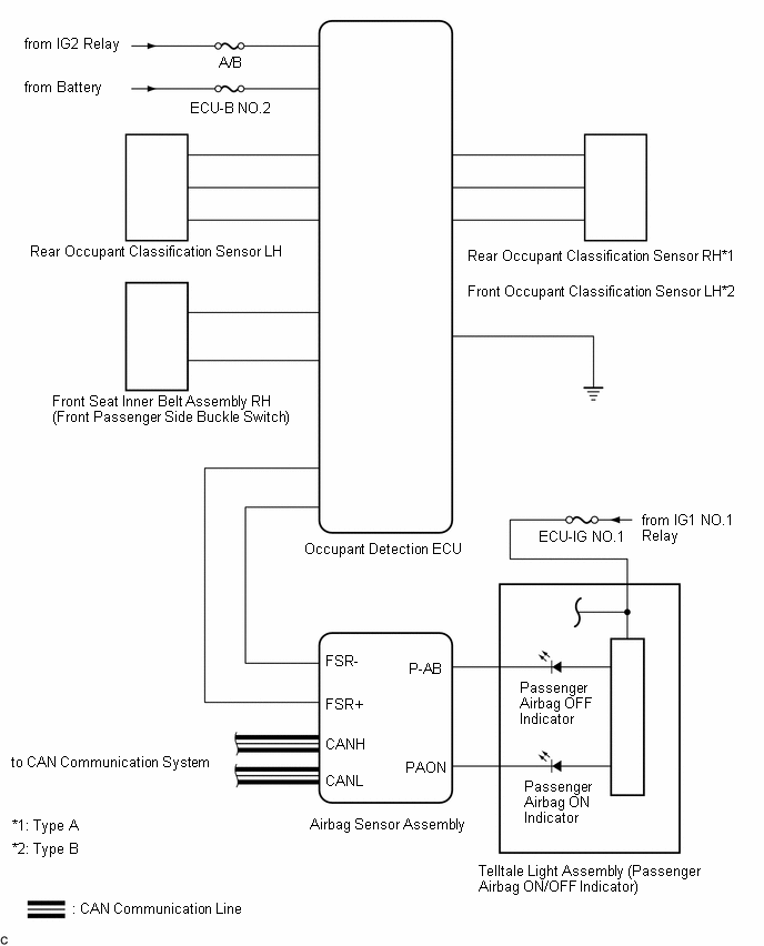
System Diagram [12/2012 - ]

Fig 1: Occupant Classification System Diagram
GTY546245Courtesy of © TOYOTA, LICENSE AGREEMENT TMS1002