LEMON Manuals: Even more car manuals for everyone: 1960-2025
Home >> Toyota >> 2017 >> 4Runner TRD Pro >> Repair and Diagnosis (Single Page) >> Accessories & Equipment >> Infotainment >> Navigation System - Symptom Tests (2 Of 2) & Circuit Tests >> Navigation System >> Microphone Circuit between Microphone and Navigation Receiver Assembly [08/2015 - 08/2019] >> Procedure
April 5, 2026: LEMON Manuals is launched! Read the announcement.

Microphone Circuit between Microphone and Navigation Receiver Assembly [08/2015 - 08/2019]: Procedure

  1. CONFIRM MODEL 
    1. Choose the model to be inspected.

      Result

      Model Proceed to
      w/o Manual (SOS) switch A
      w/ Manual (SOS) switch B

    Result: 

    See step  4

    Result: 

    See step  2

  2. CHECK HARNESS AND CONNECTOR (NAVIGATION RECEIVER ASSEMBLY - MAP LIGHT ASSEMBLY (TELEPHONE MICROPHONE ASSEMBLY)) 
    1. Disconnect the G37 navigation receiver assembly connector.
    2. Disconnect the U2 map light assembly (telephone microphone assembly) connector.
    3. Measure the resistance according to the value(s) in the table below.

      Standard Resistance

      Tester Connection Condition Specified Condition
      G37-4 (MACC) - U2-14 (MACC) Always Below 1 Ω
      G37-5 (MIN+) - U2-13 (MCO+) Always Below 1 Ω
      G37-19 (MIN-) - U2-12 (MCO-) Always Below 1 Ω
      G37-6 (SNS2) - U2-15 (SNS2) Always Below 1 Ω
      G37-4 (MACC) - Body ground Always 10 kΩ or higher
      G37-5 (MIN+) - Body ground Always 10 kΩ or higher
      G37-19 (MIN-) - Body ground Always 10 kΩ or higher
      G37-18 (SGND) - Body ground Always 10 kΩ or higher
      G37-6 (SNS2) - Body ground Always 10 kΩ or higher

    Result: 

    NG 

    REPAIR OR REPLACE HARNESS OR CONNECTOR 

    Result: 

    OK 

    See step  3

  3. INSPECT NAVIGATION RECEIVER ASSEMBLY 
    1. Reconnect the G37 navigation receiver assembly connector.
    2. Reconnect the U2 map light assembly (telephone microphone assembly) connector.
    3. Measure the voltage according to the value(s) in the table below.
      GTY689189Courtesy of © TOYOTA, LICENSE AGREEMENT TMS1002

      Standard Voltage

      Tester Connection Condition Specified Condition
      G37-4 (MACC) - Body ground Ignition switch ACC 4 to 6 V
    4. Measure the resistance according to the value(s) in the table below.

      Standard Resistance

      Tester Connection Condition Specified Condition
      G37-18 (SGND) - Body ground Always Below 1 Ω
      G37-19 (MIN-) - Body ground Always Below 1 Ω
    5. Proceed to the next step based on the inspection result.

      Result

      Result Proceed to
      NG A
      OK B
      TEXT IN ILLUSTRATION

      *a Component with harness connected
      (Navigation Receiver Assembly)

    Result: 

    REPLACE NAVIGATION RECEIVER ASSEMBLY 

    Result: 

    See step  9

  4. CHECK HARNESS AND CONNECTOR (NAVIGATION RECEIVER ASSEMBLY - MAP LIGHT ASSEMBLY (TELEPHONE MICROPHONE ASSEMBLY)) 
    1. Disconnect the G37 navigation receiver assembly connector.
    2. Disconnect the U2 map light assembly (telephone microphone assembly) connector.
    3. Measure the resistance according to the value(s) in the table below.

      Standard Resistance

      Tester Connection Condition Specified Condition
      G37-6 (SNS2) - U2-15 (SNS2) Always Below 1 Ω

    Result: 

    NG 

    REPAIR OR REPLACE HARNESS OR CONNECTOR 

    Result: 

    OK 

    See step  5

  5. CHECK HARNESS AND CONNECTOR (NAVIGATION RECEIVER ASSEMBLY - DCM (TELEMATICS TRANSCEIVER)) 
    1. Disconnect the G37 navigation receiver assembly connector.
    2. Disconnect the F39 DCM (telematics transceiver) connector.
    3. Measure the resistance according to the value(s) in the table below.

      Standard Resistance

      Tester Connection Condition Specified Condition
      G37-5 (MIN+) - F39-18 (MCO+) Always Below 1 Ω
      G37-19 (MIN-) - F39-19 (MCO-) Always Below 1 Ω
      G37-5 (MIN+) - Body ground Always 10 kΩ or higher
      G37-19 (MIN-) - Body ground Always 10 kΩ or higher
      G37-18 (SGND) - Body ground Always 10 kΩ or higher

    Result: 

    NG 

    REPAIR OR REPLACE HARNESS OR CONNECTOR 

    Result: 

    OK 

    See step  6

  6. CHECK HARNESS AND CONNECTOR (DCM (TELEMATICS TRANSCEIVER) - MAP LIGHT ASSEMBLY (TELEPHONE MICROPHONE ASSEMBLY)) 
    1. Disconnect the F39 DCM (telematics transceiver) connector.
    2. Disconnect the U2 map light assembly (telephone microphone assembly) connector.
    3. Measure the resistance according to the value(s) in the table below.

      Standard Resistance

      Tester Connection Condition Specified Condition
      F39-33 (MCVD) - U2-14 (MACC) Always Below 1 Ω
      F39-34 (MCI+) - U2-13 (MCO+) Always Below 1 Ω
      F39-35 (MCI-) - U2-12 (MCO-) Always Below 1 Ω
      F39-33 (MCVD) - Body ground Always 10 kΩ or higher
      F39-34 (MCI+) - Body ground Always 10 kΩ or higher
      F39-35 (MCI-) - Body ground Always 10 kΩ or higher
      F39-32 (SGND) - Body ground Always 10 kΩ or higher

    Result: 

    NG 

    REPAIR OR REPLACE HARNESS OR CONNECTOR 

    Result: 

    OK 

    See step  7

  7. INSPECT NAVIGATION RECEIVER ASSEMBLY 
    1. Disconnect the F39 DCM (telematics transceiver) connector.
    2. Reconnect the G37 navigation receiver assembly connector.
      GTY712234Courtesy of © TOYOTA, LICENSE AGREEMENT TMS1002
    3. Measure the resistance according to the value(s) in the table below.

      Standard Resistance

      Tester Connection Condition Specified Condition
      G37-18 (SGND) - Body ground Always Below 1 Ω
      G37-19 (MIN-) - Body ground Always Below 1 Ω
      TEXT IN ILLUSTRATION

      *a Component with harness connected
      (Navigation Receiver Assembly)

    Result: 

    NG 

    REPLACE NAVIGATION RECEIVER ASSEMBLY 

    (Refer to REMOVAL [08/2015 - 08/2019] )

    Result: 

    OK 

    See step  8

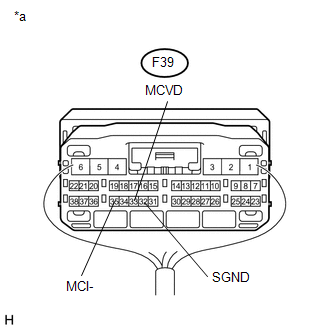
  8. INSPECT DCM (TELEMATICS TRANSCEIVER) 
    1. Reconnect the F39 DCM (telematics transceiver) connector.
    2. Measure the voltage according to the value(s) in the table below.
      GTY722366Courtesy of © TOYOTA, LICENSE AGREEMENT TMS1002

      Standard Voltage

      Tester Connection Condition Specified Condition
      F39-33 (MCVD) - Body ground Ignition switch ACC 4 to 6 V
    3. Measure the resistance according to the value(s) in the table below.

      Standard Resistance

      Tester Connection Condition Specified Condition
      F39-35 (MCI-) - Body ground Always Below 1 Ω
      F39-32 (SGND) - Body ground Always Below 1 Ω
      TEXT IN ILLUSTRATION

      *a Component with harness connected
      (DCM (Telematics Transceiver))

    Result: 

    NG 

    REPLACE DCM (TELEMATICS TRANSCEIVER) 

    (Refer to REMOVAL [08/2015 - 08/2019] )

    Result: 

    OK 

    See step  9

  9. INSPECT MAP LIGHT ASSEMBLY (TELEPHONE MICROPHONE ASSEMBLY) 
    1. Disconnect the U2 map light assembly (telephone microphone assembly) connector.
    2. Measure the resistance according to the value(s) in the table below.
      GTY721219Courtesy of © TOYOTA, LICENSE AGREEMENT TMS1002

      Standard Resistance

      Tester Connection Condition Specified Condition
      U2-15 (SNS2) - U2-12 (MCO-) Always Below 1 Ω
      TEXT IN ILLUSTRATION

      *a Component without harness connected
      (Map Light Assembly (Telephone Microphone Assembly))

    Result: 

    NG 

    REPLACE MAP LIGHT ASSEMBLY (TELEPHONE MICROPHONE ASSEMBLY) 

    (Refer to REMOVAL [08/2015 - ] )

    Result: 

    OK 

    See step  10

  10. INSPECT MAP LIGHT ASSEMBLY (TELEPHONE MICROPHONE ASSEMBLY) 
    1. Reconnect the F39 DCM (telematics transceiver) connector.
    2. Reconnect the U2 map light assembly (telephone microphone assembly) connector.
      GTY730469Courtesy of © TOYOTA, LICENSE AGREEMENT TMS1002
    3. Turn the ignition switch to ACC.
    4. Connect an oscilloscope to terminals 13 (MCO+) and 12 (MCO-) of the map light assembly (telephone microphone assembly) connector.
    5. Check the waveform of the telephone microphone assembly using the oscilloscope.

      Result

      Result Proceed to
      A waveform synchronized with the voice input to the map light assembly (telephone microphone assembly) is output A
      A waveform synchronized with the voice input to the map light assembly (telephone microphone assembly) is not output B
      TEXT IN ILLUSTRATION

      *a Component with harness connected
      (Map Light Assembly (Telephone Microphone Assembly))

    Result: 

    PROCEED TO NEXT SUSPECTED AREA SHOWN IN PROBLEM SYMPTOMS TABLE 

    (Refer to PROBLEM SYMPTOMS TABLE [08/2015 - 08/2019] )

    Result: 

    REPLACE MAP LIGHT ASSEMBLY (TELEPHONE MICROPHONE ASSEMBLY) 

    (Refer to REMOVAL [08/2015 - ] )