LEMON Manuals: Even more car manuals for everyone: 1960-2025
Home >> Toyota >> 2017 >> 86 Base, Automatic Trans >> Repair and Diagnosis (Single Page) >> Restraints >> Air Bag, SRS >> Supplemental Restraint System - Diagnostic Codes (2 Of 2) & Symptom Tests >> Airbag System >> Diagnostic Codes >> DTC B1900: Short in P/T Squib (RH) Circuit; DTC B1901: Open in P/T Squib (RH) Circuit; DTC B1902: Short in P/T Squib (RH) Circuit (to Ground); DTC B1903: Short in P/T Squib (RH) Circuit (to +B) [06/2016 - ] >> Procedure
April 5, 2026: LEMON Manuals is launched! Read the announcement.

DTC B1900: Short in P/T Squib (RH) Circuit; DTC B1901: Open in P/T Squib (RH) Circuit; DTC B1902: Short in P/T Squib (RH) Circuit (to Ground); DTC B1903: Short in P/T Squib (RH) Circuit (to +B) [06/2016 - ]: Procedure

  1. CHECK CONNECTORS 
    1. Turn the ignition switch off.
      GTY554044Courtesy of © TOYOTA, LICENSE AGREEMENT TMS1002
    2. Disconnect the cable from the negative (-) battery terminal.
      WARNING:

      Wait at least 90 seconds after disconnecting the cable from the negative (-) battery terminal to disable the SRS system.

    3. Check that the connectors are properly connected to the front seat outer belt assembly RH and airbag ECU assembly.

      OK

      The connectors are properly connected.

      HINT: 

      If the connectors are not connected securely, reconnect the connectors and proceed to the next inspection.

    4. Disconnect the connectors from the front seat outer belt assembly RH and airbag ECU assembly.
    5. Check that the terminals of the connectors are not damaged.

      OK

      The terminals are not deformed or damaged.

    6. Check that the No. 2 floor wire connector (on the front seat outer belt assembly RH side) is not damaged.

      OK

      The lock button is not disengaged, and the claw of the lock is not deformed or damaged.

    7. Check that the short spring for the No. 2 floor wire with the activation prevention mechanism is not deformed or damaged.

      OK

      The short spring is not deformed or damaged.

      TEXT IN ILLUSTRATION

      *1 Front Seat Outer Belt Assembly RH
      *2 Airbag ECU Assembly
      *3 No. 2 Floor Wire

    Result: 

    NG 

    REPLACE NO. 2 FLOOR WIRE 

    Result: 

    OK 

    See step  2

  2. CHECK FRONT SEAT OUTER BELT ASSEMBLY RH (FRONT PRETENSIONER SQUIB RH) 
    1. Connect the connector to the airbag ECU assembly.
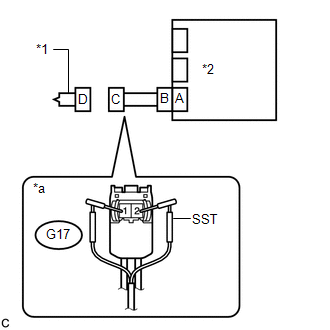
      GTY688315Courtesy of © TOYOTA, LICENSE AGREEMENT TMS1002
    2. Connect SST (resistance 2.1 Ω) to connector C.
      WARNING:

      Never connect the tester to the front seat outer belt assembly RH (front pretensioner squib RH) for measurement, as this may lead to a serious injury due to pretensioner deployment.

      NOTE:
      • Do not forcibly insert SST into the terminals of the connector when connecting it.
      • Insert SST straight into the terminals of the connector.
      • SST: 09843-18061 
    3. Connect the cable to the negative (-) battery terminal.
    4. Clear the DTCs stored in memory (Refer to DTC CHECK / CLEAR [06/2016 - ] ).
    5. Turn the ignition switch off.
    6. Turn the ignition switch to ON, and wait for at least 60 seconds.
    7. Check for DTCs (Refer to DTC CHECK / CLEAR [06/2016 - ] ).

      OK

      DTC B1900, B1901, B1902 or B1903 is not output.

      HINT: 

      Codes other than DTCs B1900, B1901, B1902 and B1903 may be output at this time, but they are not related to this check.

    8. Turn the ignition switch off.
    9. Disconnect the cable from the negative (-) battery terminal.
      WARNING:

      Wait at least 90 seconds after disconnecting the cable from the negative (-) battery terminal to disable the SRS system.

    10. Disconnect SST from connector C.
      TEXT IN ILLUSTRATION

      *1 Front Seat Outer Belt Assembly RH
      *2 Airbag ECU Assembly
      *a Front view of wire harness connector
      (to Front Seat Outer Belt Assembly RH)

    Result: 

    OK 

    REPLACE FRONT SEAT OUTER BELT ASSEMBLY RH 

    (Refer to REMOVAL [06/2016 - ] )

    Result: 

    NG 

    See step  3

  3. CHECK NO. 2 FLOOR WIRE 
    1. Disconnect the No. 2 floor wire from the airbag ECU assembly.
      GTY728633Courtesy of © TOYOTA, LICENSE AGREEMENT TMS1002
    2. Check for a short to B+ in the circuit.
      1. Connect the cable to the negative (-) battery terminal.
      2. Turn the ignition switch to ON.
      3. Measure the voltage according to the value(s) in the table below.

        Standard Voltage

        Tester Connection Condition Specified Condition
        G17-1 - Body ground Ignition switch ON Below 1 V
        G17-2 - Body ground Ignition switch ON Below 1 V
      4. Turn the ignition switch off.
      5. Disconnect the cable from the negative (-) battery terminal.
        WARNING:

        Wait at least 90 seconds after disconnecting the cable from the negative (-) battery terminal to disable the SRS system.

    3. Check for an open in the circuit.
      1. Measure the resistance according to the value(s) in the table below.

        Standard Resistance

        Tester Connection Condition Specified Condition
        G17-1 - G17-2 Always Below 1 Ω
    4. Check for a short to ground in the circuit.
      1. Measure the resistance according to the value(s) in the table below.

        Standard Resistance

        Tester Connection Condition Specified Condition
        G17-1 - Body ground Always 1 MΩ or higher
        G17-2 - Body ground Always 1 MΩ or higher
    5. Check for a short in the circuit.
      1. Release the activation prevention mechanism built into connector B (Refer to DIAGNOSIS SYSTEM [06/2016 - ] ).
      2. Measure the resistance according to the value(s) in the table below.

        Standard Resistance

        Tester Connection Condition Specified Condition
        G17-1 - G17-2 Always 1 MΩ or higher
      3. Restore the released activation prevention mechanism of connector B to the original condition.
        TEXT IN ILLUSTRATION

        *1 Front Seat Outer Belt Assembly RH
        *2 Airbag ECU Assembly
        *3 No. 2 Floor Wire
        *a Front view of wire harness connector
        (to Front Seat Outer Belt Assembly RH)

    Result: 

    NG 

    REPLACE NO. 2 FLOOR WIRE 

    Result: 

    OK 

    See step  4

  4. CHECK DTC 
    1. Connect the connectors to the front seat outer belt assembly RH and airbag ECU assembly.
      GTY553739Courtesy of © TOYOTA, LICENSE AGREEMENT TMS1002
    2. Connect the cable to the negative (-) battery terminal.
    3. Clear the DTCs stored in memory (Refer to DTC CHECK / CLEAR [06/2016 - ] ).
    4. Turn the ignition switch off.
    5. Turn the ignition switch to ON, and wait for at least 60 seconds.
    6. Check for DTCs (Refer to DTC CHECK / CLEAR [06/2016 - ] ).

      OK

      DTC B1900, B1901, B1902 or B1903 is not output.

      HINT: 

      Codes other than DTCs B1900, B1901, B1902 and B1903 may be output at this time, but they are not related to this check.

      TEXT IN ILLUSTRATION

      *1 Front Seat Outer Belt Assembly RH
      *2 Airbag ECU Assembly

    Result: 

    OK 

    USE SIMULATION METHOD TO CHECK 

    (Refer to HOW TO PROCEED WITH TROUBLESHOOTING [06/2016 - 03/2017] Refer to HOW TO PROCEED WITH TROUBLESHOOTING [03/2017 - ] )

    Result: 

    NG 

    REPLACE AIRBAG ECU ASSEMBLY 

    (Refer to REMOVAL [06/2016 - 03/2017] Refer to REMOVAL [03/2017 - ] )