LEMON Manuals: Even more car manuals for everyone: 1960-2025
Home >> Toyota >> 2017 >> Corolla LE >> Repair and Diagnosis (Single Page) >> Transmission >> Automatic Trans >> Continuously Variable Transaxle - Diagnostic Codes (1 Of 3) (Model Code: ZRE172) >> Continuously Variable Transaxle System >> DTC P0720, P0722; Output Speed Sensor Circuit [08/2013 - 08/2016] >> Procedure
April 5, 2026: LEMON Manuals is launched! Read the announcement.

DTC P0720, P0722; Output Speed Sensor Circuit [08/2013 - 08/2016]: Procedure

  1. READ VALUE USING TECHSTREAM (SPD (NOUT) AND NOUT SENSOR VOLTAGE) 
    1. Connect the Techstream to the DLC3.
    2. Turn the ignition switch to ON.
    3. Turn the Techstream on.
    4. Enter the following menus: Powertrain / Engine and ECT / Data List / Primary.
    5. In accordance with the display on the Techstream, read the Data List.

      Powertrain > Engine and ECT > Data List 

      Tester Display Measurement Item Range Normal Condition Diagnostic Note
      SPD (NOUT) Secondary pulley speed (NOUT) min.: 0 rpm
      max.: 12750 rpm
      • 0 rpm: Vehicle stopped
      • Approximately 2500 rpm: Vehicle cruising at approximately 60 km/h (37 mph)
      Data is displayed in increments of 50 rpm.
      NOUT Sensor Voltage Secondary pulley speed (NOUT) sensor output voltage min.: 0.000 V
      max.: 4.999 V
      0.1 to 1.9 V: Engine idling (Vehicle stopped with shift lever in P or N) -

      Powertrain > Engine and ECT > Data List 

      Tester Display
      SPD (NOUT)
      NOUT Sensor Voltage

      Result

      Result Proceed to
      Data display is not within Normal Condition range A
      Data display is within Normal Condition range B

    Result:  2

    See step  6

    Result:  1

    See step  2

  2. INSPECT TRANSMISSION REVOLUTION SENSOR (NOUT) 
    1. Remove the transmission revolution sensor (NOUT).

      Refer to REMOVAL [08/2013 - ]

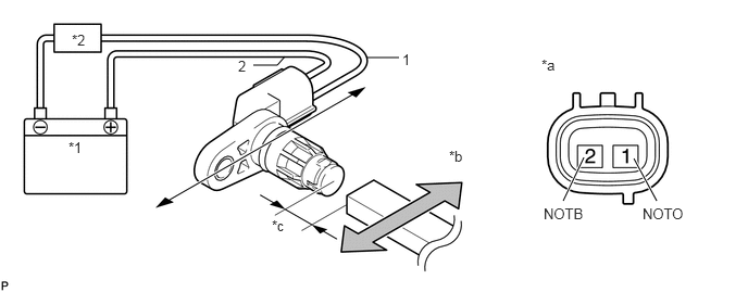
    2. Connect the battery to the sensor as shown in the illustration.
      GTY449319Courtesy of © TOYOTA, LICENSE AGREEMENT TMS1002
      *1 Battery *2 Ammeter
      *a Component without harness connected
      (Transmission Revolution Sensor (NOUT))
      *b Magnet
      *c 5 mm or less - -
    3. Wave a magnetic object left and right in front of the transmission revolution sensor (NOUT) tip (5 mm (0.197 in.) or less) to change the high/low signals while measuring the current.
      NOTE:

      Make sure to wave the magnetic object during the inspection. The current will not change without waving the magnetic object as indicated by the arrow in the illustration.

    4. Measure the current according to the value(s) in the table below.

      Standard Current

      Tester Connection Condition Specified Condition
      1 (NOTO) - 2 (NOTB) Low signal 4 to 8 mA
      1 (NOTO) - 2 (NOTB) High signal 12 to 16 mA

      Result

      Proceed to
      OK
      NG

    Result:  2

    NG 

    REPLACE TRANSMISSION REVOLUTION SENSOR (NOUT). Refer to  COMPONENTS [08/2013 - ] 

    Result:  1

    OK 

    See step  3

  3. CHECK HARNESS AND CONNECTOR (TRANSMISSION REVOLUTION SENSOR (NOUT) - ECM) 
    1. Disconnect the B31 transmission revolution sensor (NOUT) connector.
    2. Disconnect the B33 ECM connector.
    3. Measure the resistance according to the value(s) in the table below.

      Standard Resistance

      Tester Connection Condition Specified Condition
      B31-1 (NOTO) - B33-129 (NOTO) Always Below 1 Ω
      B31-2 (NOTB) - B33-130 (NOTB) Always Below 1 Ω
      B31-1 (NOTO) or B33-129 (NOTO) - Body ground and other terminals Always 10 kΩ or higher
      B31-2 (NOTB) or B33-130 (NOTB) - Body ground and other terminals Always 10 kΩ or higher
    4. Connect the B33 ECM connector.
    5. Connect the B31 transmission revolution sensor (NOUT) connector.

      Result

      Proceed to
      OK
      NG

    Result:  2

    NG 

    REPAIR OR REPLACE HARNESS OR CONNECTOR (TRANSMISSION REVOLUTION SENSOR (NOUT) - ECM) 

    Result:  1

    OK 

    See step  4

  4. REPLACE ECM 
    1. Replace the ECM.

      Result

      Proceed to
      NEXT

    Result:  1

    NEXT 

    See step  5

  5. PERFORM INITIALIZATION 
    NOTE:
    • Performing Reset Memory will clear the learned value of the yaw rate and acceleration sensor (deceleration sensor zero point calibration) and the CVT oil pressure (CVT oil pressure calibration). Make sure to perform Reset Memory, yaw rate and acceleration sensor zero point calibration, and CVT oil pressure calibration when replacing any of the parts shown in the following table:
      Replaced Part
      • Continuously variable transaxle assembly
      • ECM
      • Oil pressure sensor
      • Airbag sensor assembly (Yaw rate and acceleration sensor)
    • After performing Reset Memory, always perform yaw rate and acceleration sensor (deceleration sensor zero point) calibration first, and then CVT oil pressure calibration.
    • Always perform calibration with the vehicle on level ground.
    • Do not shake or vibrate the vehicle during calibration.
    1. Using the Techstream, perform Reset Memory, deceleration sensor zero point calibration and CVT oil pressure calibration.

      Refer to INITIALIZATION [08/2013 - 08/2016]

    2. Check for DTCs again.

      Refer to DTC CHECK / CLEAR [08/2013 - ]

      Result

      Proceed to
      NEXT

    Result:  1

    NEXT 

    END 

  6. REPLACE ECM 
    1. Replace the ECM.

      Result

      Proceed to
      NEXT

    Result:  1

    NEXT 

    See step  7

  7. PERFORM INITIALIZATION 
    NOTE:
    • Performing Reset Memory will clear the learned value of the yaw rate and acceleration sensor (deceleration sensor zero point calibration) and the CVT oil pressure (CVT oil pressure calibration). Make sure to perform Reset Memory, yaw rate and acceleration sensor zero point calibration, and CVT oil pressure calibration when replacing any of the parts shown in the following table:
      Replaced Part
      • Continuously variable transaxle assembly
      • ECM
      • Oil pressure sensor
      • Airbag sensor assembly (Yaw rate and acceleration sensor)
    • After performing Reset Memory, always perform yaw rate and acceleration sensor (deceleration sensor zero point) calibration first, and then CVT oil pressure calibration.
    • Always perform calibration with the vehicle on level ground.
    • Do not shake or vibrate the vehicle during calibration.
    1. Using the Techstream, perform Reset Memory, deceleration sensor zero point calibration and CVT oil pressure calibration.

      Refer to INITIALIZATION [08/2013 - 08/2016]

    2. Check for DTCs again.

      Refer to DTC CHECK / CLEAR [08/2013 - ]

      Result

      Proceed to
      NEXT

    Result:  1

    NEXT 

    END