LEMON Manuals: Even more car manuals for everyone: 1960-2025
Home >> Toyota >> 2017 >> Corolla SE, Automatic CVT Trans >> Repair and Diagnosis >> Steering >> Steering Column >> Steering Lock System - Diagnostics - Introduction (Model Code: ZRE172) >> Steering Lock System >> Terminals Of Ecu [08/2016 - ] >> Terminals Of Ecu [08/2016 - ]
April 5, 2026: LEMON Manuals is launched! Read the announcement.

Terminals Of Ecu [08/2016 - ]

  1. TERMINAL INSPECTION 
    Fig 1: Terminal Inspection Connector End Views
    GTY438317Courtesy of © TOYOTA, LICENSE AGREEMENT TMS1002
    *a Component without harness connected
    (Steering Lock ECU (Steering Lock Actuator Assembly))
    - -
    1. Measure the voltage and resistance according to the value(s) in the table below.
      Terminal No. (Symbol) Input/Output Wiring Color Terminal Description Condition Specified Condition Related Data List Item
      E61-1 (GND) - Body ground - W-B - Body ground Ground* Always Below 1 Ω -
      E61-3 (IGE) - E61-1 (GND) Input P - W-B Steering lock motor activation command signal (motor activation command signal sent from certification ECU (smart key ECU assembly)) Any door opened when conditions below met, and then steering lock motor activated:
      • Shift lever in P (for CVT)
      • Steering lock unlocked in advance by carrying key and turning engine switch on (IG)
      • After above conditions met, engine switch turned off
      Pulse generation (see waveform) Smart Key 
      • Power Supply Short
      • Unlock Request Receive
      • Lock Request Receive
      E61-4 (SLP1) - E61-1 (GND) Output G - W-B Steering lock bar position signal (output signal from steering unlock sensor) Steering locked → unlocked 11 to 14 V → Below 1.2 V Smart Key 
      • Sensor Value
      • Push Start Error
      E61-5 (LIN) - E61-1 (GND) Input/Output V - W-B LIN communication line - - Smart Key 
      • Steering Lock Start Cond
      E61-6 (IG2) - E61-1 (GND) Input LG - W-B Power source mode signal (IG2 power supply input for entire steering lock actuator assembly)* Engine switch off → engine switch on (IG) Below 1 V → 11 to 14 V Smart Key 
      • Ignition Switch
      E61-7 (B) - Body ground Input L - Body ground Power source* Always 11 to 14 V -
      • *: When there is a problem with the power source input, the certification ECU (smart key ECU assembly) may store DTC B2786.
      NOTE:

      There is 1 motor and 2 sensors built into the steering lock actuator assembly.

      HINT: 

      • When taking measurements when the lock motor is stopped, it is not necessary to perform any operations.
      • In order to take measurements when the lock motor is operating, perform either of the following operations:
        • To unlock the steering, carry the key and turn the engine switch on (ACC) or on (IG) with the shift lever in P (for CVT).
        • To lock the steering, turn the engine switch off with the shift lever in P (for CVT), and then open a door.
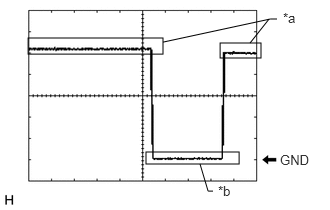
      1. Waveform
        GTY446298Courtesy of © TOYOTA, LICENSE AGREEMENT TMS1002
        *a Steering Lock Motor not Operating
        *b Steering Lock Motor Operating
        Item Content
        Tester Connection E61-3 (IGE) - E61-1 (GND)
        Tool Setting 2 V/DIV., 200 ms./DIV.
        Vehicle Condition Steering lock motor not operating → Operating → Not operating