LEMON Manuals: Even more car manuals for everyone: 1960-2025
Home >> Toyota >> 2017 >> Highlander LE Plus, AWD >> Repair and Diagnosis >> External Pages >> Different variant/trim >> Section 249 (Smart Key System (Entry Function) - Symptom Tests - (Hybrid)) >> SMART KEY SYSTEM (for Entry Function) >> Symptom Tests >> Room Oscillator does not Recognize Key [11/2016 - ] >> Procedure
April 5, 2026: LEMON Manuals is launched! Read the announcement.

Room Oscillator does not Recognize Key [11/2016 - ]: Procedure

WARNING: This page is about a different variant/trim than selected.
  1. CHECK START OPERATION 
    1. Using another registered electrical key transmitter sub-assembly, check that the hybrid control system starts.

      Result

      Result Proceed to
      Hybrid control system can be started A
      Hybrid control system cannot be started B

    Result: 

    END (ELECTRICAL KEY TRANSMITTER SUB-ASSEMBLY WAS DEFECTIVE) 

    Result: 

    See step  2

  2. CHECK ENTRY LOCK OPERATION 
    1. Check that the entry lock and unlock functions operate on each door.

      HINT: 

      If the electrical key and tire pressure monitoring system receiver assembly is defective, code verification does not begin in the cabin and the entry lock and unlock functions do not operate.

      Result

      Result Proceed to
      All door entry functions operate normally A
      All door entry functions does not operate normally B

    Result: 

    GO TO OTHER PROBLEM. Refer to  PROBLEM SYMPTOMS TABLE [02/2014 - ] 

    Result: 

    See step  3

  3. CHECK PUSH-BUTTON START FUNCTION 
    1. Remove the transmitter battery of the electrical key transmitter sub-assembly.

      Refer to REPLACEMENT [02/2014 - ]

      GTY430651Courtesy of © TOYOTA, LICENSE AGREEMENT TMS1002
      *1 Power Switch
      *2 Electrical Key Transmitter Sub-assembly
    2. With the brake pedal depressed, face the logo side of the electrical key transmitter sub-assembly towards the power switch, hold the transmitter near the power switch and then press the power switch.
    3. When operating the power switch, check whether the hybrid control system starts.

      HINT: 

      • When the electrical key transmitter sub-assembly cannot be verified even though it is inside the detection area, the hybrid control system start check can be performed by removing the transmitter battery from the electrical key transmitter sub-assembly and holding the electrical key transmitter sub-assembly near the power switch.
      • If the hybrid control system cannot be started when performing this inspection, the certification ECU (smart key ECU assembly) or steering lock ECU (steering lock actuator assembly) may be malfunctioning.

      OK

      Hybrid control system starts.

      Result

      Proceed to
      OK
      NG

      Refer to REPLACEMENT [02/2014 - ]

    Result: 

    NG 

    GO TO SMART KEY SYSTEM (FOR START FUNCTION). Refer to  HOW TO PROCEED WITH TROUBLESHOOTING [02/2014 - ] 

    Result: 

    OK 

    See step  4

  4. CHECK WAVE ENVIRONMENT 
    1. Install the transmitter battery to the electrical key transmitter sub-assembly.

      Refer to REPLACEMENT [02/2014 - ]

    2. Bring the electrical key transmitter sub-assembly near the No. 1 indoor electrical key antenna assembly (front floor) and perform a smart key system check.

      Refer to OPERATION CHECK [11/2016 - ]

      NOTE:

      Communication may not be possible if the electrical key transmitter sub-assembly is within 0.2 m (0.656 ft.) of the No. 1 indoor electrical key antenna assembly (front floor).

    3. Bring the electrical key transmitter sub-assembly near the No. 2 indoor electrical key antenna assembly (rear floor) and perform a smart key system check.

      Refer to OPERATION CHECK [11/2016 - ]

      HINT: 

      Check that the customize status of the "Ignition Available Area" has been "All".

      NOTE:

      Communication may not be possible if the electrical key transmitter sub-assembly is within 0.2 m (0.656 ft.) of the center of the No. 2 indoor electrical key antenna assembly (rear floor).

    4. Bring the electrical key transmitter sub-assembly near the No. 3 indoor electrical key antenna assembly (inside luggage compartment) and perform a smart key system check.

      Refer to OPERATION CHECK [11/2016 - ]

      HINT: 

      Check that the customize status of the "Ignition Available Area" has been "All".

      NOTE:

      Communication may not be possible if the electrical key transmitter sub-assembly is within 0.2 m (0.656 ft.) of the center of the No. 3 indoor electrical key antenna assembly (inside luggage compartment).

      HINT: 

      • As the effect of wave interference decreases by moving the electrical key transmitter sub-assembly close to each indoor electrical key antenna assembly, it may be possible to check whether wave interference is the cause of the problem.
      • If the inspection result is that the problem only occurs in certain locations or at certain times of day, the possibility of wave interference is high. Also, added vehicle components may cause wave interference. If installed, remove them and perform the operation check.
      • There may be wave interference if the vehicle is near broadcasting antennas, large video displays, wireless garage door opener systems, wireless security cameras, home security systems, etc. In this case, move the vehicle to a different location and check if there is any improvement.
      • If a tool for checking radio waves, such as a signal strength meter, is available, move around the area while observing both the LF band (used by the vehicle antenna to form the detection area) and RF band (used by the electrical key transmitter sub-assembly for transmission) to check for locations where there is wave interference.

      OK

      The hybrid control system starts when the electrical key transmitter sub-assembly is held near each indoor electrical key antenna assembly and the power switch is pressed.

      Result

      Proceed to
      OK
      NG

    Result: 

    OK 

    AFFECTED BY WAVE INTERFERENCE 

    Result: 

    NG 

    See step  5

  5. CHECK FOR DTC 
    1. Check for DTCs.

      Body Electrical > Smart Key > Trouble Codes 

      OK

      DTCs are not output.

      Result

      Proceed to
      OK
      NG

    Result: 

    NG 

    GO TO DIAGNOSTIC TROUBLE CODE CHART. Refer to  DIAGNOSTIC TROUBLE CODE CHART [11/2016 - ] 

    Result: 

    OK 

    See step  6

  6. CHECK KEY DIAGNOSTIC MODE 
    1. Check the following antennas in key diagnostic mode.

      Body Electrical > Smart Key > Utility 

      Tester Display
      Communication Check(Key Diag Mode)
    2. Select either channel 1 or channel 2 and inspect key diagnostic mode for each channel.
      1. Check the No. 1 indoor electrical key antenna assembly (front floor).
        GTY442737Courtesy of © TOYOTA, LICENSE AGREEMENT TMS1002
        *a Inspection Point

        When the electrical key transmitter sub-assembly is at either inspection point, check that the wireless buzzer sounds.

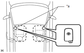
      2. Check the No. 2 indoor electrical key antenna assembly (rear floor).
        GTY433002Courtesy of © TOYOTA, LICENSE AGREEMENT TMS1002
        *a Inspection Point

        When the electrical key transmitter sub-assembly is at either inspection point, check that the wireless buzzer sounds.

      3. Check the No. 3 indoor electrical key antenna assembly (inside luggage compartment).
        GTY424020Courtesy of © TOYOTA, LICENSE AGREEMENT TMS1002
        *a Inspection Point

        When the electrical key transmitter sub-assembly is at either inspection point, check that the wireless buzzer sounds.

        HINT: 

        • Select either channel 1 or channel 2 and inspect key diagnostic mode for each channel.
        • If the buzzer sounds with [CH1] displayed but not with [CH2], the electrical key transmitter sub-assembly cannot be detected by channel 2 due to a malfunction, such as wave interference.
        • It is possible to check which indoor electrical key antenna assembly (front floor, rear floor or inside luggage compartment) is operating by the sounding of the buzzer.
        • When the wireless buzzer sounds for all indoor electrical key antenna assemblies, they can be judged as operating properly and a malfunction in the certification ECU (smart key ECU assembly), which performs verification, is suspected.
        • When the wireless buzzer does not sound for all indoor electrical key antenna assemblies, it can be judged that the certification ECU (smart key ECU assembly), which controls the indoor electrical key antenna assemblies, is malfunctioning.

      Result

      Result Proceed to
      The wireless buzzer sounds/does not sound for all indoor electrical key antenna assemblies A
      The wireless buzzer does not sound for only the No. 1 indoor electrical key antenna assembly (front floor) B
      The wireless buzzer does not sound for only the No. 2 indoor electrical key antenna assembly (rear floor) C
      The wireless buzzer does not sound for only the No. 3 indoor electrical key antenna assembly (inside luggage compartment) D

    Result: 

    REPLACE CERTIFICATION ECU (SMART KEY ECU ASSEMBLY). Refer to  REMOVAL [11/2016 - ] 

    Result: 

    See step  11

    Result: 

    See step  15

    Result: 

    See step  7

  7. CHECK HARNESS AND CONNECTOR (CERTIFICATION ECU (SMART KEY ECU ASSEMBLY) - NO. 1 INDOOR ELECTRICAL KEY ANTENNA ASSEMBLY (FRONT FLOOR)) 
    1. Disconnect the F123 certification ECU (smart key ECU assembly) connector.
    2. Disconnect the F39 No. 1 indoor electrical key antenna assembly (front floor) connector.
    3. Measure the resistance according to the value(s) in the table below.

      Standard Resistance

      Tester Connection Condition Specified Condition
      F123-21 (CLG5) - F39-1 (ANTE5) Always Below 1 Ω
      F123-20 (CG5B) - F39-3 (CLGB) Always Below 1 Ω
      F123-21 (CLG5) or F39-1 (ANTE5) - Body ground Always 10 kΩ or higher
      F123-20 (CG5B) or F39-3 (CLGB) - Body ground Always 10 kΩ or higher
    4. Reconnect the F123 certification ECU (smart key ECU assembly) connector.

      Result

      Proceed to
      OK
      NG

    Result: 

    NG 

    REPAIR OR REPLACE HARNESS OR CONNECTOR 

    Result: 

    OK 

    See step  8

  8. INSPECT CERTIFICATION ECU (SMART KEY ECU ASSEMBLY) (OUTPUT TO NO. 1 INDOOR ELECTRICAL KEY ANTENNA ASSEMBLY (FRONT FLOOR)) 
    1. Using an oscilloscope, check the waveform.
      GTY433845Courtesy of © TOYOTA, LICENSE AGREEMENT TMS1002
      *a Front view of wire harness connector
      (to No. 1 Indoor Electrical Key Antenna Assembly (Front Floor))
      *b Waveform 1
      *c For 30 seconds after closing any door using the door outside handle
      *d 30 seconds or more have elapsed after closing any door using the door outside handle

      OK

      Tester Connection Condition Tool Setting Specified Condition
      F39-1 (ANTE5) - F39-3 (CLGB) Procedure:
      1. Power switch off
      2. Electrical key transmitter sub-assembly not inside vehicle
      3. Within 30 seconds of closing any door using the door outside handle
      2 V/DIV., 500 ms/DIV. Pulse generation
      (See waveform 1)

      Result

      Proceed to
      OK
      NG

    Result: 

    NG 

    REPLACE CERTIFICATION ECU (SMART KEY ECU ASSEMBLY). Refer to  REMOVAL [11/2016 - ] 

    Result: 

    OK 

    See step  9

  9. REPLACE NO. 1 INDOOR ELECTRICAL KEY ANTENNA ASSEMBLY (FRONT FLOOR) 
    1. Temporarily replace the No. 1 indoor electrical key antenna assembly (front floor) with a new one.

      Refer to REMOVAL [02/2014 - ]

    NEXT 

  10. CHECK KEY DIAGNOSTIC MODE 
    1. Check the following antenna in key diagnostic mode.

      Body Electrical > Smart Key > Utility 

      Tester Display
      Communication Check(Key Diag Mode)
    2. Select either channel 1 or channel 2 and inspect key diagnostic mode for each channel.
      1. Check the No. 1 indoor electrical key antenna assembly (front floor).
        GTY442737Courtesy of © TOYOTA, LICENSE AGREEMENT TMS1002
        *a Inspection Point

        When the electrical key transmitter sub-assembly is at either inspection point, check that the wireless buzzer sounds.

        HINT: 

        • Select either channel 1 or channel 2 and inspect key diagnostic mode for each channel.
        • If the buzzer sounds with [CH1] displayed but not with [CH2], the electrical key transmitter sub-assembly cannot be detected by channel 2 due to a malfunction, such as wave interference.

        OK

        Wireless buzzer sounds.

      Result

      Proceed to
      OK
      NG

    Result: 

    OK 

    END (NO. 1 INDOOR ELECTRICAL KEY ANTENNA ASSEMBLY (FRONT FLOOR) WAS DEFECTIVE) 

    Result: 

    NG 

    REPLACE CERTIFICATION ECU (SMART KEY ECU ASSEMBLY). Refer to  REMOVAL [11/2016 - ] 

  11. CHECK HARNESS AND CONNECTOR (CERTIFICATION ECU (SMART KEY ECU ASSEMBLY) - NO. 2 INDOOR ELECTRICAL KEY ANTENNA ASSEMBLY (REAR FLOOR)) 
    1. Disconnect the F11 certification ECU (smart key ECU assembly) connector.
    2. Disconnect the V4 No. 2 indoor electrical key antenna assembly (rear floor) connector.
    3. Measure the resistance according to the value(s) in the table below.

      Standard Resistance

      Tester Connection Condition Specified Condition
      F11-15 (CLG6) - V4-1 (ANTE6) Always Below 1 Ω
      F11-14 (CG6B) - V4-3 (CLGB) Always Below 1 Ω
      F11-15 (CLG6) or V4-1 (ANTE6) - Body ground Always 10 kΩ or higher
      F11-14 (CG6B) or V4-3 (CLGB) - Body ground Always 10 kΩ or higher
    4. Reconnect the F11 certification ECU (smart key ECU assembly) connector.

      Result

      Proceed to
      OK
      NG

    Result: 

    NG 

    REPAIR OR REPLACE HARNESS OR CONNECTOR 

    Result: 

    OK 

    See step  12

  12. INSPECT CERTIFICATION ECU (SMART KEY ECU ASSEMBLY) (OUTPUT TO NO. 2 INDOOR ELECTRICAL KEY ANTENNA ASSEMBLY (REAR FLOOR)) 
    1. Using an oscilloscope, check the waveform.

      OK

      Tester Connection Condition Tool Setting Specified Condition
      V4-1 (ANTE6) - V4-3 (CLGB) Procedure:
      1. Power switch off
      2. Electrical key transmitter sub-assembly not inside vehicle
      3. Within 30 seconds of closing any door using the door outside handle
      2 V/DIV., 500 ms/DIV. Pulse generation
      (See waveform 1)
      GTY452588Courtesy of © TOYOTA, LICENSE AGREEMENT TMS1002
      *a Front view of wire harness connector
      (to No. 2 Indoor Electrical Key Antenna Assembly (Rear Floor))
      *b Waveform 1
      *c For 30 seconds after closing any door using the door outside handle
      *d 30 seconds or more have elapsed after closing any door using the door outside handle

      Result

      Proceed to
      OK
      NG

    Result: 

    NG 

    REPLACE CERTIFICATION ECU (SMART KEY ECU ASSEMBLY). Refer to  REMOVAL [11/2016 - ] 

    Result: 

    OK 

    See step  13

  13. REPLACE NO. 2 INDOOR ELECTRICAL KEY ANTENNA ASSEMBLY (REAR FLOOR) 
    1. Temporarily replace the No. 2 indoor electrical key antenna assembly (rear floor) with a new one.

      Refer to REMOVAL [02/2014 - ]

    NEXT 

  14. CHECK KEY DIAGNOSTIC MODE 
    1. Check the following antenna in key diagnostic mode.

      Body Electrical > Smart Key > Utility 

      Tester Display
      Communication Check(Key Diag Mode)
    2. Select either channel 1 or channel 2 and inspect the diagnostic mode for each channel.
      1. Check the No. 2 indoor electrical key antenna assembly (rear floor).
        GTY433002Courtesy of © TOYOTA, LICENSE AGREEMENT TMS1002
        *a Inspection Point

        When the electrical key transmitter sub-assembly is at either inspection point, check that the wireless buzzer sounds.

        HINT: 

        • Select either channel 1 or channel 2 and inspect key diagnostic mode for each channel.
        • If the buzzer sounds with [CH1] displayed but not with [CH2], the electrical key transmitter sub-assembly cannot be detected by channel 2 due to a malfunction, such as wave interference.

        OK

        Wireless buzzer sounds.

      Result

      Proceed to
      OK
      NG

    Result: 

    OK 

    END (NO. 2 INDOOR ELECTRICAL KEY ANTENNA ASSEMBLY (REAR FLOOR) WAS DEFECTIVE) 

    Result: 

    NG 

    REPLACE CERTIFICATION ECU (SMART KEY ECU ASSEMBLY). Refer to  REMOVAL [11/2016 - ] 

  15. CHECK HARNESS AND CONNECTOR (CERTIFICATION ECU (SMART KEY ECU ASSEMBLY) - NO. 3 INDOOR ELECTRICAL KEY ANTENNA ASSEMBLY (INSIDE LUGGAGE COMPARTMENT)) 
    1. Disconnect the F11 certification ECU (smart key ECU assembly) connector.
    2. Disconnect the O1 No. 3 indoor electrical key antenna assembly (inside luggage compartment) connector.
    3. Measure the resistance according to the value(s) in the table below.

      Standard Resistance

      Tester Connection Condition Specified Condition
      F11-4 (CLG7) - O1-1 (ANTE7) Always Below 1 Ω
      F11-3 (CG7B) - O1-3 (CLGB) Always Below 1 Ω
      F11-4 (CLG7) or O1-1 (ANTE7) - Body ground Always 10 kΩ or higher
      F11-3 (CG7B) or O1-3 (CLGB) - Body ground Always 10 kΩ or higher
    4. Reconnect the F11 certification ECU (smart key ECU assembly) connector.

      Result

      Proceed to
      OK
      NG

    Result: 

    NG 

    REPAIR OR REPLACE HARNESS OR CONNECTOR 

    Result: 

    OK 

    See step  16

  16. INSPECT CERTIFICATION ECU (SMART KEY ECU ASSEMBLY) (OUTPUT TO NO. 3 INDOOR ELECTRICAL KEY ANTENNA ASSEMBLY (INSIDE LUGGAGE COMPARTMENT)) 
    1. Using an oscilloscope, check the waveform.

      OK

      Tester Connection Condition Tool Setting Specified Condition
      O1-1 (ANTE7) - O1-3 (CLGB) Procedure:
      1. Power switch off
      2. Electrical key transmitter sub-assembly not inside vehicle
      3. Within 30 seconds of closing any door using the door outside handle
      2 V/DIV., 500 ms/DIV. Pulse generation
      (See waveform 1)
      GTY452589Courtesy of © TOYOTA, LICENSE AGREEMENT TMS1002
      *a Front view of wire harness connector
      (to No. 3 Indoor Electrical Key Antenna Assembly (Inside Luggage Compartment))
      *b Waveform 1
      *c For 30 seconds after closing any door using the door outside handle
      *d 30 seconds or more have elapsed after closing any door using the door outside handle

      Result

      Proceed to
      OK
      NG

    Result: 

    NG 

    REPLACE CERTIFICATION ECU (SMART KEY ECU ASSEMBLY). Refer to  REMOVAL [11/2016 - ] 

    Result: 

    OK 

    See step  17

  17. REPLACE NO. 3 INDOOR ELECTRICAL KEY ANTENNA ASSEMBLY (INSIDE LUGGAGE COMPARTMENT) 
    1. Temporarily replace the No. 3 indoor electrical key antenna assembly (inside luggage compartment) with a new one.

      Refer to REMOVAL [02/2014 - ]

    NEXT 

  18. CHECK KEY DIAGNOSTIC MODE 
    1. Check the following antenna in key diagnostic mode.

      Body Electrical > Smart Key > Utility 

      Tester Display
      Communication Check(Key Diag Mode)
    2. Select either channel 1 or channel 2 and inspect the diagnostic mode for each channel.
      1. Check the No. 3 indoor electrical key antenna assembly (inside luggage compartment).

        When the electrical key transmitter sub-assembly is at either inspection point, check that the wireless buzzer sounds.

        HINT: 

        • Select either channel 1 or channel 2 and inspect key diagnostic mode for each channel.
        • If the buzzer sounds with [CH1] displayed but not with [CH2], the electrical key transmitter sub-assembly cannot be detected by channel 2 due to a malfunction, such as wave interference.

        OK

        Wireless buzzer sounds.

        GTY424020Courtesy of © TOYOTA, LICENSE AGREEMENT TMS1002
        *a Inspection Point

      Result

      Proceed to
      OK
      NG

    Result: 

    OK 

    END (NO. 3 INDOOR ELECTRICAL KEY ANTENNA ASSEMBLY (INSIDE LUGGAGE COMPARTMENT) WAS DEFECTIVE) 

    Result: 

    NG 

    REPLACE CERTIFICATION ECU (SMART KEY ECU ASSEMBLY). Refer to  REMOVAL [11/2016 - ]