LEMON Manuals: Even more car manuals for everyone: 1960-2025
Home >> Toyota >> 2017 >> Prius C Two >> Repair and Diagnosis (Single Page) >> Hybrid/Electric Powertrain >> Battery Management Systems >> Hybrid Battery Control System (Service Information) >> Power Module Intelligent Transistor >> Reassembly [11/2015 - ] >> Procedure
April 5, 2026: LEMON Manuals is launched! Read the announcement.

Reassembly [11/2015 - ]: Procedure

  1. REMOVE THERMAL GREASE 
    1. Using a scraper with its tip wrapped with protective tape, remove any remaining thermal grease from the hybrid vehicle converter kit as shown in the illustration.
      GTY589482Courtesy of © TOYOTA, LICENSE AGREEMENT TMS1002
      NOTE:
      • To prevent thermal grease from entering the hybrid vehicle converter kit, remove it by moving the scraper from the sides toward the center as shown in the illustration.
      • Keep the parts free from foreign matter.
      • Keep thermal grease away from other parts.
      • Do not spray non-residue solvent directly onto the parts when cleaning.
      • Clean parts with a piece of cloth saturated with non-residue solvent.
      • Do not use compressed air when cleaning to prevent dust from flying.
    2. Using a piece of cloth, remove the thermal grease.

      HINT: 

      It is acceptable to leave a small amount of thermal grease in the grooves.

  2. REMOVE SEAL PACKING (FROM HYBRID CONVERTER KIT CONTACT SURFACE) 
    NOTE:
    • Only remove seal packing which is uneven, has peeled off or seeped out from between the contact surfaces.
    • Do not drop any removed seal packing into the hybrid vehicle converter kit.
    • Do not bend the bus-bars.
    1. Install the 2 stud bolts and set the hybrid vehicle converter kit on its side as shown in the illustration.
      GTY703466Courtesy of © TOYOTA, LICENSE AGREEMENT TMS1002
      TEXT IN ILLUSTRATION

      *1 Stud Bolt - -
      NOTE:

      To prevent the hybrid vehicle converter kit from falling over, hold it with a hand or place an object behind it.

    2. Using a finger or a scraper with its tip wrapped with protective tape, remove any remaining seal packing which is uneven, has peeled off or seeped out from around the contact surface shown in the illustration and inside the bolt holes.
      NOTE:

      Do not bend the bus-bars.

      GTY714571Courtesy of © TOYOTA, LICENSE AGREEMENT TMS1002
      TEXT IN ILLUSTRATION

      *1 Seeped Out or Uneven Seal Packing *2 Light Coat of Seal Packing Remaining on Contact Surface
      *a Contact Surface *b Minimum Requirement for Removal of Seal Packing
    3. While supporting the hybrid vehicle converter kit by hand, using a finger or a scraper with its tip wrapped with protective tape, remove any remaining seal packing which is uneven, has peeled off or seeped out from around the contact surface shown in the illustration and inside the bolt holes.
      GTY709687Courtesy of © TOYOTA, LICENSE AGREEMENT TMS1002
      TEXT IN ILLUSTRATION

      *a Contact Surface - -
    4. Remove the 2 stud bolts.
  3. REMOVE SEAL PACKING (FROM INVERTER CASE WITH CONDENSER CONTACT SURFACE) 
    NOTE:
    • Only remove seal packing which is uneven, has peeled off or seeped out from between the contact surfaces.
    • Do not drop any removed seal packing into the inverter case with condenser.
    • Do not bend the bus-bars.
    1. Set the inverter case with condenser on its side as shown in the illustration.
      NOTE:

      To prevent the inverter case with condenser from falling over, hold it by hand or place an object behind it.

    2. Using a finger or a scraper with its tip wrapped with protective tape, remove any remaining seal packing which is uneven, has peeled off or seeped out from around the contact surface shown in the illustration and inside the bolt holes.
      GTY717528Courtesy of © TOYOTA, LICENSE AGREEMENT TMS1002
      TEXT IN ILLUSTRATION

      *1 Seeped Out or Uneven Seal Packing *2 Light Coat of Seal Packing Remaining on Contact Surface
      *a Minimum Requirement for Removal of Seal Packing - -
  4. REMOVE ADHESIVE (FROM NO. 1 AND NO. 2 INVERTER DRAIN PLUGS SEALING SURFACE) 
    1. Remove the protective tape from the installation holes of the No. 1 and No. 2 inverter drain plugs.
      GTY711382Courtesy of © TOYOTA, LICENSE AGREEMENT TMS1002
      TEXT IN ILLUSTRATION

      *1 Protective Tape
    2. Apply protective tape to the installation holes of the No. 1 and No. 2 inverter drain plugs from the inside of the inverter case with condenser.
      GTY712467Courtesy of © TOYOTA, LICENSE AGREEMENT TMS1002
      TEXT IN ILLUSTRATION

      *1 Protective Tape
      NOTE:

      Do not bend the bus-bars when applying protective tape.

    3. Using a scraper with its tip wrapped with protective tape, remove any remaining adhesive from the sealing surfaces of the No. 1 and No. 2 inverter drain plugs.
      GTY728682Courtesy of © TOYOTA, LICENSE AGREEMENT TMS1002
      TEXT IN ILLUSTRATION

      *1 Sealing Surface - -
      NOTE:

      Do not damage the sealing surfaces.

    4. Remove any adhesive shavings using tape or equivalent.
    5. Remove the protective tape from the inside of the inverter case with condenser.
    6. Apply protective tape to the installation holes of the No. 1 and No. 2 inverter drain plugs as shown in the illustration.
      GTY711382Courtesy of © TOYOTA, LICENSE AGREEMENT TMS1002
      TEXT IN ILLUSTRATION

      *1 Protective Tape
  5. REMOVE RESIDUE (FROM INVERTER SIGNAL CONNECTOR COVER SEALING SURFACE) 
    1. Apply protective tape to the area shown in the illustration to prevent removed residue from entering the inverter case with condenser.
      GTY724399Courtesy of © TOYOTA, LICENSE AGREEMENT TMS1002
      TEXT IN ILLUSTRATION

      *1 Protective Tape
    2. Using 600-grit sandpaper, remove the residue from each grommet sealing surface until it feels smooth.
      GTY739345Courtesy of © TOYOTA, LICENSE AGREEMENT TMS1002
      NOTE:
      • Use 600-grit or higher sandpaper.
      • Do not allow removed residue to enter the inverter case with condenser or hybrid vehicle converter kit.
      • Do not touch or allow grease or oil to contact the sealing surfaces of the inverter case with condenser.
    3. Remove any residue particles using tape or equivalent.
    4. Remove the protective tape.
    5. Thoroughly wash your hands after performing this step.

      HINT: 

      It is not necessary to perform this step if performing the "Remove Residue (from Grommet Sealing Surface)" procedure next.

  6. REMOVE RESIDUE (FROM GROMMET SEALING SURFACE) 

    HINT: 

    Perform the following procedure only when there is residue on the grommet sealing surfaces:

    1. Apply protective tape to the areas shown in the illustration to prevent removed residue from entering the inverter case with condenser and hybrid vehicle converter kit.
      GTY609793Courtesy of © TOYOTA, LICENSE AGREEMENT TMS1002
      TEXT IN ILLUSTRATION

      *1 Inverter Case with Condenser *2 Hybrid Vehicle Converter Kit
      *3 Protective Tape - -
    2. Using 600-grit sandpaper, remove the residue from each grommet sealing surface until it feels smooth.
      GTY703632Courtesy of © TOYOTA, LICENSE AGREEMENT TMS1002
      TEXT IN ILLUSTRATION

      *a Residue - -
      NOTE:
      • Use 600-grit or higher sandpaper.
      • Do not allow removed residue to enter the inverter case with condenser or hybrid vehicle converter kit
    3. Remove any adhesive shavings particles using tape or equivalent.
    4. Remove the protective tape.
    5. Thoroughly wash your hands after performing this step.
  7. CLEAN INVERTER SIGNAL CONNECTOR COVER 
    1. Remove the gasket from the inverter signal connector cover. Wash the gasket and inverter signal connector cover with water and dry them completely.
      NOTE:

      Do not damage the gasket.

      GTY731657Courtesy of © TOYOTA, LICENSE AGREEMENT TMS1002
      TEXT IN ILLUSTRATION

      *1 Gasket
    2. Thoroughly wash your hands after performing this step.
  8. INSTALL POWER MODULE INTELLIGENT TRANSISTOR KIT 
    NOTE:
    • Do not touch the circuit board.
    • Do not allow any moisture to come into contact with the circuit board.
    1. Place the hybrid vehicle converter kit so that the guide pins are positioned as shown in the illustration and clean the thermal grease contacting area of the hybrid vehicle converter kit.
      GTY732772Courtesy of © TOYOTA, LICENSE AGREEMENT TMS1002
      TEXT IN ILLUSTRATION

      *1 Guide Pins
      *a Thermal Grease Contacting Area
      WARNING:

      Do not apply non-residue solvent directly to the hybrid vehicle converter kit when cleaning.

      HINT: 

      Clean the hybrid vehicle converter kit contact surfaces with a piece of cloth saturated with non-residue solvent.

    2. Apply protective tape to the wire harness to keep it free from grease.
      GTY542773Courtesy of © TOYOTA, LICENSE AGREEMENT TMS1002
      TEXT IN ILLUSTRATION

      *1 Protective Tape
    3. Apply protective tape to the hybrid vehicle converter kit as shown in the illustration to prevent grease from entering it.
      GTY566257Courtesy of © TOYOTA, LICENSE AGREEMENT TMS1002
      TEXT IN ILLUSTRATION

      *1 Protective Tape
    4. Bend the masking seal as shown in the illustration.
      GTY714955Courtesy of © TOYOTA, LICENSE AGREEMENT TMS1002
      TEXT IN ILLUSTRATION

      *1 Do not remove.
      NOTE:

      Do not remove the release paper from the bent portion of the masking seal. If the adhesive surface of the masking seal contacts a bus-bar, the bus-bar may be bent when removing the masking seal.

    5. Remove the release paper from the masking seal.
      GTY690976Courtesy of © TOYOTA, LICENSE AGREEMENT TMS1002
      NOTE:

      Do not remove the release paper from the bent portion of the masking seal.

    6. Align the guide holes of the masking seal with the guide pins as shown in the illustration, and attach the masking seal to the hybrid vehicle converter kit.
      GTY700307Courtesy of © TOYOTA, LICENSE AGREEMENT TMS1002
      TEXT IN ILLUSTRATION

      *1 Masking Seal *2 Guide Pin
      *3 Guide Hole - -
    7. Check that the masking seal is attached correctly, then firmly press on it with your fingers to securely attach it.
      GTY543982Courtesy of © TOYOTA, LICENSE AGREEMENT TMS1002
      NOTE:
      • Securely attach the masking seal without leaving any air bubbles.
      • Do not touch the bus-bars when attaching the masking seal.
    8. Gently squeeze the tube of thermal grease and apply a small amount to a piece of cloth.
      GTY648036Courtesy of © TOYOTA, LICENSE AGREEMENT TMS1002

      HINT: 

      Some clear liquid may come out first. Squeeze it out completely onto a piece of cloth.

    9. Apply thermal grease to 14 places as shown in the illustration.
      GTY718144Courtesy of © TOYOTA, LICENSE AGREEMENT TMS1002
      TEXT IN ILLUSTRATION

      *a Reference Line *b Almost equally spaced
      *c Approximately 6.0 mm (0.236 in.) *d Approximately 2.0 mm (0.0787 in.)
    10. Using SST, carefully apply the thermal grease smoothly and evenly by spreading it as shown in the illustration. (Procedure A)
      • SST: 09891-47010 
      GTY729688Courtesy of © TOYOTA, LICENSE AGREEMENT TMS1002
      TEXT IN ILLUSTRATION

      *1 SST
      *a 45°
      NOTE:
      • Before performing work, check that the thermal grease contacting area of SST is not damaged.
      • Apply the thermal grease smoothly and evenly to ensure proper heat transfer.
      • Keep SST at a 45-degree angle and perform work carefully.
    11. Change the orientation of SST as shown in the illustration. (Procedure B)
      GTY693606Courtesy of © TOYOTA, LICENSE AGREEMENT TMS1002
      TEXT IN ILLUSTRATION

      *1 SST - -
      *a 45° - -
    12. Using SST, carefully apply the thermal grease smoothly and evenly by spreading it as shown in the illustration. (Procedure C)
      GTY584230Courtesy of © TOYOTA, LICENSE AGREEMENT TMS1002
      TEXT IN ILLUSTRATION

      *1 SST
      *a 45°
    13. Repeat steps A through C until the thermal grease is smooth and even.
    14. Check that the thermal grease has been applied smoothly and evenly.
      GTY731894Courtesy of © TOYOTA, LICENSE AGREEMENT TMS1002
    15. If the thermal grease layer is uneven and the application surface is visible, apply more thermal grease.
      GTY665330Courtesy of © TOYOTA, LICENSE AGREEMENT TMS1002
    16. Using SST, carefully apply the thermal grease smoothly and evenly.
      NOTE:
      • Apply the thermal grease smoothly and evenly to ensure proper heat transfer.
      • Keep SST at a 45-degree angle and perform work carefully.
    17. If foreign matter has attached to the thermal grease, scrape it off using the edge of the thermal grease tube, and apply more thermal grease.
      GTY684155Courtesy of © TOYOTA, LICENSE AGREEMENT TMS1002
    18. Using SST, carefully apply the thermal grease smoothly and evenly.
      NOTE:
      • Apply the thermal grease smoothly and evenly to ensure proper heat transfer.
      • Keep SST at a 45-degree angle and perform work carefully.
    19. Check that the thermal grease has been applied smoothly and evenly.
    20. Remove the masking seal from the hybrid vehicle converter kit.
      GTY694293Courtesy of © TOYOTA, LICENSE AGREEMENT TMS1002
      TEXT IN ILLUSTRATION

      *1 Bus-bar
      *a Remove
      NOTE:
      • Slowly remove the masking seal without touching the thermal grease surface.
      • Be careful not to touch the bus-bars when removing the masking seal.
    21. Remove the protective tape.
    22. Align the guide holes with the guide pins as shown in the illustration, and temporarily install the power module intelligent transistor kit to the hybrid vehicle converter kit.
      GTY723789Courtesy of © TOYOTA, LICENSE AGREEMENT TMS1002
      TEXT IN ILLUSTRATION

      *1 Guide Pins *2 Guide Hole (Oblong Hole)
      *3 Guide Hole (Circular Hole) - -
      NOTE:
      • Do not apply any force the coolant pipes.
      • Make sure to align the guide pins correctly.
      • Be careful not to deform the bus-bars.
    23. Install the power module intelligent transistor kit with the 4 bolts.
    24. Temporarily tighten the 4 bolts evenly in several steps in the order shown in the illustration, then fully tighten them.

      Torque: 6.0 N*m (61 kgf*cm, 53 in.*lbf) 

      Fig 1: Power Module Intelligent Transistor Kit Tightening Sequence
      GTY699209Courtesy of © TOYOTA, LICENSE AGREEMENT TMS1002
    25. Install the 3 bolts.

      Torque: 6.0 N*m (61 kgf*cm, 53 in.*lbf) 

      GTY699223Courtesy of © TOYOTA, LICENSE AGREEMENT TMS1002
      NOTE:

      Do not touch the bus-bars.

  9. INSTALL MG CONTROL COMPUTER WITH BRACKET SUB-ASSEMBLY 
    NOTE:
    • Do not touch the circuit board.
    • Do not allow any moisture to come into contact with the circuit board.
    1. Align the guide pins of the MG control computer with bracket sub-assembly with the holes of the hybrid vehicle converter kit and temporarily install the MG control computer with bracket sub-assembly to the hybrid vehicle converter kit.
      GTY738266Courtesy of © TOYOTA, LICENSE AGREEMENT TMS1002
      TEXT IN ILLUSTRATION

      *1 Guide Pins - -
      NOTE:

      Make sure to align the guide pins correctly.

    2. Install the MG control computer with bracket sub-assembly with the 4 bolts.
    3. Temporarily tighten the 4 bolts evenly in several steps in the order shown in the illustration, then fully tighten them.

      Torque: 4.5 N*m (46 kgf*cm, 40 in.*lbf) 

      Fig 2: MG Control Computer With Bracket Sub-Assembly Tightening Sequence
      GTY725670Courtesy of © TOYOTA, LICENSE AGREEMENT TMS1002
    4. Engage the 2 wire harnesses to the 4 clamps.
      GTY702355Courtesy of © TOYOTA, LICENSE AGREEMENT TMS1002
    5. Connect the connector.
      GTY733102Courtesy of © TOYOTA, LICENSE AGREEMENT TMS1002
    6. Connect the 2 connectors.
      GTY696529Courtesy of © TOYOTA, LICENSE AGREEMENT TMS1002
    7. Disengage the lock claws of the white resin connector and connect the flat cable to the power module intelligent transistor kit.
      GTY702353Courtesy of © TOYOTA, LICENSE AGREEMENT TMS1002
    8. Check that the flat cable is connected securely.
      NOTE:

      If the flat cable is not fully connected, connect it securely.

      GTY621969Courtesy of © TOYOTA, LICENSE AGREEMENT TMS1002
    9. If the gasket of the inverter signal connector is protruding, fully push it in.
      GTY701610Courtesy of © TOYOTA, LICENSE AGREEMENT TMS1002
      TEXT IN ILLUSTRATION

      *1 Gasket

      HINT: 

      If the gasket is misaligned, install it so that each mark is at the center of each side.

      GTY702114Courtesy of © TOYOTA, LICENSE AGREEMENT TMS1002
      TEXT IN ILLUSTRATION

      *1 Gasket
      *2 Mark
  10. INSTALL INVERTER TERMINAL WITH SENSOR SUB-ASSEMBLY 
    NOTE:
    • Do not touch the circuit board.
    • Do not allow any moisture to come into contact with the circuit board.
    1. Align the guide pins of the inverter terminal with sensor sub-assembly with the holes of the hybrid vehicle converter kit and temporarily install the inverter terminal with sensor sub-assembly to the hybrid vehicle converter kit.
      GTY714489Courtesy of © TOYOTA, LICENSE AGREEMENT TMS1002
      TEXT IN ILLUSTRATION

      *1 Guide Pins - -
      NOTE:

      Make sure to align the guide pins correctly.

    2. Install the inverter terminal with sensor sub-assembly with the 4 bolts.
    3. Temporarily tighten the 4 bolts evenly in several steps in the order shown in the illustration, then fully tighten them.

      Torque: 4.5 N*m (46 kgf*cm, 40 in.*lbf) 

      Fig 3: Inverter Terminal With Sensor Sub-Assembly Tightening Sequence
      GTY734307Courtesy of © TOYOTA, LICENSE AGREEMENT TMS1002
    4. Connect the 3 connectors.
      GTY696532Courtesy of © TOYOTA, LICENSE AGREEMENT TMS1002
    5. Check that the 6 connectors and flat cable are connected securely as shown in the illustration.
      GTY725066Courtesy of © TOYOTA, LICENSE AGREEMENT TMS1002
    6. Check the installation condition of the pen sheet.
      NOTE:
      • Do not touch the circuit board.
      • Do not allow any moisture to come into contact with the circuit board.
      1. While ensuring that the pen sheet does not interfere with components of the circuit board, insert the pen sheet between the inverter terminal with sensor sub-assembly and MG control computer with bracket sub-assembly.
        GTY730121Courtesy of © TOYOTA, LICENSE AGREEMENT TMS1002
        TEXT IN ILLUSTRATION

        *1 Pen Sheet - -
      2. Set the pen sheet so that the guide hole is aligned with the pin of the motor generator control computer sub-assembly as shown in the illustration.
        GTY729676Courtesy of © TOYOTA, LICENSE AGREEMENT TMS1002
        TEXT IN ILLUSTRATION

        *1 Guide Pin
        *2 Double-sided Tape
        *3 Pen Sheet
      3. Attach the double-sided tape of the pen sheet to the connector as shown in the illustration.
    7. Install the 6 bolts.

      Torque: 6.0 N*m (61 kgf*cm, 53 in.*lbf) 

      GTY706475Courtesy of © TOYOTA, LICENSE AGREEMENT TMS1002
      NOTE:

      Do not touch the bus-bars.

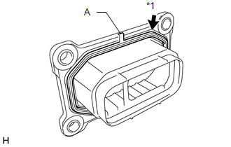
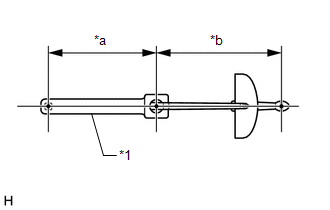
    8. If the No. 2 engine room wire is installed, install the bolt (A) using SST as shown in the illustration.
      • SST: 09961-00950 

      without SST 

      Torque: 6.0 N*m (61 kgf*cm, 53 in.*lbf) 

      with SST 

      Torque: 3.3 N*m (34 kgf*cm, 29 in.*lbf) 

      GTY739058Courtesy of © TOYOTA, LICENSE AGREEMENT TMS1002
      TEXT IN ILLUSTRATION

      *1 SST
      NOTE:

      This torque value is effective when SST is parallel to the torque wrench.

      HINT: 

      • The "with SST" torque value is effective when using SST with a fulcrum length of 150 mm (5.91 in.).
        GTY697116Courtesy of © TOYOTA, LICENSE AGREEMENT TMS1002
        TEXT IN ILLUSTRATION

        *1 SST
        *2 Length of SST 150 mm (5.91 in.)
        *3 Length of Torque Wrench 185 mm (7.28 in.)
      • The "with SST" torque value is effective when using a torque wrench with a fulcrum length of 185 mm (7.28 in.)
      • If using a torque wrench with a different length, or connecting the torque wrench and SST at an angle, refer to the alternate torque values. (Refer to PRECAUTION [11/2015 - 06/2017] and Refer to PRECAUTION [06/2017 - ] )
      • Loosen the nut of the No. 2 engine room wire to secure enough space to perform work.
  11. INSTALL INVERTER CASE WITH CONDENSER 
    NOTE:
    • Do not touch the circuit board.
    • Do not allow any moisture to come into contact with the circuit board.
    • Do not touch or allow grease or oil to contact the sealing surfaces of the hybrid vehicle converter kit and inverter case with condenser.
    1. Apply seal packing (diameter: 2.0 to 3.0 mm (0.0787 to 0.118 in.)) in a continuous line to the locations shown in the illustration.
      GTY704502Courtesy of © TOYOTA, LICENSE AGREEMENT TMS1002
      TEXT IN ILLUSTRATION

      *1 Seal Packing *2 Bolt Hole
      *3 Coolant Pipe - -
      *a 2.0 to 3.0 mm (0.0787 to 0.118 in.) *b 2.0 to 3.0 mm (0.0787 to 0.118 in.)
      *c Around Coolant Pipe - -

      Seal Packing

      Toyota Genuine Seal Packing 1282B, Three Bond 1282B or equivalent

      NOTE:
      • Install the inverter case with condenser within 3 minutes of applying seal packing.
      • Tighten the bolts within 15 minutes of applying seal packing.
      • Keep the coolant pipes free from seal packing.
    2. Install the inverter case with condenser.
      1. Peel back the protective tape to the extent that the following steps can be performed.
        GTY703459Courtesy of © TOYOTA, LICENSE AGREEMENT TMS1002
        TEXT IN ILLUSTRATION

        *1 Protective Tape
        NOTE:

        Do not touch or allow grease or oil to contact the sealing surfaces of the inverter case with condenser.

      2. Align the holes of the inverter case with condenser with the guide pins of the hybrid vehicle converter kit and temporarily install the inverter case with condenser so that the bus-bar (A) does not contact the protrusion of the inverter terminal with sensor sub-assembly (B).
        GTY714558Courtesy of © TOYOTA, LICENSE AGREEMENT TMS1002
        TEXT IN ILLUSTRATION

        *1 Guide Pins - -
        NOTE:
        • Make sure to align the guide pins correctly.
        • Check that the bus-bars of the hybrid vehicle converter kit overlap the bus-bars of the inverter case with condenser.
          GTY724856Courtesy of © TOYOTA, LICENSE AGREEMENT TMS1002
        • Make sure that the bus-bar (A) is not resting on the resin part of the inverter terminal with sensor sub-assembly as shown in the illustration.
          GTY726621Courtesy of © TOYOTA, LICENSE AGREEMENT TMS1002
        TEXT IN ILLUSTRATION

        *1 Bus-bar (A)
    3. Temporarily install the inverter case with condenser with the 11 bolts.

      Torque: 4.0 N*m (41 kgf*cm, 35 in.*lbf) 

      GTY698000Courtesy of © TOYOTA, LICENSE AGREEMENT TMS1002
    4. Fully tighten the 11 bolts.

      Torque: 9.2 N*m (94 kgf*cm, 81 in.*lbf) 

    5. Install the 5 bolts.

      Torque: 6.0 N*m (61 kgf*cm, 53 in.*lbf) 

      GTY697997Courtesy of © TOYOTA, LICENSE AGREEMENT TMS1002
      NOTE:

      Do not touch the bus-bars.

    6. Install the No. 2 engine room wire to the inverter with converter assembly with the nut.
      GTY733431Courtesy of © TOYOTA, LICENSE AGREEMENT TMS1002

      Torque: 8.0 N*m (82 kgf*cm, 71 in.*lbf) 

      NOTE:

      Check that the nut is not cross-threaded and the terminal is not loose.

    7. Close the terminal cover and engage the 2 claws.
      GTY697995Courtesy of © TOYOTA, LICENSE AGREEMENT TMS1002
  12. INSTALL INVERTER UNION GROMMET 
    1. Apply a light coat of seal packing to 2 new inverter union grommets.
      GTY708596Courtesy of © TOYOTA, LICENSE AGREEMENT TMS1002
      TEXT IN ILLUSTRATION

      *1 Seal Packing

      Seal Packing

      Toyota Genuine Seal Packing 1282B, Three Bond 1282B or equivalent

      NOTE:
      • Install the inverter union grommets within 60 minutes of installing the inverter case with condenser.
      • Apply a light coat of seal packing to the entire surface of the area shown in the illustration. If seal packing is applied excessively, it may seep out, however, sealing quality will not be affected.
      • Install the inverter union grommets within 3 minutes of applying seal packing.
    2. NOTE:

      Do not damage the coolant pipes.

    3. GTY722048Courtesy of © TOYOTA, LICENSE AGREEMENT TMS1002
      TEXT IN ILLUSTRATION

      *1 Coolant Pipe
      *2 Inverter Union Grommet
      *a Flange
    4. Using a 30 mm socket, install the inverter union grommet.
      GTY694586Courtesy of © TOYOTA, LICENSE AGREEMENT TMS1002
      TEXT IN ILLUSTRATION

      *1 30 mm Socket

      HINT: 

      Make sure that the clearance between the inverter union grommet and inverter case with condenser is 2.0 mm (0.0787 in.) or less.

      GTY688336Courtesy of © TOYOTA, LICENSE AGREEMENT TMS1002
      TEXT IN ILLUSTRATION

      *a 2.0 mm (0.0787 in.) or less
    5. Perform the same procedure to install the other inverter union grommet.
  13. INSTALL NO. 1 AND NO. 2 INVERTER DRAIN PLUGS 
    NOTE:

    Do not touch or allow grease or oil to contact the sealing surfaces of the inverter case with condenser.

    1. Make sure that the sealing surfaces of the No. 1 and No. 2 inverter drain plugs are covered with aluminum tape.
      GTY720731Courtesy of © TOYOTA, LICENSE AGREEMENT TMS1002
      TEXT IN ILLUSTRATION

      *1 Aluminum Tape
      NOTE:

      If the sealing surfaces of the No. 1 and No. 2 inverter drain plugs are not covered with aluminum tape, do not use them as they cannot be securely installed with only seal packing.

    2. Remove the release film from the No. 1 and No. 2 inverter drain plugs.
      GTY695569Courtesy of © TOYOTA, LICENSE AGREEMENT TMS1002
      TEXT IN ILLUSTRATION

      *1 Release Film
    3. Apply seal packing (diameter: 3.0 mm (0.118 in.)) to new No. 1 and No. 2 inverter drain plugs.
      GTY729138Courtesy of © TOYOTA, LICENSE AGREEMENT TMS1002
      TEXT IN ILLUSTRATION

      *1 No. 1 Inverter Drain Plug
      *2 No. 2 Inverter Drain Plug
      *3 Seal Packing
      *a Approximately 3.0 mm (0.118 in.)
      *b Approximately 3.0 mm (0.118 in.)

      Seal Packing

      Toyota Genuine Seal Packing 1282B, Three Bond 1282B or equivalent

      NOTE:
      • Be sure to use the specified type of seal packing.
      • Install the No. 1 and No. 2 inverter drain plugs within 3 minutes of applying seal packing.
    4. Install the No. 1 and No. 2 inverter drain plugs to the inverter with converter assembly.
      GTY689359Courtesy of © TOYOTA, LICENSE AGREEMENT TMS1002
      TEXT IN ILLUSTRATION

      *1 No. 1 Inverter Drain Plug
      *2 No. 2 Inverter Drain Plug
  14. INSTALL INVERTER SIGNAL CONNECTOR COVER 
    1. Install the gasket to the inverter signal connector cover.

      HINT: 

      Make sure that the protrusion (A) of the gasket is securely inserted into the groove of the inverter signal connector cover.

      GTY689971Courtesy of © TOYOTA, LICENSE AGREEMENT TMS1002
      TEXT IN ILLUSTRATION

      *1 Gasket
    2. Clean the installation surface.
    3. Install the inverter signal connector cover with the 4 bolts.

      Torque: 6.0 N*m (61 kgf*cm, 53 in.*lbf) 

      GTY708657Courtesy of © TOYOTA, LICENSE AGREEMENT TMS1002
      TEXT IN ILLUSTRATION

      *1 Inverter Signal Connector Cover
  15. INSTALL INVERTER COVER 
    1. Remove the protective tape.
      GTY707119Courtesy of © TOYOTA, LICENSE AGREEMENT TMS1002
      TEXT IN ILLUSTRATION

      *1 Protective Tape
    2. Temporarily install the inverter cover with the 7 bolts to prevent any foreign matter or water from entering the inverter with converter assembly.
      GTY697989Courtesy of © TOYOTA, LICENSE AGREEMENT TMS1002
      NOTE:

      Visually confirm that the inverter cover waterproofing rubber is securely installed before installing the inverter cover.

  16. INSTALL INVERTER TERMINAL COVER 
    1. Temporarily install the inverter terminal cover to the inverter with converter assembly with the 2 bolts.
      GTY712970Courtesy of © TOYOTA, LICENSE AGREEMENT TMS1002
      TEXT IN ILLUSTRATION

      *1 Interlock Connector
      NOTE:
      • Visually confirm that the inverter terminal cover waterproofing rubber is securely installed before installing the inverter terminal cover.
      • Make sure that the interlock connector is fully engaged.
  17. INSTALL INVERTER WITH CONVERTER ASSEMBLY 

    Refer to INSTALLATION [11/2015 - ] 

  18. CHECK FOR COOLANT LEAK (for Inverter) 
    1. Remove the reserve tank cap.
      WARNING:

      Do not remove the reserve tank cap while the coolant (for inverter) is still hot. Pressurized, hot coolant and steam may be released and cause serious burns.

    2. Install the radiator cap tester.
      GTY333977Courtesy of © TOYOTA, LICENSE AGREEMENT TMS1002
    3. Pump the radiator cap tester to 122 kPa (1.2 kgf/ cm2 , 17.7 psi), and then check that the pressure does not drop.

      HINT: 

      If the pressure drops, check the hoses, radiator, water pump, inverter with converter, and hybrid vehicle transaxle assembly for leaks.

    4. Install the reserve tank cap.
  19. OPERATION CHECK 

    HINT: 

    • After performing repair, check the operation as follows. Then check for DTCs again.
    • The current at the AMD terminal cannot be measured directly because of space limitations. Measure the current flow at the auxiliary battery instead.
    1. Connect an AC/DC 400 A probe from an ammeter to the positive (+) auxiliary battery cable.
      GTY194202Courtesy of © TOYOTA, LICENSE AGREEMENT TMS1002
    2. Turn the power switch on (READY) and leave the vehicle as is until the electric current flowing into the auxiliary battery becomes 10 A or less.
    3. Change the orientation of the AC/DC 400A probe.
      GTY194203Courtesy of © TOYOTA, LICENSE AGREEMENT TMS1002
    4. Measure the current flowing from the auxiliary battery with the power switch on (READY), the high beam headlights on and blower motor switch in the HI position, and rear window defogger turned on.

      Standard Current

      Item Switch Condition Specified Condition
      Current flowing from auxiliary battery Power switch on (READY)
      (High beam headlights on and blower motor switch in HI position, rear window defogger on)
      0 A or less
      (No current from auxiliary battery)
    5. Turn the power switch off.