LEMON Manuals: Even more car manuals for everyone: 1960-2025
Home >> Toyota >> 2017 >> Prius C Two >> Repair and Diagnosis >> Steering >> Steering Column >> Steering Column (Service Information) >> Steering Column Assembly >> Inspection [11/2015 - ] >> Procedure
April 5, 2026: LEMON Manuals is launched! Read the announcement.

Inspection [11/2015 - ]: Procedure

  1. INSPECT PRELOAD 
    1. Secure the steering column assembly in a vice using aluminum plates and wooden block as shown in the illustration.
      GTY728045Courtesy of © TOYOTA, LICENSE AGREEMENT TMS1002
      TEXT IN ILLUSTRATION

      *1 Aluminum Plate
      *2 Wooden Block
      NOTE:

      When using a vise, do not overtighten it.

    2. Using SST and a torque wrench, turn the main shaft at a constant speed of approximately 1 revolution every 4 seconds and measure the preload.
      GTY721179Courtesy of © TOYOTA, LICENSE AGREEMENT TMS1002
      • SST: 09616-00011 

      Preload 

      Torque: 1.4 N*m (14 kgf*cm, 12 in.*lbf) 

      or less

      If the preload is not as specified, replace the electric power steering column sub-assembly or power steering motor sub-assembly with a new one.

  2. INSPECT STEERING LOCK OPERATION (w/o Smart Key System) 
    1. Remove the key and check that the steering lock function is activated.
    2. Insert the key, turn the ignition switch to ACC and check that the steering lock function has been deactivated.
      GTY703517Courtesy of © TOYOTA, LICENSE AGREEMENT TMS1002
  3. INSPECT STEERING COLUMN ASSEMBLY 
    1. Check that the 2 bushings are securely installed to the steering column assembly.
      GTY325561Courtesy of © TOYOTA, LICENSE AGREEMENT TMS1002

      If the bushings are deformed, missing or damaged, replace the electric power steering column sub-assembly with a new one.

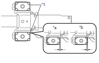
    2. Check that the 2 capsules are securely installed to the electric power steering column sub-assembly as shown in the illustration.
      GTY340968Courtesy of © TOYOTA, LICENSE AGREEMENT TMS1002
      TEXT IN ILLUSTRATION

      *1 Capsule
      *a OK
      *b NG

      Standard

      Capsules do not overlap the corner parts of the brackets.

      NOTE:
      • If the standard value is not satisfied, replace the electric power steering column sub-assembly with a new one.
      • If the capsules have deformation, damage or misalignment, replace the electric power steering column sub-assembly with a new one.