LEMON Manuals: Even more car manuals for everyone: 1960-2025
Home >> Toyota >> 2017 >> Prius C Two >> Repair and Diagnosis >> Steering >> Steering Column >> Steering Column (Service Information) >> Steering Pad Switch >> Installation [06/2017 - ] >> Procedure
April 5, 2026: LEMON Manuals is launched! Read the announcement.

Installation [06/2017 - ]: Procedure

  1. INSTALL STEERING PAD SWITCH LH 
    1. Connect the connector to install the steering pad switch LH to the steering pad switch RH.
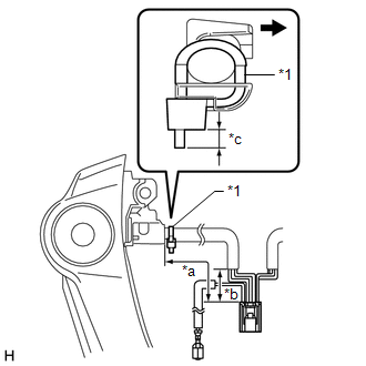
    2. Align a new clamp with the groove and install it as shown in the illustration.
      NOTE:

      Make sure to install the clamp in the correct direction.

      GTY743769Courtesy of © TOYOTA, LICENSE AGREEMENT TMS1002
      *1 Clamp
      *a 70 to 85 mm (2.76 to 3.35 in.)
      *b 10 mm (0.394 in.) or less
      *c 1 to 3 mm (0.0394 to 0.118 in.)
      Front of the Vehicle
    3. After installation, cut off the excess length of the clamp within the specified range (*c) shown in the illustration.
  2. INSTALL STEERING PAD SWITCH ASSEMBLY 
    1. Engage the 2 claws to install the steering pad switch assembly (RH side) to the steering wheel sub-assembly.
    2. Install the 2 screws.

      Torque: 2.4 N*m (24 kgf*cm, 21 in.*lbf) 

    3. Engage the 2 claws to install the steering pad switch assembly (LH side) to the steering wheel sub-assembly.
    4. Install the 2 screws.

      Torque: 2.4 N*m (24 kgf*cm, 21 in.*lbf) 

    5. Connect the steering pad switch connector to the spiral cable.
  3. INSTALL HORN BUTTON ASSEMBLY 

    Refer to INSTALLATION [11/2015 - ]