LEMON Manuals: Even more car manuals for everyone: 1960-2025
Home >> Toyota >> 2017 >> Prius Prime Advanced >> Repair and Diagnosis (Single Page) >> Accessories & Equipment >> Infotainment >> Navigation System - Circuit And Symptom Tests >> Navigation System >> Circuit Tests >> Vehicle Speed Signal Circuit between Stereo Component Amplifier and Combination Meter [09/2016 - 05/2019] >> Procedure
April 5, 2026: LEMON Manuals is launched! Read the announcement.

Vehicle Speed Signal Circuit between Stereo Component Amplifier and Combination Meter [09/2016 - 05/2019]: Procedure

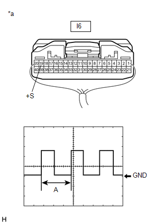
  1. INSPECT METER CIRCUIT PLATE (OUTPUT WAVEFORM) 
    1. Check the output waveform.
      1. Remove the meter circuit plate with the connector(s) still connected.
      2. Connect an oscilloscope to terminal I6-19 (+S) and body ground.
        GTY708671Courtesy of © TOYOTA, LICENSE AGREEMENT TMS1002
        *a Component with harness connected
        (Meter Circuit Plate)
      3. Turn the power switch on (IG).
      4. Turn a wheel slowly.
      5. Check the signal waveform according to the condition(s) in the table below.
        Item Condition
        Measurement terminal I6-19 (+S) - Body ground
        Tool setting 5 V/DIV., 20 ms./DIV.
        Vehicle condition Wheel being rotated

        OK

        The waveform is similar to that shown in the illustration.

        HINT: 

        When the system is functioning normally, one wheel revolution generates 4 pulses. As the vehicle speed increases, the width indicated by (A) in the illustration narrows.

      Result

      Proceed to
      OK
      NG

    Result: 

    NG 

    GO TO METER / GAUGE SYSTEM. Refer to  Speed Signal Circuit [09/2016 - 05/2019] 

    Result: 

    OK 

    See step  2

  2. INSPECT STEREO COMPONENT AMPLIFIER ASSEMBLY (INPUT WAVEFORM) 
    1. Check the input waveform.
      1. Remove the stereo component amplifier assembly with the connector(s) still connected.
      2. Connect an oscilloscope to terminal I64-11 (SPD) and body ground.
        GTY717958Courtesy of © TOYOTA, LICENSE AGREEMENT TMS1002
        *a Component with harness connected
        (Stereo Component Amplifier Assembly)
      3. Turn the power switch on (IG).
      4. Turn a wheel slowly.
      5. Check the signal waveform according to the condition(s) in the table below.
        Item Condition
        Measurement terminal I64-11 (SPD) - Body ground
        Tool setting 5 V/DIV., 20 ms./DIV.
        Vehicle condition Wheel being rotated

        OK

        The waveform is similar to that shown in the illustration.

        HINT: 

        When the system is functioning normally, one wheel revolution generates 4 pulses. As the vehicle speed increases, the width indicated by (A) in the illustration narrows.

      Result

      Proceed to
      OK
      NG

    Result: 

    OK 

    PROCEED TO NEXT SUSPECTED AREA SHOWN IN PROBLEM SYMPTOMS TABLE. Refer to  PROBLEM SYMPTOMS TABLE [09/2016 - 05/2019] 

    Result: 

    NG 

    REPAIR OR REPLACE HARNESS OR CONNECTOR