LEMON Manuals: Even more car manuals for everyone: 1960-2025
Home >> Toyota >> 2017 >> RAV4 LE, AWD >> Repair and Diagnosis (Single Page) >> Accessories & Equipment >> Anti-Theft Systems >> Smart Key System (Start Function) (Diagnostic Codes & Symptom Tests) (Except Hybrid) >> SMART KEY SYSTEM (for Start Function) >> Symptom Tests >> Power Source Mode does not Change to ON (IG) [12/2012 - ] >> Procedure
April 5, 2026: LEMON Manuals is launched! Read the announcement.

Power Source Mode does not Change to ON (IG) [12/2012 - ]: Procedure

  1. CHECK HARNESS AND CONNECTOR (CERTIFICATION ECU (SMART KEY ECU ASSEMBLY) - IG2 RELAY) 
    1. Disconnect the G82 connectors from the certification ECU (smart key ECU assembly).
    2. Remove the IG2 relay.
    3. Measure the resistance according to the value(s) in the table below.

      Standard Resistance

      Tester Connection Condition Specified Condition
      G82-9 (IG2D) - 1 Always Below 1 Ω
      2 - Body ground
      G82-9 (IG2D) or 1 - Body ground 10 kΩ or higher
      Result Proceed to
      OK
      NG

    Result: 

    NG 

    REPAIR OR REPLACE HARNESS OR CONNECTOR 

    Result: 

    OK 

    See step  2

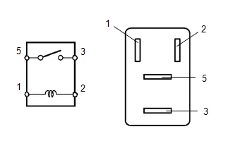
  2. INSPECT IG2 RELAY 
    1. Remove the IG2 relay.
      GTY367535Courtesy of © TOYOTA, LICENSE AGREEMENT TMS1002
    2. Measure the resistance according to the value(s) in the table below.

      Standard Resistance

      Tester Connection Condition Specified Condition
      3 - 5 Battery voltage not applied to terminals 1 and 2 10 kΩ or higher
      Battery voltage applied to terminals 1 and 2 Below 1 Ω
      Result Proceed to
      OK
      NG

    Result: 

    NG 

    REPLACE IG2 RELAY 

    Result: 

    OK 

    See step  3

  3. CHECK HARNESS AND CONNECTOR (CERTIFICATION ECU (SMART KEY ECU ASSEMBLY) - INSTRUMENT PANEL JUNCTION BLOCK ASSEMBLY) 
    1. Disconnect the G84 connector from the certification ECU (smart key ECU assembly).
    2. Disconnect the 3C and 3D connectors from the instrument panel junction block assembly.
    3. Measure the resistance according to the value(s) in the table below.

      Standard Resistance

      Tester Connection Condition Specified Condition
      G84-6 (IG1D) - 3C-43 Always Below 1 Ω
      3D-9 - Body ground
      G84-6 (IG1D) or 3C-43 - Body ground 10 kΩ or higher
      Result Proceed to
      OK
      NG

    Result: 

    NG 

    REPAIR OR REPLACE HARNESS OR CONNECTOR 

    Result: 

    OK 

    See step  4

  4. INSPECT INSTRUMENT PANEL JUNCTION BLOCK ASSEMBLY 
    1. Remove the instrument panel junction block assembly.
    2. Measure the resistance according to the value(s) in the table below.
      GTY360961Courtesy of © TOYOTA, LICENSE AGREEMENT TMS1002
      *a Component without harness connected
      (Instrument Panel Junction Block Assembly)
      - -

      Standard Resistance

      Tester Connection Condition Specified Condition
      3A-1 - 3C-27 Battery voltage not applied to terminals 3D-9 and 3C-43 10 kΩ or higher
      Battery voltage applied to terminals 3D-9 and 3C-43 Below 1 Ω
      3A-1 - 3C-1 Battery voltage not applied to terminals 3D-9 and 3C-43 10 kΩ or higher
      Battery voltage applied to terminals 3D-9 and 3C-43 Below 1 Ω
      3A-1 - 3C-3 Battery voltage not applied to terminals 3D-9 and 3C-43 10 kΩ or higher
      Battery voltage applied to terminals 3D-9 and 3C-43 Below 1 Ω
      Result Proceed to
      OK
      NG

    Result: 

    NG 

    REPLACE INSTRUMENT PANEL JUNCTION BLOCK ASSEMBLY (MAIN BODY ECU (MULTIPLEX NETWORK BODY ECU)) 

    Result: 

    OK 

    See step  5

  5. CHECK CERTIFICATION ECU (SMART KEY ECU ASSEMBLY) 
    1. Measure the voltage according to the value(s) in the table below.
      GTY383349Courtesy of © TOYOTA, LICENSE AGREEMENT TMS1002
      *a Component with harness connected
      (Certification ECU (Smart Key ECU Assembly))
      - -

      Standard Voltage

      Tester Connection Switch Condition Specified Condition
      G82-9 (IG2D) - Body ground Engine switch on (ACC) → Engine switch on (IG) 1 V or less → 9 V or higher
      G84-6 (IG1D) - Body ground Engine switch on (ACC) → Engine switch on (IG) 1 V or less → 9 V or higher
      Result Proceed to
      OK
      NG

    Result: 

    OK 

    CHECK RELAY CONTACT SIDE CIRCUIT: 

    Refer to HOW TO PROCEED WITH TROUBLESHOOTING [12/2012 - 11/2013] .

    Refer to HOW TO PROCEED WITH TROUBLESHOOTING [11/2013 - 10/2015] .

    Refer to HOW TO PROCEED WITH TROUBLESHOOTING [10/2015 - 08/2016] .

    Refer to HOW TO PROCEED WITH TROUBLESHOOTING [08/2016 - 08/2017] .

    Refer to HOW TO PROCEED WITH TROUBLESHOOTING [08/2017 - ] .

    Result: 

    NG 

    REPLACE CERTIFICATION ECU (SMART KEY ECU ASSEMBLY): 

    Refer to REMOVAL [12/2012 - 10/2015] .

    Refer to REMOVAL [10/2015 - ] .